公布日:2024.02.23
申請日:2024.01.18
分類號:C02F1/52(2023.01)I;C02F1/00(2023.01)I;C02F1/34(2023.01)I;C02F11/00(2006.01)I;B01D21/00(2006.01)I
摘要
本發明公開了一種污水處理用污垢清除設備,屬于污水污垢處理技術領域,包括污水沉淀箱,所述污水沉淀箱的側面固定安裝有污水初濾箱,所述污水初濾箱的底部四角處均固定安裝有支撐腿,所述污水初濾箱的內部設置有污垢分離機構,所述污水沉淀箱的內部設置有絮凝分離機構,所述污垢分離機構包括分離單元和成型單元。通過電動伸縮桿推動L型分離板的一側下移,使L型分離板上的污垢在重力的作用下滑落到下料通道的內部,并且電動伸縮桿對L型分離板進行周期性的推動,同時第一彈性件能使轉動的L型分離板進行復位,使L型分離板進行振動,進一步便于污垢的滑落,通過第一液壓伸縮桿推動壓板向下移動,便于掉落的污垢進行成型。

權利要求書
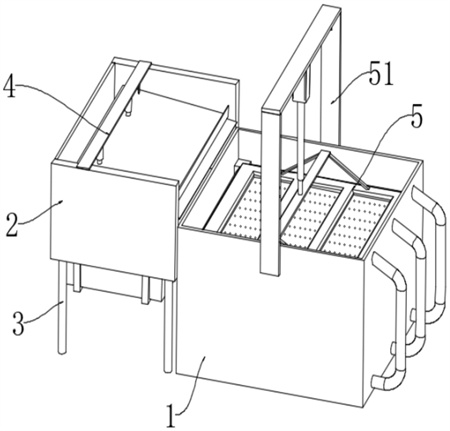
1.一種污水處理用污垢清除設備,包括污水沉淀箱(1),所述污水沉淀箱(1)的側面固定安裝有污水初濾箱(2),所述污水初濾箱(2)的底部四角處均固定安裝有支撐腿(3),其特征在于:所述污水初濾箱(2)的內部設置有污垢分離機構(4),所述污水沉淀箱(1)的內部設置有絮凝分離機構(5);所述污垢分離機構(4)包括分離單元和成型單元,所述絮凝分離機構(5)包括壓濾單元和混合單元;所述分離單元包括固定安裝在污水初濾箱(2)頂部的第一橫板(41),所述第一橫板(41)的底部固定連接有第一彈性件(411),所述第一彈性件(411)的底部固定連接有L型分離板(412),所述L型分離板(412)的外壁與污水初濾箱(2)的內壁轉動連接;所述L型分離板(412)的底部邊緣處固定連接有連接條(42),所述連接條(42)的底部固定連接有引導板(421),所述引導板(421)的一端延伸至污水沉淀箱(1)上方,所述第一橫板(41)的底部固定連接有電動伸縮桿(43),所述電動伸縮桿(43)的伸縮端與L型分離板(412)的頂部搭接,所述污水初濾箱(2)的內壁固定安裝有下料通道(44);所述成型單元包括固定連接在污水初濾箱(2)內壁上的第二橫板(45),所述第二橫板(45)的底部固定連接有第一液壓伸縮桿(451),所述第一液壓伸縮桿(451)的伸縮端固定連接有壓板(452);所述成型單元還包括固定安裝在污水初濾箱(2)底部的支撐架(453),所述支撐架(453)的內壁滑動連接有收集倉(454),所述收集倉(454)的內壁滑動連接有濾板(455),所述濾板(455)的底部均勻固定連接有多個支撐條(456),每個所述支撐條(456)的底部均與收集倉(454)的內壁底面搭接,所述收集倉(454)的底部均勻開始有若干個通孔(457);所述壓濾單元包括固定安裝在污水沉淀箱(1)頂部的支架(51),所述支架(51)的內壁固定連接有第二液壓伸縮桿(511),所述第二液壓伸縮桿(511)的伸縮端固定連接有連接架(512),所述連接架(512)的底部固定連接有活動板(52),所述活動板(52)的頂部開設有矩形槽,所述矩形槽的內壁固定安裝有過濾網(53),所述污水沉淀箱(1)的外壁嵌固安裝有連通管(54);所述活動板(52)的外壁四角處均固定安裝有直角塊(521),每兩個所述直角塊(521)之間均轉動連接有刮片(522),每個所述刮片(522)的頂端均與活動板(52)的側面鉸接,每個所述刮片(522)的側面均固定連接有V型彈片(523),每個所述V型彈片(523)的側面均與活動板(52)的外壁固定連接;所述活動板(52)的底部且位于矩形槽的兩側固定連接有U型引導框(531),每個所述U型引導框(531)的內壁均滑動連接有滑板(532),兩個所述滑板(532)之間鉸接有密封板(533),所述密封板(533)位于矩形槽的正下方;所述混合單元包括嵌固安裝在連通管(54)內壁上的第二彈性件(55),所述第二彈性件(55)的另一端固定連接有第一磁塊(551),所述第一磁塊(551)通過設置的第二彈性件(55)與連通管(54)彈性連接,所述第一磁塊(551)的外壁鉸接有擺動板(552);所述連通管(54)的內壁固定連接有L型塊(553),所述L型塊(553)的內壁固定安裝有彈性塊(554),所述L型塊(553)的內壁滑動連接有第二磁塊(555),所述第二磁塊(555)的外壁與彈性塊(554)的外壁彈性連接。
發明內容
針對現有技術存在的不足,本發明目的是提供一種污水處理用污垢清除設備,具備能夠對污水中的污垢進行分離處理,同時能夠對添加了絮凝劑的污水進行分離的優點。
為實現上述目的,本發明提供如下技術方案:一種污水處理用污垢清除設備,包括污水沉淀箱,所述污水沉淀箱的側面固定安裝有污水初濾箱,所述污水初濾箱的底部四角處均固定安裝有支撐腿,所述污水初濾箱的內部設置有污垢分離機構,所述污水沉淀箱的內部設置有絮凝分離機構。
所述污垢分離機構包括分離單元和成型單元,所述絮凝分離機構包括壓濾單元和混合單元。
所述分離單元包括固定安裝在污水初濾箱頂部的第一橫板,所述第一橫板的底部固定連接有第一彈性件,所述第一彈性件的底部固定連接有L型分離板,所述L型分離板的外壁與污水初濾箱的內壁轉動連接。
優選的,所述L型分離板的底部邊緣處固定連接有連接條,所述連接條的底部固定連接有引導板,所述引導板的一端延伸至污水沉淀箱上方,所述第一橫板的底部固定連接有電動伸縮桿,所述電動伸縮桿的伸縮端與L型分離板的頂部搭接,所述污水初濾箱的內壁固定安裝有下料通道。
通過上述技術方案,電動伸縮桿的伸縮端能夠推動L型分離板的一側進行下移,使L型分離板上的污垢能在重力的作用下滑落到下料通道的內部,并且電動伸縮桿能夠對L型分離板進行周期性的推動,以及第一彈性件能夠使轉動的L型分離板進行復位,進一步便于污垢的滑落。
優選的,所述成型單元包括固定連接在污水初濾箱內壁上的第二橫板,所述第二橫板的底部固定連接有第一液壓伸縮桿,所述第一液壓伸縮桿的伸縮端固定連接有壓板。
通過上述技術方案,第一液壓伸縮桿能夠推動壓板向下移動。
優選的,所述成型單元還包括固定安裝在污水初濾箱底部的支撐架,所述支撐架的內壁滑動連接有收集倉,所述收集倉的內壁滑動連接有濾板,所述濾板的底部均勻固定連接有多個支撐條,每個所述支撐條的底部均與收集倉的內壁底面搭接,所述收集倉的底部均勻開始有若干個通孔。
通過上述技術方案,支撐架能夠對收集倉提供支撐,并且支撐條能夠對濾板提供支撐,便于濾板以及成型的污垢與收集倉之間進行分離。
優選的,所述壓濾單元包括固定安裝在污水沉淀箱頂部的支架,所述支架的內壁固定連接有第二液壓伸縮桿,所述第二液壓伸縮桿的伸縮端固定連接有連接架,所述連接架的底部固定連接有活動板,所述活動板的頂部開設有矩形槽,所述矩形槽的內壁固定安裝有過濾網,所述污水沉淀箱的外壁嵌固安裝有連通管。
通過上述技術方案,第二液壓伸縮桿能夠通過連接架對活動板向下進行推動,同時過濾網能夠對水進行過濾。
優選的,所述活動板的外壁四角處均固定安裝有直角塊,每兩個所述直角塊之間均轉動連接有刮片,每個所述刮片的頂端均與活動板的側面鉸接,每個所述刮片的側面均固定連接有V型彈片,每個所述V型彈片的側面均與活動板的外壁固定連接。
通過上述技術方案,刮片在跟隨活動板下移時,在與污水接觸時,能夠使V型彈片和刮片進行張開,進而使刮片在下移的過程中對污水沉淀箱內壁上的附著物進行清理。
優選的,所述活動板的底部且位于矩形槽的兩側固定連接有U型引導框,每個所述U型引導框的內壁均滑動連接有滑板,兩個所述滑板之間鉸接有密封板,所述密封板位于矩形槽的正下方。
通過上述技術方案,密封板在與活動板同步下移時,受到污水表面的張力作用,能夠推動密封板向上移動與矩形槽之間進行密封,并且密封板上的滑板能夠沿著U型引導框進行滑動,進一步提高了密封板移動時的穩定性。
優選的,所述混合單元包括嵌固安裝在連通管內壁上的第二彈性件,所述第二彈性件的另一端固定連接有第一磁塊,所述第一磁塊通過設置的第二彈性件與連通管彈性連接,所述第一磁塊的外壁鉸接有擺動板。
通過上述技術方案,第一磁塊通過第二彈性件在受到水流的沖擊時,能夠使第一磁塊進行晃動,進而對污水進行攪動,同時擺動板能夠跟隨第一磁塊進行晃動,能進一步的對污水進行攪動。
優選的,所述連通管的內壁固定連接有L型塊,所述L型塊的內壁固定安裝有彈性塊,所述L型塊的內壁滑動連接有第二磁塊,所述第二磁塊的外壁與彈性塊的外壁彈性連接。
通過上述技術方案,第二磁塊與第一磁塊之間同極相對,使第二磁塊能夠沿著L型塊進行滑動,同時也能對彈性塊進行壓縮,進而增大第二磁塊的移動幅度,便于對連通管內的污水與絮凝劑之間進行混合。
與現有技術相比,本發明的有益效果是:
1、通過電動伸縮桿推動L型分離板的一側下移,使L型分離板上的污垢在重力的作用下滑落到下料通道的內部,并且電動伸縮桿對L型分離板進行周期性的推動,同時第一彈性件能使轉動的L型分離板進行復位,使L型分離板進行振動,進一步便于污垢的滑落,通過第一液壓伸縮桿推動壓板向下移動,便于掉落的污垢進行成型,從而進行后續的處理,通過支撐條對濾板提供支撐,便于濾板以及成型的污垢與收集倉之間進行分離。
2、通過第二液壓伸縮桿上的連接架對活動板進行推動時,使密封板在與活動板同步下移,通過污水表面的張力作用,使密封板與矩形槽之間密封,便于將污水通過連通管輸送到活動板的表面,使過濾網能夠對水進行過濾,在刮片跟隨活動板下移過程中,通過污水的推力作用,使V型彈片和刮片進行張開,便于刮片在下移的過程中對污水沉淀箱內壁上的附著物進行清理。
3、通過第一磁塊和第二彈性件在受到水流沖擊的過程中,使第一磁塊在晃動的過程中對污水進行攪動,并且擺動板能夠跟隨第一磁塊進行晃動,進一步的對污水進行攪動,通過第二磁塊與第一磁塊之間同極相斥,使第二磁塊沿著L型塊對彈性塊進行壓縮,進而使第二磁塊與第一磁塊之間晃動的幅度增大,便于對流經連通管內的污水與絮凝劑之間進行混合。
(發明人:劉鑫;劉燦明;侯清;陳燦龍;徐湧)






