申請日2016.05.26
公開(公告)日2016.08.31
IPC分類號C02F3/12; C02F3/10; B01D63/08
摘要
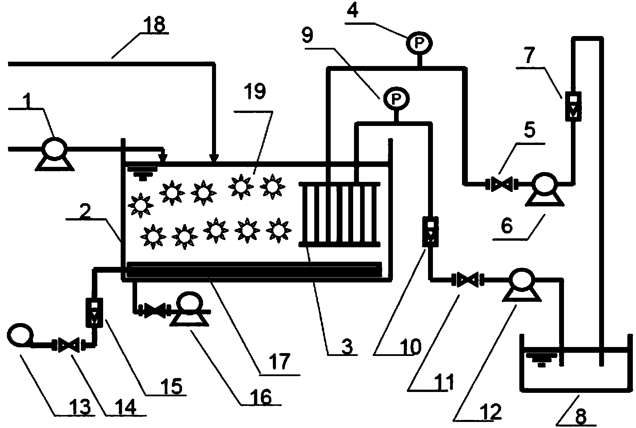
本發明公開了一種基于平板陶瓷膜的MBR和MBBR復合污水處理系統,包括原水設施、原水泵、生物反應器、抽吸泵以及清水池,生物反應器包括反應器本體、曝氣裝置以及污泥排放系統,同一反應器中有機結合的設置有平板陶瓷膜和MBBR懸浮填料,同一反應器中的平板陶瓷膜和MBBR懸浮填料共用一個曝氣裝置且共用一個污泥排放系統,原水泵的輸入端與原水設施連通,原水泵的輸出端與反應器本體的內部空間連通,抽吸泵的輸入端與平板陶瓷膜的出口連通,抽吸泵的輸出端與清水池連通。本發明結合了MBR和MBBR的優點,特別是對于高COD,難處理的工業廢水,能夠達到更好的污水處理效果,而且能減少污水廠所占的面積。
摘要附圖
權利要求書
1.一種基于平板陶瓷膜的MBR和MBBR復合污水處理系統,包括原水設施、原水泵、生物反應器、抽吸泵以及清水池,所述生物反應器包括反應器本體、曝氣裝置以及污泥排放系統,其特征在于,同一所述反應器本體中有機結合的設置有平板陶瓷膜和MBBR懸浮填料,同一所述反應器本體中的所述平板陶瓷膜和所述MBBR懸浮填料共用一個所述曝氣裝置且共用一個所述污泥排放系統,所述原水泵的輸入端與所述原水設施連通,所述原水泵的輸出端與所述反應器本體的內部空間連通,所述抽吸泵的輸入端與所述平板陶瓷膜的出口連通,所述抽吸泵的輸出端與所述清水池連通。
2.根據權利要求1所述的基于平板陶瓷膜的MBR和MBBR復合污水處理系統,其特征在于,所述平板陶瓷膜的濾孔孔徑為0.05-0.5微米。
3.根據權利要求1所述的基于平板陶瓷膜的MBR和MBBR復合污水處理系統,其特征在于,若干所述平板陶瓷膜平形設置并集成為一過濾組件,若干所述平板陶瓷膜的出口均連通至一腔室,所述腔室與所述抽吸泵的輸入端連通。
4.根據權利要求1所述的基于平板陶瓷膜的MBR和MBBR復合污水處理系統,其特征在于,所述反應器本體中還設置有液位計。
5.根據權利要求1所述的基于平板陶瓷膜的MBR和MBBR復合污水處理系統,其特征在于,所述曝氣裝置包括設置在所述反應器本體的內部的曝氣器和設置在所述反應器本體的外部的供氣風機,所述曝氣器與所述供氣風機之間的輸氣管路上還分別設置有空氣閥和空氣流量計。
6.根據權利要求1所述的基于平板陶瓷膜的MBR和MBBR復合污水處理系統,其特征在于,所述抽吸泵與所述平板陶瓷膜之間的輸水管路或所述抽吸泵與所述清水池之間的輸水管路上還分別設置有抽吸壓力表和抽吸流量計。
7.根據權利要求1所述的基于平板陶瓷膜的MBR和MBBR復合污水處理系統,其特征在于,所述污泥排放系統包括污泥泵,所述污泥泵的輸入端與所述反應器本體的內部空間連通。
8.根據權利要求1所述的基于平板陶瓷膜的MBR和MBBR復合污水處理系統,其特征在于,所述基于平板陶瓷膜的MBR和MBBR復合污水處理系統還包括清洗泵,所述清洗泵的輸入端與所述清水池連通,所述清洗泵的輸出端與所述平板陶瓷膜的出口連通,所述抽吸泵的輸入端與所述平板陶瓷膜之間還設置有抽吸閥,所述清洗泵的輸出端與所述平板陶瓷膜之間還設置有清洗閥。
9.根據權利要求8所述的基于平板陶瓷膜的MBR和MBBR復合污水處理系統,其特征在于,所述清洗泵與所述平板陶瓷膜之間的輸水管路或所述清洗泵與所述清水池之間的輸水管路上還分別設置有清洗壓力表和清洗流量計。
10.根據權利要求1所述的基于平板陶瓷膜的MBR和MBBR復合污水處理系統,其特征在于,所述基于平板陶瓷膜的MBR和MBBR復合污水處理系統還包括PLC控制裝置,所述PLC控制裝置包括控制電路和若干驅動電路,所述控制電路的輸入端電連接若干檢測機構,所述控制電路的輸出端電連接所述若干驅動電路,所述若干驅動電路的輸出端電連接若干執行機構。
說明書
基于平板陶瓷膜的MBR和MBBR復合污水處理系統
技術領域
本發明涉及水處理領域,具體涉及一種基于平板陶瓷膜的MBR和MBBR工藝有機結合的復合污水處理系統。
背景技術
膜生物反應器(MBR)和移動床生物膜反應器(MBBR)是兩種常見的污水處理技術。
膜生物反應器(MBR)水處理技術是一種高效膜分離技術與活性污泥法相結合的新型水處理技術。由于膜的過濾作用,微生物和污泥完全被截留在生物反應器中,實現了水力停留時間和污泥齡的徹底分離,使得生物單元具有很高的污泥濃度,不但提高了其對有機物的去除率,而且使其對氨氮的去除率也明顯增高。MBR還具有占地面積少,出水水質好,運行穩定,操作簡單,易于自動控制等優點,污泥停留時間與水力停留時間分離,克服了活性污泥自身無法克服的缺點。應用MBR技術后,主要污染物的去除率可達:COD≥90%、SS=100%。處理后的出水懸浮物和濁度幾近于零,水質可達到建設部《生活雜用水水質標準》,可直接用于綠化、沖洗、消防、樓房中水回用、補充觀賞水體等非飲用水的目的,實現了污水資源化。因此在城市污水和工業廢水處理與回用等方面已得到了應用。從近期國內外MBR研究情況來看,濾膜大都為較小孔徑的微濾膜,或能截留較大分子的超濾膜,孔徑范圍為0.02~0.5μm;材質主要是疏水性的聚烯烴和親水性的聚砜、纖維素等,無紡布等。疏水性的聚烯烴一般做成中空纖維式膜組件,而親水性的聚砜、纖維素膜一般做成平板式膜組件。由于大部分MBR采用的膜材料為高分子合成物,膜很容易被污染,降低了膜的通量,增加了膜的維護成本,減少了膜的壽命,增加了投資和運營成本。
移動床生物膜反應器(MBBR)技術是通過在活性污泥處理系統內投加生物膜載體—懸浮生物填料,該懸浮填料在曝氣混合攪拌作用下,保證廢水與生長于載體上的生物膜廣泛而頻繁地接觸,提高系統傳質效率的同時,強化生物膜微生物的更新,保持和提高生物膜的活性。懸浮填料與原有活性污泥形成更為復雜的復合式生態系統,大量附著生長在懸浮填料上的生物膜使生物池中的活性生物量大大增加,在懸浮活性污泥與懸浮填料表面的生物膜共同作用下,大大提高系統的抗沖擊負荷能力,達到提高污水處理的效能和穩定出水水質的目的。由于填料密度接近于水,所以在曝氣的時候,與水呈完全混合狀態,微生物生長的環境為氣、液、固三相。載體在水中的碰撞和剪切作用,使空氣氣泡更加細小,增加了氧氣的利用率。另外,每個載體內外均具有不同的生物種類,內部生長一些厭氧菌或兼氧菌,外部為好養菌,這樣每個載體都為一個微型反應器,使硝化反應和反硝化反應同時存在,從而提高了處理效果。但是上述移動床生物膜反應器占地面積大,且日常維護要求高,難度大。
如何提供一種污水處理效果好,占地面積小,日常維護簡易,操作方便的污水處理方法是亟需解決的問題。
發明內容
為解決上述技術問題,本發明的發明目的在于提供一種基于平板陶瓷膜的MBR和MBBR復合污水處理系統,特別是對于高COD,,難處理的工業廢水,能夠達到更好的污水處理效果,而且能減少污水廠所占的面積。
為實現上述發明目的,本發明提供以下的技術方案:一種基于平板陶瓷膜的MBR和MBBR復合污水處理系統,包括原水設施、原水泵、生物反應器、抽吸泵以及清水池,所述生物反應器包括反應器本體、曝氣裝置以及污泥排放系統,同一所述反應器本體中有機結合的設置有平板陶瓷膜和MBBR懸浮填料,同一所述反應器本體中的所述平板陶瓷膜和所述MBBR懸浮填料共用一個所述曝氣裝置且共用一個所述污泥排放系統,所述原水泵的輸入端與所述原水設施連通,所述原水泵的輸出端與所述反應器本體的內部空間連通,所述抽吸泵的輸入端與所述平板陶瓷膜的出口連通,所述抽吸泵的輸出端與所述清水池連通。
優選的,所述平板陶瓷膜的濾孔孔徑為0.05-0.5微米。
優選的,若干所述平板陶瓷膜平形設置并集成為一過濾組件,若干所述平板陶瓷膜的出口均連通至一腔室,所述腔室與所述抽吸泵的輸入端連通。
優選的,所述反應器本體中還設置有液位計。
優選的,所述曝氣裝置包括設置在所述反應器本體的內部的曝氣器和設置在所述反應器本體的外部的供氣風機,所述曝氣器與所述供氣風機之間的輸氣管路上還分別設置有空氣閥和空氣流量計。
優選的,所述抽吸泵與所述平板陶瓷膜之間的輸水管路或所述抽吸泵與所述清水池之間的輸水管路上還分別設置有抽吸壓力表和抽吸流量計。
優選的,所述污泥排放系統包括污泥泵,所述污泥泵的輸入端與所述反應器本體的內部空間連通。
優選的,所述基于平板陶瓷膜的MBR和MBBR復合污水處理系統還包括清洗泵,所述清洗泵的輸入端與所述清水池連通,所述清洗泵的輸出端與所述平板陶瓷膜的出口連通,所述抽吸泵的輸入端與所述平板陶瓷膜之間還設置有抽吸閥,所述清洗泵的輸出端與所述平板陶瓷膜之間還設置有清洗閥。
優選的,所述清洗泵與所述平板陶瓷膜之間的輸水管路或所述清洗泵與所述清水池之間的輸水管路上還分別設置有清洗壓力表和清洗流量計。
優選的,所述基于平板陶瓷膜的MBR和MBBR復合污水處理系統還包括PLC控制裝置,所述PLC控制裝置包括控制電路和若干驅動電路,所述控制電路的輸入端電連接若干檢測機構,所述控制電路的輸出端電連接所述若干驅動電路,所述若干驅動電路的輸出端電連接若干執行機構。
由于上述技術方案運用,本發明與現有技術相比具有下列優點:
(1)本發明的過濾組件采用平板陶瓷膜,代替傳統膜生物反應器(MBR)中的有機膜,無紡布及其它材料的膜,具有耐酸、耐堿、耐高溫等特點,大大的改善了目前MBR系統所采用的傳統的有機膜所出現的斷絲,堵塞,短期更換等不足,平板陶瓷膜的優良物理性能使過濾器件更易于清洗,反沖壓力可以更高,甚至在運行中,就可用機械的方法(如毛刷)清理污垢,保持高的水通量;也可用藥劑,如稀的堿液或氧化劑進行反沖清洗;徹底解決了傳統有機膜生物反應器(MBR)中膜污染和低膜通量帶來的困擾;另外,無須如傳統膜生物反應器那樣需把膜組件從反應器中取出,進行清洗,大大降低了膜生物反應器的維護強度,由于添加了MBBR填料,大部分污泥附著在MBBR填料上,游離在污水中的污泥量大大減少,減輕了對陶瓷膜的污染,每個MBBR載體內外均具有不同的生物種類,內部生長一些厭氧菌或兼氧菌,外部為好養菌,這樣每個載體都為一個微型反應器,使硝化反應和反硝化反應同時存在,從而提高了氨氮的處理效果,由于處理效果的提高和停留時間的縮短,污水廠的占地面積可大大縮小出水的品質也得到進一步提高,同時,污泥的停留時間的增加,污泥被進一步消化,減少了污泥的產出量,降低了污泥的處理成本;
(2)本發明的平板陶瓷膜的孔徑設置為0.05-0.5微米,廢水經過平板陶瓷膜時,絕大部分的固體可被截留;
(3)本發明的平板陶瓷膜組件產品設計采用模塊集成模式,可更有效的利用空間,可自由調整組件組合方式適用于新建和改造項目,及地下作業等空間要求較高的項目工程;
(4)本發明由于利用平板陶瓷膜直接過濾,而不是依靠動態生物污泥來過濾,出水的水質穩定,在實際應用中,明顯優于動態膜生物反應器,且由于反應器中的MLSS濃度增加,處理后的出水品質要高得多,運行也要穩定。
(5)如出水需要回用,可按回用要求,增加反滲透設備;因為出水已經經過超濾,水中的不可溶解物已被絕大部分去除,反滲透設備的運行和維護費用將大大降低。


