申請日2015.06.10
公開(公告)日2015.09.23
IPC分類號C02F9/06
摘要
本發明涉及一種塔式污水處理裝置及其使用方法,主要包括污水處理塔、油水分離塔,所述的污水處理塔安裝于第一儲液槽內,污水處理塔內安裝有若干層過濾網,每塊過濾網中間安裝有處理液噴口;污水處理塔頂部與油水分離塔頂部下方處用管道連接;所述的油水分離塔最上方處設有管道,并依次連接有第二閥門、真空泵;油水分離塔通過管道出口處安裝有半球形隔膜,半球形隔膜內設有排油口,并通過排油管與第三閥門連接;油水分離塔安裝于第二儲液槽內,第二儲液槽內安裝有引流管,并依次連接水泵、第一閥門與污水處理塔和油水分離塔中間的管道連接。本發明有益的效果:本發明主要簡化污水處理過程,提高污水處理效率,減少占地面積,減省能源,降低能耗。
摘要附圖
權利要求書
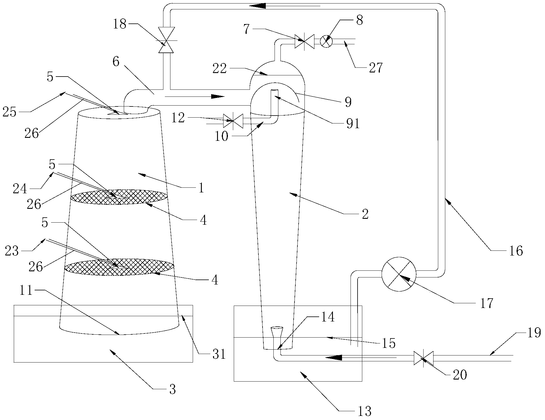
1.一種塔式污水處理裝置,主要包括污水處理塔(1)和油水分離塔(2),其特征在于: 所述的污水處理塔(1)安裝于第一儲液槽(3)內,其污水進口(11)處于第一儲液槽(3) 的第一液面(31)中間;污水處理塔(1)內安裝有若干層呈等均分布的過濾網(4),每塊過 濾網(4)中間安裝有處理液噴口(5);污水處理塔(1)頂部的中間位置也安裝有處理液噴 口(5);污水處理塔(1)頂部與油水分離塔(2)頂部下方處用管道(6)連接;所述的油水 分離塔(2)最上方處設有管道(6),并依次連接有第二閥門(7)、真空泵(8);油水分離塔 (2)通過管道(6)出口處安裝有半球形隔膜(9),半球形隔膜(9)內設有排油口(91), 并通過排油管(10)與第三閥門(12)連接;油水分離塔(2)安裝于第二儲液槽(13)內, 其出水口(14)處于第二儲液槽(13)的第二液面(15)中間;第二儲液槽(13)內安裝有 引流管(16),并依次連接水泵(17)、第一閥門(18)與污水處理塔(1)和油水分離塔(2) 中間的管道(6)連接;所述的第二儲液槽(13)上設置有氧氣管(19),該氧氣管(19)通 入于油水分離塔(2)的出水口(14)處,且氧氣管(19)上設置有第四閥門(20)。
2.根據權利要求1所述的塔式污水處理裝置,其特征在于:所述的污水處理塔(1)為 錐形結構,即底大頂小。
3.根據權利要求1所述的塔式污水處理裝置,其特征在于:所述的油水分離塔(2)為 錐形結構,即底小頂大,頂部設為半球形結構并設置有液面觀察區。
4.根據權利要求1所述的塔式污水處理裝置,其特征在于:所述的處理液噴口(5)位 于過濾網(4)下方并設置有錐形噴口罩(21),處理液通過該錐形噴口罩(21)向周圍噴散。
5.根據權利要求1所述的塔式污水處理裝置,其特征在于:所述的過濾網(4)其內部 材料為分子篩或活性炭或礦石的其中一種或幾種。
6.一種采用如權利要求1所述的塔式污水處理裝置的使用方法,其特征在于:包括如下 步驟:
1)、裝置啟動:第一儲液槽(3)蓄有足夠的污水,第二儲液槽(13)蓄有足夠清水,啟 動真空泵(8)、水泵(17),開啟第一閥門(18)、第二閥門(7),關閉第三閥門(12)、第四 閥門(20),污水處理塔(1)和油水分離塔(2)內的空氣被陸續抽走,而二者內的水位不斷 升高,一直到達第三液面(22)的位置,此時關閉第一閥門(18)、水泵(17),該第三液面 (22)的高度為設計(當地大氣壓強-真空度)/標準大氣壓×10.334米,即為臨界水位;
2)、裝置運行:當第一液面(31)的高度高于第二液面(15)的高度時,第一儲液槽(3) 內的污水由于液位差通過污水處理塔(1)自動流向油水分離塔(2)直至流入第二儲液槽(13) 內,形成虹吸效應;此時,第一處理液(23)、第二處理液(24)、第三處理液(25)經過連 接管(26),依次分別由各自所對應的處理液噴口(5)噴出;利用比重原理,比水重且不溶 于水的物質會沉淀下來直到第一儲液槽(3)底部,與第一處理液(23)所形成的絡合物被第 一過濾網(41)攔截、與第二處理液(24)發生化學反應的物質,產生的沉淀物也會通過第 一過濾網(41)被沉淀下來;而第二過濾網(42)將進一步攔截小分子顆粒;第三處理液(25) 主要添加氧化還原劑,使得最終污水被處理干凈,再經第三過濾網(43)時內所添加的吸附 材料會吸收污水里所含的有毒有害物質;最后再通過管道(6)進入油水分離塔(2)時,運 轉的真空泵(8)使得第三液面(22)上方處于臨近真空區,一些易揮發氣體被蒸發出來,經 過真空泵(8)向外界排出或被收集;同時經過減壓后的油水混合液也容易分離,依據油的比 重比水的比重輕,油會向上浮直到半球形隔膜(9)頂部集聚,并通過排油管(10)向外排出, 開啟第四閥門(20)通過氧氣管(19)向油水分離塔(2)內充入適量氧氣,使得經處理后的 水質溶解氧增加;污水處理速度由第一液面(31)和第二液面(15)的液位差決定,液位差 越大污水流速越快;污水流速應小于沉淀物在污水處理塔(1)內向下沉淀的速度。
3)、裝置關閉:關閉真空泵(8)、關閉第四閥門(20)、開啟第一閥門(18),使外界空 氣從氣體排放口(27)進入,污水處理塔(1)和油水分離塔(2)的液面不斷下降,直到與 第一儲液槽(3)和第二儲液槽(13)的液面平為止,或者關閉第一閥門(18)、第二閥門(7), 第三閥門(12),第四閥門(20),關閉真空泵(8),使第一液面(31)、第二液面(15)的水 位保持同一平面,整個裝置處于密封狀態,如下次開啟時,只需將第一液面(31)的水位高 于第二液面(15)的水位,并開啟真空泵(8)、第二閥門(7),即可使裝置運轉。
7.根據權利要求6所述的塔式污水處理裝置的使用方法,其特征在于:所述的第一處理 液(23)為聚丙烯酸鈉或聚丙烯酰胺陰離子或聚丙烯酰胺陽離子或聚丙烯酰胺非離子或一種 以上混合物。
8.根據權利要求6所述的塔式污水處理裝置的使用方法,其特征在于:所述的第二處理 液(24)為氧化鈣或明礬或聚合磷酸鋁或酒石酸鈉的一種或二種以上。
9.根據權利要求6所述的塔式污水處理裝置的使用方法,其特征在于:所述的第三處理 液(25)為高錳酸鉀或次氯酸鈉或氯氣的其中一種或二種以上。
10.根據權利要求6所述的塔式污水處理裝置的使用方法,其特征在于:所述的過濾網 (4),第一過濾網(41)的網眼孔徑大于第二過濾網(42)的網眼孔徑大于第三過濾網(43) 的網眼孔徑。
說明書
一種塔式污水處理裝置及其使用方法
技術領域
本發明屬于污水處理裝置技術領域,尤其涉及一種塔式污水處理裝置及其使用方法。
背景技術
隨著全球工業化進程的迅速發展,環境污染問題日益嚴重,日常所需的工業、農業、生 活用水也日益增長,特別是工農業生產所排放出來的大量污水需要及時處理。由于我們生活 著的環境城市集中度高,而往往城市人口越密集,相應的工業生產生活就越發達,與之配套 的土地資源就越欠缺,而城市所負擔的污水處理就會越加繁重。如果這些排放的污水不及時 處理,那對環境的破壞是相當嚴重的。我們急需一種污水處理方式簡單,占地面積狹小,污 水處理高效等功能于一體的大型污水處理設備來改善我們所居住的環境。對于現有污水處理 方法和設備來講,主要是以平面結構為主,通過沉淀,過濾等手段,污水從一個水池內被抽 到另外一個水池,或者污水被連續不斷經過一道道濾網最后使得污水被凈化。這些都存在著 很多弊端,如我們現在的自來水廠,需要很大的占地面,讓原水在凈化池內流淌,期間還需 添加許多化學成分,而水中所揮發出來的一些有毒有害氣體被直接排放到大氣當中;而有些 工廠的污水處理設施又過于簡單,只是隨意的沉淀或者過濾后就直接排入到河道或者土壤內; 而本發明的關鍵在于主要利用兩者液面差所產生的虹吸效應,使得處于高位的污水經過污水 處理塔流向處于低位的油水分離塔,期間污水得到有效的處理,使得整個污水處理過程得以 簡化,提高污水處理效率,減少占地面積,降低能耗。從占地面積上講與現有的自來水廠設 施上將減少50%以上,另外本裝置采用連續封閉式結構,被真空泵抽出的有毒有害氣體可以 被收集起來再經處理,與常用平面式污水處理裝置相比揮發物殘留量將降低70%;而最重要 的在于,利用各種與水難溶物質與水比重的不同,將比重大的物質在污水處理塔內沉淀下來, 而比水輕的有機物會在油水分離塔內上浮,而且塔體本身的高度使得污水內所含有的沉淀物 和與水不溶性有機物變得更加容易分離,因此利用本發明裝飾處理后的污水更加清潔,處理 效率更高。這也是現有裝置所無法實現的。
發明內容
本發明的目的在于克服現有技術存在的不足,而提供一種主要簡化污水處理過程,提高 污水處理效率,減少占地面積,減省能源,降低能耗的塔式污水處理裝置及其使用方法。
本發明的目的是通過如下技術方案來完成的。這種塔式污水處理裝置,主要包括污水處 理塔和油水分離塔,所述的污水處理塔安裝于第一儲液槽內,其污水進口處于第一儲液槽的 第一液面中間;污水處理塔內安裝有若干層呈等均分布的過濾網,每塊過濾網中間安裝有處 理液噴口;污水處理塔頂部的中間位置也安裝有處理液噴口;污水處理塔頂部與油水分離塔 頂部下方處用管道連接;所述的油水分離塔最上方處設有管道,并依次連接有第二閥門、真 空泵;油水分離塔通過管道出口處安裝有半球形隔膜,半球形隔膜內設有排油口,并通過排 油管與第三閥門連接;油水分離塔安裝于第二儲液槽內,其出水口處于第二儲液槽的第二液 面中間;第二儲液槽內安裝有引流管,并依次連接水泵、第一閥門與污水處理塔和油水分離 塔中間的管道連接;所述的第二儲液槽上設置有氧氣管,該氧氣管通入于油水分離塔的出水 口處,且氧氣管上設置有第四閥門。
作為優選,所述的污水處理塔為錐形結構,即底大頂小。
作為優選,所述的油水分離塔為錐形結構,即底小頂大,頂部設為半球形結構并設置有 液面觀察區。
作為優選,所述的處理液噴口位于過濾網下方并設置有錐形噴口罩,處理液通過該錐形 噴口罩向周圍噴散。
作為優選,所述的過濾網其內部材料為分子篩或活性炭或礦石的其中一種或幾種。
一種采用如上述的塔式污水處理裝置的使用方法,包括如下步驟:
1)、裝置啟動:第一儲液槽蓄有足夠的污水,第二儲液槽蓄有足夠清水,啟動真空泵、 水泵,開啟第一閥門、第二閥門,關閉第三閥門、第四閥門,污水處理塔和油水分離塔內的 空氣被陸續抽走,而二者內的水位不斷升高,一直到達第三液面的位置,此時關閉第一閥門、 水泵,該第三液面的高度為設計(當地大氣壓強-真空度)/標準大氣壓×10.334米,即為臨 界水位;
2)、裝置運行:當第一液面的高度高于第二液面的高度時,第一儲液槽內的污水由于液 位差通過污水處理塔自動流向油水分離塔直至流入第二儲液槽內,形成虹吸效應;此時,第 一處理液、第二處理液、第三處理液經過連接管,依次分別由各自所對應的處理液噴口噴出; 利用比重原理,比水重且不溶于水的物質會沉淀下來直到第一儲液槽底部,與第一處理液所 形成的絡合物被第一過濾網攔截、與第二處理液發生化學反應的物質,產生的沉淀物也會通 過第一過濾網被沉淀下來;而第二過濾網將進一步攔截小分子顆粒;第三處理液主要添加氧 化還原劑,使得最終污水被處理干凈,再經第三過濾網時內所添加的吸附材料會吸收污水里 所含的有毒有害物質;最后再通過管道進入油水分離塔時,運轉的真空泵使得第三液面上方 處于臨近真空區,一些易揮發氣體被蒸發出來,經過真空泵向外界排出或被收集;同時經過 減壓后的油水混合液也容易分離,依據油的比重比水的比重輕,油會上浮直到半球形隔膜頂 部集聚,并通過排油管向外排出,開啟第四閥門通過氧氣管向油水分離塔內充入適量氧氣, 使得經處理后的水質溶解氧增加,污水處理速度由第一液面和第二液面的液位差決定,液位 差越大污水流速越快;污水流速應小于沉淀物在污水處理塔內向下沉淀的速度;
3)、裝置關閉:關閉真空泵、關閉第四閥門、開啟第一閥門,使外界空氣從氣體排放口 進入,污水處理塔和油水分離塔的液面不斷下降,直到與第一儲液槽和第二儲液槽的液面平 為止,或者關閉第一閥門、第二閥門,第三閥門,第四閥門,關閉真空泵,使第一液面、第 二液面的水位保持同一平面,整個裝置處于密封狀態,如下次開啟時,只需將第一液面的水 位高于第二液面的水位,并開啟真空泵、第二閥門,即可使裝置運轉。
作為優選,所述的第一處理液為聚丙烯酸鈉或聚丙烯酰胺陰離子或聚丙烯酰胺陽離子或 聚丙烯酰胺非離子或一種以上混合物。
作為優選,所述的第二處理液為氧化鈣或明礬或聚合磷酸鋁或酒石酸鈉的一種或二種以 上。
作為優選,所述的第三處理液為高錳酸鉀或次氯酸鈉或氯氣的其中一種或二種以上。
作為優選,所述的過濾網,第一過濾網的網眼孔徑大于第二過濾網的網眼孔徑大于第三 過濾網的網眼孔徑。
本發明的有益效果為:1、油水分離塔,能夠高效分離比水輕的油性有機物;
2、利用虹吸原理,因水的流速小于沉淀物下落的速度,因此比水重的難溶物會沉淀在第 一儲液槽內,能夠非常高效的實現沉淀的目的;
3、與現有流淌式水處理裝置相比,該裝置需要外加動能的參與,而本發明的裝置一旦啟 動后就無需外界動力,可減少能源利用;
4、通過一個塔體,可以減少占地面;
5、污水處理的整個過程都在密閉環境下完成,減少外界影響,使得處理后的水質更加清 潔,容易操作;
6、利用真空泵抽取的揮發物可進行進一步處理,不會污染大氣;
7、層層分離,提高污水處理效率。






