申請日2015.07.24
公開(公告)日2015.12.16
IPC分類號C02F1/00
摘要
本實用新型公開了一種密閉雙攪拌負壓曝氣污水處理裝置,其密封支座上部支撐電機減速機,下部固定在筒體頂端,負壓進氣口與氣體聯通套管相通;筒體頂端設置出氣口,筒體中部設置出液口,筒體的下端與下端封頭連接,下端封頭的底部設置進液口;傳動攪拌軸上連電機減速機,傳動攪拌軸下連一級紊流攪拌槳和二級布氣攪拌槳;氣體聯通套管上端固定于電機減速機上,氣體聯通套管下端與攪拌布氣罩相連;筒體內部設置紊流板;氣體聯通套管為中空管,內部有傳動攪拌軸,傳動攪拌軸頂部設有負壓進氣口。本實用新型解決了傳統曝氣頭或曝氣管堵塞的問題,保證氣體與污水充分混合,處理效率較高。
權利要求書
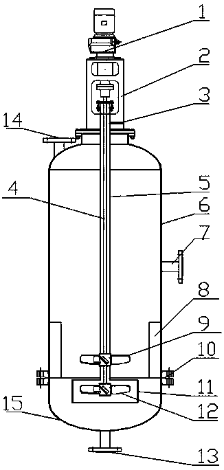
1.一種密閉雙攪拌負壓曝氣污水處理裝置,其特征在于:是由電機減速 機(1)、密封支座(2)、負壓進氣口(3)、傳動攪拌軸(4)、氣體聯通套管 (5)、筒體(6)、出液口(7)、紊流板(8)、一級紊流攪拌槳(9)、法蘭(10)、 攪拌布氣罩(11)、二級布氣攪拌槳(12)、進液口(13)、出氣口(14) 和下端封頭(15)組成,密封支座(2)上部支撐電機減速機(1),下部固 定在筒體(6)頂端,負壓進氣口(3)與氣體聯通套管(5)相通;筒體(6) 頂端設置出氣口(14),筒體(6)中部設置出液口(7),筒體(6)的下端 與下端封頭(15)連接,下端封頭(15)的底部設置進液口(13);傳動攪 拌軸(4)上連電機減速機(1),傳動攪拌軸(4)下連一級紊流攪拌槳(9) 和二級布氣攪拌槳(12);氣體聯通套管(5)上端固定于電機減速機(1) 上,氣體聯通套管(5)下端與攪拌布氣罩(11)相連;筒體與下端封頭(15) 依靠法蘭(10)連接,筒體內部設置紊流板(8);密封支座(2)設置在筒 體(6)上端,氣體聯通套管(5)為中空管,內部有傳動攪拌軸(4),傳動 攪拌軸(4)頂部設有負壓進氣口(3)。
說明書
一種密閉雙攪拌負壓曝氣污水處理裝置
技術領域
本實用新型屬于污水處理技術領域,涉及一種采用密閉的雙攪拌負壓曝 氣處理污水的綜合治理裝置。
背景技術
污水治理方法多種多樣,有物理方法、化學方法、物化結合方法以及生 物法,根據污水中污染物組分不同,所采用的方法可能也不一樣。污水治理 的過程中常會使用攪拌槽及曝氣吹脫相結合的方式,攪拌槽底部安裝曝氣管 或曝氣盤,如果污水中含有顆粒物,常會造成曝氣管或曝氣盤堵塞,而且傳 統曝氣均需要額外供給氣源,較為繁瑣。另外,攪拌槽大部分是敞口,如果 使用的介質為刺激性氣味或其他有害氣體,便會導致反應不完全的氣體排入 空氣中,造成環境污染。一種密閉雙攪拌負壓曝氣污水處理裝置就是針對上 述污水處理過程中裝置的缺點而設計開發。
發明內容
本實用新型的目的就是為了解決上述問題,而提供的一種密閉雙攪拌負 壓曝氣污水處理裝置,本實用新型是由一級紊流攪拌槳、攪拌布氣罩及二級 布氣攪拌槳等組成,本實用新型可有效解決污水處理中曝氣頭或曝氣管堵塞、 氣液混合不充分、氣體揮發環境污染等問題,而且可以負壓自動吸氣進行曝 氣反應,設備簡單,運行穩定,效果較高,實用性強。
本實用新型是由電機減速機、密封支座、負壓進氣口、傳動攪拌軸、氣 體聯通套管、筒體、出液口、紊流板、一級紊流攪拌槳、法蘭、攪拌布氣罩、 二級布氣攪拌槳、進液口、出氣口和下端封頭組成,密封支座上部支撐電機 減速機,下部固定在筒體頂端,負壓進氣口與氣體聯通套管相通;筒體頂端 設置出氣口,筒體中部設置出液口,筒體的下端與下端封頭連接,下端封頭 的底部設置進液口;傳動攪拌軸上連電機減速機,傳動攪拌軸下連一級紊流 攪拌槳和二級布氣攪拌槳;氣體聯通套管上端固定于電機減速機上,氣體聯 通套管下端與攪拌布氣罩相連;筒體與下端封頭依靠法蘭連接,筒體內部設 置紊流板;密封支座設置在筒體上端,氣體聯通套管為中空管,內部有傳動 攪拌軸,傳動攪拌軸頂部設有負壓進氣口。
本實用新型工作過程:
污水通過進液口進入反應裝置,攪拌時,攪拌布氣罩中形成負壓,氣體 通過負壓進氣口進入裝置底部的攪拌布氣罩中,在二級布氣攪拌槳的作用下, 將攪拌布氣罩中的氣體打碎成微氣泡,與底部進入裝置的污水充分混合,混 合后的污水向上流動,經過一級紊流攪拌槳及紊流板的相互作用,進行充分 混合反應,反應后的污水經出液口排出,反應后的氣體經出氣口排出即可。
本實用新型的有益效果:
密閉雙攪拌曝氣污水處理裝置解決了傳統曝氣頭或曝氣管堵塞的問題, 同時,保證氣體與污水充分混合,保證了氣液接觸面積,處理效率較高。不 需要額外供給氣源,依靠自身負壓引入氣體曝氣吹脫。另外,本裝置為密閉 裝置,出氣口可連接至其他尾氣破壞或尾氣吸收裝置中,保證尾氣不污染環 境。在解決上述問題的情況下,保證了污水的治理效果。該發明不僅可用于 污水處理工藝有害物質的去除,還可以用于礦漿等含固體顆粒介質工藝有害 物質的去除,適用性較強。







