申請日2015.07.24
公開(公告)日2016.01.13
IPC分類號B01D17/028; C02F1/40
摘要
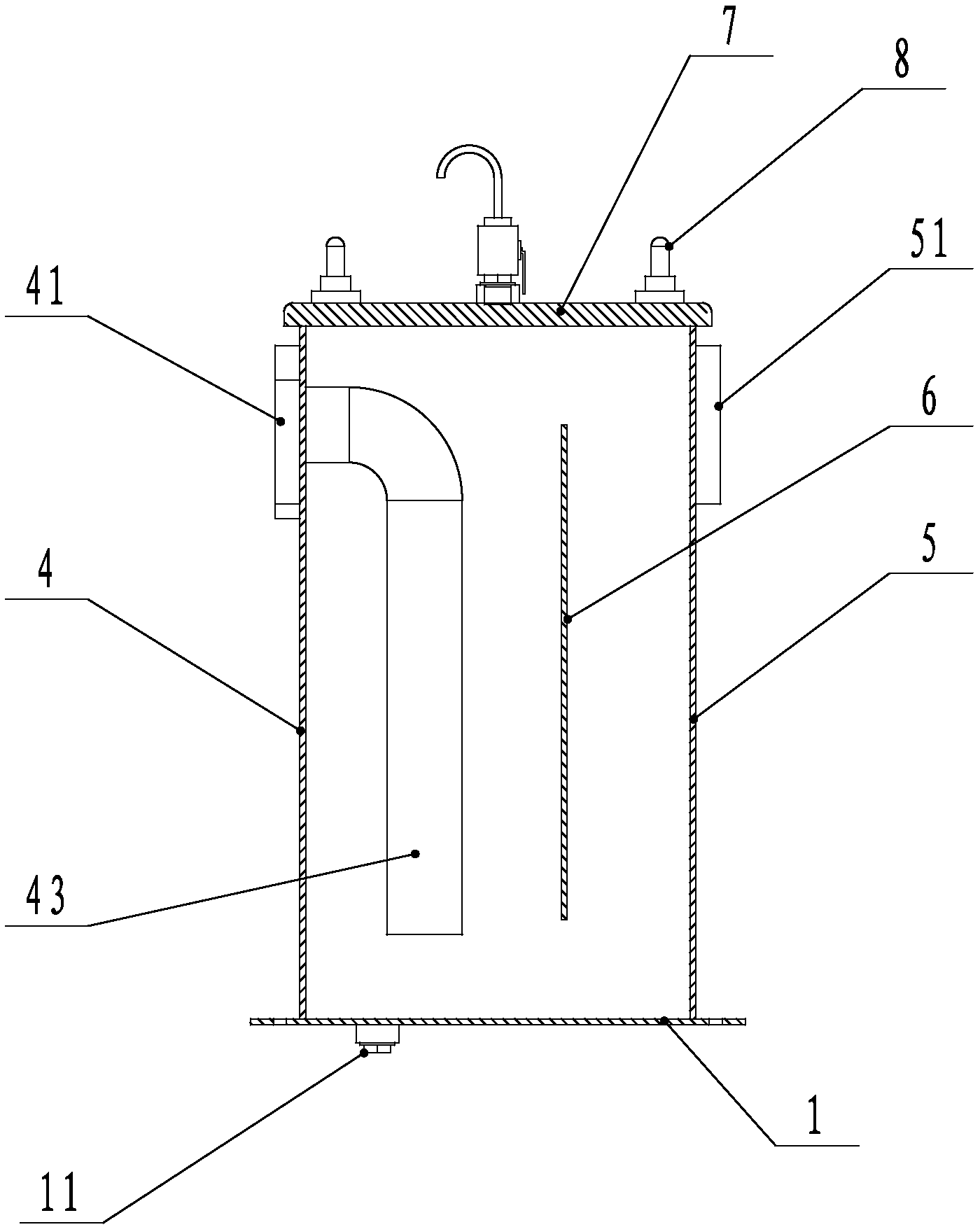
本實用新型公開了一種用于船舶廚房污水處理的簡易脫脂器,包括箱體,箱體包括放置于固定基座上的底板和固定在底板四周的前后側板和左右側板,前后側板內壁間設置有隔板,左側板外壁設置有排水口座板和排油口座板,右側板外壁設置有進水口座板,排水口座板通過連接有通管伸進箱體內,通管下端低于隔板下端,污水由進水口座板進入箱體內并穿過隔板下端,由于污水中的油脂和水的密度不相同,水的密度比較大,所以水會沉入下面,而油脂會漂浮在水的上面從而使污水分層,位于底部的水由伸進箱體內的通管經過排水口座板排出,位于頂部的油脂則直接從排油口座板排出,從而實現污水的脫脂,避免直接排污造成水體污染。
權利要求書
1.一種用于船舶廚房污水處理的簡易脫脂器,其特征在于:包括箱體,所述箱體包括放置于固定基座上的底板(1)和固定在底板四周的前、后側板(2、3)和左、右側板(4、5),所述前、后側板(2、3)內壁間設置有隔板(6),所述隔板(6)與底板(1)間留有間隙,所述左側板(4)外壁設置有排水口座板(41)和排油口座板(42),所述排水口座板(41)安裝位置高于排油口座板(42),所述右側板(5)外壁設置有進水口座板(51),所述排水口座板(41)通過連接有通管(43)伸進箱體內,所述通管(43)下端低于隔板(6)下端。
2.根據權利要求1所述的一種用于船舶廚房污水處理的簡易脫脂器,其特征在于:所述箱體還包括位于側板上端的蓋板(7),所述蓋板(7)通過鎖緊裝置(8)與側板連接固定。
3.根據權利要求2所述的一種用于船舶廚房污水處理的簡易脫脂器,其特征在于:所述鎖緊裝置(8)包括蝶形螺栓(81)、擋板(82)和墊片(83),側板外壁設置有與蝶形螺栓(81)配合的連接座(44)。
4.根據權利要求1所述的一種用于船舶廚房污水處理的簡易脫脂器,其特征在于:所述底板(1)設置有排污口(11),所述排污口(11)安裝有放泄塞。
5.根據權利要求4所述的一種用于船舶廚房污水處理的簡易脫脂器,其特征在于:所述排污口(11)設置有螺紋接頭。
說明書
一種用于船舶廚房污水處理的簡易脫脂器
技術領域
本實用新型涉及一種船體建造輔助工裝,尤其涉及一種用于船舶廚房污水處理的簡易脫脂器。
背景技術
船舶在營運過程中,船上工作人員的飲食所產生的生活廢水,因為含比較多的油脂而直接排放會對海洋或河水造成危害。隨著人類對海洋環境的重視,相關公約正在更新或增加。其中經修訂的MARPOL附則V防止船舶垃圾污染規則中明確提出禁止將食用油排放入海。船舶的正式航海日志垃圾分類中專門列出D食用油。為了避免補處罰罰金或扣船,在廚房廢水管路中安裝油脂脫離器,排放前進行油脂和水分離的處理是非常必要的。
實用新型內容
為了克服現有技術的不足,本實用新型提供一種用于船舶廚房污水處理的簡易脫脂器,其可以對廚房污水進行簡單的油脂和水的分離。
本實用新型所采用的技術方案主要是:一種用于船舶廚房污水處理的簡易脫脂器,包括箱體,所述箱體包括放置于固定基座上的底板和固定在底板四周的前后側板和左右側板,所述前后側板內壁間設置有隔板,所述隔板與底板間留有間隙,所述左側板外壁設置有排水口座板和排油口座板,所述排水口座板安裝位置高于排油口座板,所述右側板外壁設置有進水口座板,所述排水口座板通過連接有通管伸進箱體內,所述通管下端低于隔板下端。
作為上述技術方案的改進,所述箱體還包括位于側板上端的蓋板,所述蓋板通過鎖緊裝置與側板連接固定。
作為上述技術方案的進一步改進,所述鎖緊裝置包括蝶形螺栓、擋板和墊片,側板外壁設置有與蝶形螺栓配合的連接座。
進一步,所述底板設置有排污口,所述排污口安裝有放泄塞。
進一步,所述排污口設置有螺紋接頭。
本實用新型的有益效果是:
本實用新型的一種用于船舶廚房污水處理的簡易脫脂器,包括箱體,箱體包括放置于固定基座上的底板和固定在底板四周的前后側板和左右側板,前后側板內壁間設置有隔板,左側板外壁設置有排水口座板和排油口座板,右側板外壁設置有進水口座板,排水口座板通過連接有通管伸進箱體內,通管下端低于隔板下端,污水由進水口座板進入箱體內并穿過隔板下端,由于污水中的油脂和水的密度不相同,水的密度比較大,所以水會沉入下面,而油脂會漂浮在水的上面從而使污水分層,位于底部的水由伸進箱體內的通管經過排水口座板排出,位于頂部的油脂則直接從排油口座板排出,從而實現污水的脫脂,避免直接排污造成水體污染。







