申請日2013.08.20
公開(公告)日2013.11.20
IPC分類號C02F9/14; C02F1/32; C02F1/78
摘要
臭氧氧化、兩級生物增強活性炭、紫外消毒水處理裝置,它涉及一種水處理裝置。本發明為了解決現有的水處理裝置中無法實現運行模式多樣化,小規模運行試驗和實時數據在線監測的問題。本發明的臭氧氧化水處理裝置(2)和紫外消毒器(3)設置在一體化試驗裝置固定架(1)的左右兩側,兩級生物增強活性炭(4)和反沖洗水箱(5)由左至右依次設置在臭氧氧化水處理裝置(2)的右側,兩級生物增強活性炭(4)和反沖洗水箱(5)之間通過反沖洗水管(7)連接,反沖洗水泵(6)設置在反沖洗水管(7)上,紫外消毒器(3)設置在反沖洗水箱(5)的上部。本發明用于水處理。
權利要求書
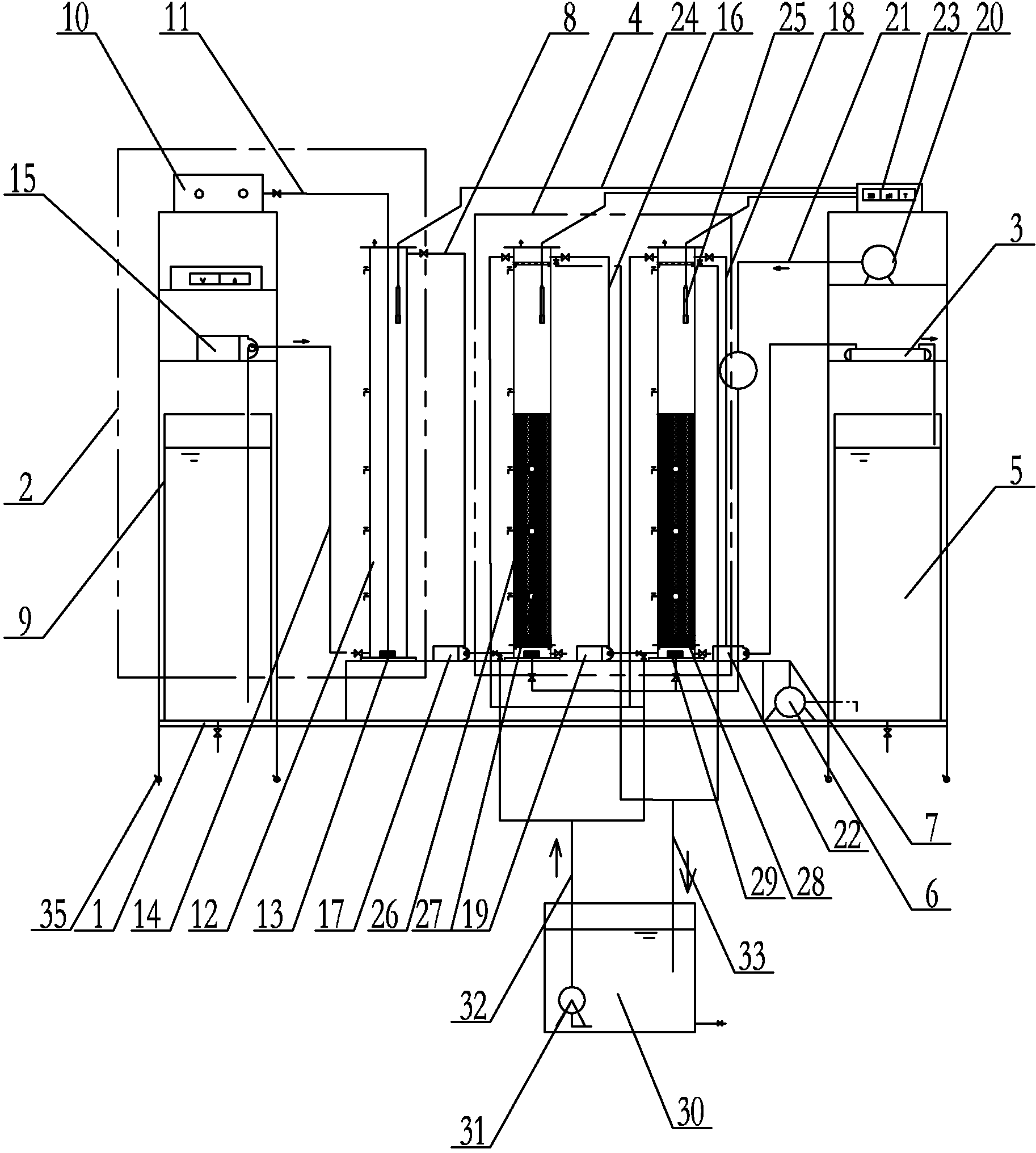
1.一種臭氧氧化、兩級生物增強活性炭、紫外消毒水處理裝置,它包括一體化試驗裝 置固定架(1)、臭氧氧化水處理裝置(2)和紫外消毒器(3),臭氧氧化水處理裝置(2) 和紫外消毒器(3)設置在一體化試驗裝置固定架(1)的左右兩側,
臭氧氧化水處理裝置(2)包括原水水箱(9)、臭氧發生器(10)、臭氧輸送管(11)、 氣密性柱狀容器(12)、臭氧微孔曝氣頭(13)、原水輸水管(14)和第一蠕動泵(15),原 水水箱(9)和氣密性柱狀容器(12)由左至右依次并列設置,臭氧發生器(10)設置在原 水水箱(9)上端,臭氧微孔曝氣頭(13)設置在氣密性柱狀容器(12)內的下部,臭氧輸 送管(11)的一端與臭氧發生器(10)連接,臭氧輸送管(11)的另一端與臭氧微孔曝氣 頭(13)連接,原水水箱(9)與氣密性柱狀容器(12)的下端外壁之間通過原水輸水管(14) 連接,第一蠕動泵(15)設置在原水輸水管(14)上,
其特征在于:所述水處理裝置還包括兩級生物增強活性炭(4)、反沖洗水箱(5)、 反沖洗水泵(6)、反沖洗水管(7)、第一級傳輸水管(8)、第二蠕動泵(17)、監測顯 示器(23)、多根數據傳輸線(24)和多個監測探頭(25),
兩級生物增強活性炭(4)和反沖洗水箱(5)由左至右依次設置在臭氧氧化水處理裝 置(2)的右側,兩級生物增強活性炭(4)和反沖洗水箱(5)之間通過反沖洗水管(7) 連接,反沖洗水泵(6)設置在反沖洗水管(7)上,紫外消毒器(3)設置在反沖洗水箱(5) 的上部,
兩級生物增強活性炭(4)包括第一級生物增強活性炭、第二級生物增強活性炭、第二 級傳輸水管(16)、第三蠕動泵(19)、出水管(18)、第四蠕動泵(22)、氣泵(20) 和輸氣管(21),
第一級生物增強活性炭和第二級生物增強活性炭并列豎直設置,第一級生物增強活性 炭和第二級生物增強活性炭之間通過第二級傳輸水管(16)連接,第三蠕動泵(19)設置 在第二級傳輸水管(16)上,臭氧氧化水處理裝置(2)與第一級生物增強活性炭之間通過 第一級傳輸水管(8)連接,第二蠕動泵(17)設置在第一級傳輸水管(8)上,第二級生 物增強活性炭與紫外消毒器(3)之間通過出水管(18)連接,第四蠕動泵(22)設置在出 水管(18)上,氣泵(20)設置在紫外消毒器(3)的上方,氣泵(20)與第一級生物增強 活性炭和第二級生物增強活性炭的下端通過輸氣管(21)連接,監測顯示器(23)設置在 氣泵(20)上方,氣密性柱狀容器(12)、第一級生物增強活性炭和第二級生物增強活性炭 內分別設有一個監測探頭(25),每個監測探頭(25)分別通過一根數據傳輸線(24)與 監測顯示器(23)連接。
2.根據權利要求1所述的臭氧氧化、兩級生物增強活性炭、紫外消毒水處理裝置,其 特征在于:所述第一級生物增強活性炭和第二級生物增強活性炭均包括壓力柱狀容器(26)、 炭床(27)、承托層(28)和活性炭曝氣頭(29),壓力柱狀容器(26)豎直設置,炭床 (27)、承托層(28)和活性炭曝氣頭(29)由上至下依次設置在壓力柱狀容器(26)內。
3.根據權利要求2所述的臭氧氧化、兩級生物增強活性炭、紫外消毒水處理裝置,其 特征在于:承托層(28)為石英砂級配承托層或錳砂級配承托層。
4.根據權利要求3所述的臭氧氧化、兩級生物增強活性炭、紫外消毒水處理裝置,其 特征在于:所述石英砂級配承托層或錳砂級配承托層由上至下依次為:粒徑為0.8mm-1.8mm 的石英砂或錳砂10mm-20mm;粒徑為2mm-4mm的石英砂或錳砂20mm;粒徑為4mm-8mm 的石英砂或錳砂10mm-20mm;粒徑為8mm-16mm的石英砂或錳砂10mm-20mm;粒徑為 16mm-32mm的石英砂或錳砂10mm-20mm。
5.根據權利要求4所述的臭氧氧化、兩級生物增強活性炭、紫外消毒水處理裝置,其 特征在于:所述炭床(27)為柱狀活性炭或破碎活性炭。
6.根據權利要求5所述的臭氧氧化、兩級生物增強活性炭、紫外消毒水處理裝置,其 特征在于:所述破碎活性炭的粒徑為0.5mm-3mm。
7.根據權利要求2或6所述的臭氧氧化、兩級生物增強活性炭、紫外消毒水處理裝置, 其特征在于:所述壓力柱狀容器(26)為不銹鋼壓力柱狀容器或有機玻璃壓力柱狀容器。
8.根據權利要求7所述的臭氧氧化、兩級生物增強活性炭、紫外消毒水處理裝置,其 特征在于:所述臭氧輸送管(11)、原水輸水管(14)、反沖洗水管(7)、第一級傳輸水管 (8)、第二級傳輸水管(16)、出水管(18)和輸氣管(21)均為PE管或硅膠管。
9.根據權利要求8所述的臭氧氧化、兩級生物增強活性炭、紫外消毒水處理裝置,其 特征在于:所述水處理裝置還包括菌液循環水箱(30)、循環水泵(31)、菌液供給管(32) 和回流管(33),菌液循環水箱(30)設置在一體化試驗裝置固定架(1)的外部,循環水 泵(31)設置在菌液循環水箱(30)內,菌液供給管(32)的一端與菌液循環水箱(30) 連接,菌液供給管(32)的另一端分別與第一級生物增強活性炭和第二級生物增強活性炭 的下端連接,回流管(33)的一端與菌液循環水箱(30)連接,回流管(33)的另一端分 別與第一級生物增強活性炭和第二級生物增強活性炭的上端連接。
10.根據權利要求9所述的臭氧氧化、兩級生物增強活性炭、紫外消毒水處理裝置, 其特征在于:所述水處理裝置還包括多個萬向輪(34),多個萬向輪(34)設置在一體化 試驗裝置固定架(1)的底端。
說明書
臭氧氧化、兩級生物增強活性炭、紫外消毒水處理裝置
技術領域
本發明涉及一種水處理裝置,具體涉及一種臭氧氧化、兩級生物增強活性炭、紫外消 毒水處理裝置,屬于水處理技術領域。
背景技術
隨著社會與經濟的迅速發展,飲用水水源污染已經成為主要環境問題之一。2007年7 月1日新的國家《生活飲用水衛生標準》(GB5749-2006)正式頒布,水質指標由原標準的 35項增加到106項,新標準對水中多種微量污染物的控制更加嚴格。目前,我國大部分城 市給水廠普遍采用的混合-絮凝-沉淀-過濾-消毒等常規處理工藝,難以對水中持久性有機污 染物(POPs)、內分泌干擾物(EDCs)和氨氮等典型污染物進行有效去除,如何解決這些 問題是城市供水行業面臨的重要課題。在眾多飲用水深度處理技術中,以臭氧氧化-生物增 強活性炭(O3-BEAC)為核心的飲用水深度處理技術已得到廣泛應用。O3-BEAC技術將氧 的強氧化性性能、活性炭的高效吸附性能和高效功能菌群的生物降解作用相結合,能夠迅 速有效地降解水中微量有機污染物,具有較強的系統穩定性和較強耐負荷沖擊能力,并對 活性炭有一定的生物再生作用,使活性炭的使用壽命比普通生物活性炭延長一年以上,因 此,O3-BEAC工藝是適合給水廠技術升級改造的主流技術之一。
O3-BEAC的實際凈水效能及系統運行的穩定性、高效性及炭耗受到水源水質、活性炭 種類、臭氧氧化工藝條件及負載活性炭上的功能菌種類的影響。因此,在應用到實際工程 之前,需要根據確定適合水源水質、活性炭品質及功能菌種類的O3-BEAC運行工藝參數, 以指導水廠實現O3-BEAC工藝的高效、穩定運行,有效延長活性炭的使用壽命。但這些 工藝參數的確定需在城市水廠設計施工之前完成,因此水廠無法在建設完成的實際水廠工 藝的處理構筑物中完成相關試驗研究。這就需要借助小規模試驗實現對O3-BEAC工藝的 模擬,針對水源水質特征開展實驗室內的小規模運行試驗,以此來確定最佳的臭氧氧化工 藝條件、選擇適宜生物強化的活性炭和構建具有高效降解作用的功能菌。因此,開發多功 能一體化O3-BEAC試驗裝置具有重要的科學研究與實際意義。
綜上所述,現有的水處理裝置中無法實現運行模式的多樣化,小規模運行試驗和實時 數據在線監測。
發明內容
本發明的目的是為了解決現有的水處理裝置中無法實現運行模式的多樣化,小規模運 行試驗和實時數據在線監測的問題。進而提供一種臭氧氧化、兩級生物增強活性炭、紫外 消毒水處理裝置。
本發明的技術方案是:臭氧氧化、兩級生物增強活性炭、紫外消毒水處理裝置,它包 括一體化試驗裝置固定架、臭氧氧化水處理裝置和紫外消毒器,臭氧氧化水處理裝置和紫 外消毒器設置在一體化試驗裝置固定架的左右兩側,
臭氧氧化水處理裝置包括原水水箱、臭氧發生器、臭氧輸送管、氣密性柱狀容器、臭 氧微孔曝氣頭、原水輸水管和第一蠕動泵,原水水箱和氣密性柱狀容器由左至右依次并列 設置,臭氧發生器設置在原水水箱上端,臭氧微孔曝氣頭設置在氣密性柱狀容器內的下部, 臭氧輸送管的一端與臭氧發生器連接,臭氧輸送管的另一端與臭氧微孔曝氣頭連接,原水 水箱與氣密性柱狀容器的下端外壁之間通過原水輸水管連接,第一蠕動泵設置在原水輸水 管上,
所述水處理裝置還包括兩級生物增強活性炭、反沖洗水箱、反沖洗水泵、反沖洗水管、 第一級傳輸水管、第二蠕動泵、監測顯示器、多根數據傳輸線和多個監測探頭,
兩級生物增強活性炭和反沖洗水箱由左至右依次設置在臭氧氧化水處理裝置的右側, 兩級生物增強活性炭和反沖洗水箱之間通過反沖洗水管連接,反沖洗水泵設置在反沖洗水 管上,紫外消毒器設置在反沖洗水箱的上部,
兩級生物增強活性炭包括第一級生物增強活性炭、第二級生物增強活性炭、第二級傳 輸水管、第三蠕動泵、出水管、第四蠕動泵、氣泵和輸氣管,
第一級生物增強活性炭和第二級生物增強活性炭并列豎直設置,第一級生物增強活性 炭和第二級生物增強活性炭之間通過第二級傳輸水管連接,第三蠕動泵設置在第二級傳輸 水管上,臭氧氧化水處理裝置與第一級生物增強活性炭之間通過第一級傳輸水管連接,第 二蠕動泵設置在第一級傳輸水管上,第二級生物增強活性炭與紫外消毒器之間通過出水管 連接,第四蠕動泵設置在出水管上,氣泵設置在紫外消毒器的上方,氣泵與第一級生物增 強活性炭和第二級生物增強活性炭的下端通過輸氣管連接,監測顯示器設置在氣泵上方, 氣密性柱狀容器、第一級生物增強活性炭和第二級生物增強活性炭內分別設有一個監測探 頭,每個監測探頭分別通過一根數據傳輸線與監測顯示器連接。
本發明與現有技術相比具有以下效果:
1.本發明是這樣實現運行模式的多樣化小規模運行試驗的:
(1)通過調節臭氧接觸反應條件,通過添加不同類型的臭氧接觸填料,調節臭氧發生 器產臭氧量,能夠確定最佳的臭氧接觸反應方式,臭氧投加量和接觸時間;
(2)通過在第一級生物增強活性炭和第二級生物增強活性炭中填裝不同類型的活性 炭、負載不同類型的功能菌種,能夠實現對適宜生物強化的活性炭種類的確定及高效功能 菌種的確定:
(3)通過調整紫外計量,能夠實現最佳紫外消毒工藝參數的確定。
2.本發明是這樣實現實時數據在線監測的問題的:本發明的多個監測探頭探測到相應 數據,通過監測顯示器來第一時間獲取在線監測數據。
3.本發明首次提出臭氧氧化-兩級生物增強活性炭-紫外消毒水處理裝置。通過兩級生 物增強活性炭水處理方法的建立,能夠同時滿足對不同水質條件下生物增強活性炭凈水效 能的研究。
4.本發明提出的水處理裝置適用于不同類型流態研究的需要,本發明中的兩級生物增 強活性炭水處理裝置能夠實現對上向流、下向流、壓力流和重力流等四種流態及其組合工 況的模擬。
5.本發明水處理裝置結構合理、組裝方便,能夠實現實時數據在線監測,能適應多種 科學研究需要,實現多各工藝階段的多參數調控,對實際水處理工藝具有很好的模擬性, 可應用于室內科學研究。







