公布日:2023.11.03
申請日:2023.09.05
分類號:C02F1/52(2023.01)I
摘要
本發明涉及水處理技術領域,且公開了一種水處理污泥活化回流用混合反應設備,包括罐體,所述罐體的前側設置有門體,所述罐體的左側固定設置有雨外界污泥水體相通的進水管,所述罐體的右側固定設置有驅動泵,所述驅動泵的左側與罐體設置相通,且驅動泵的右側與外界藥劑液相設置相通。該水處理污泥活化回流用混合反應設備,通過藥劑與污泥水體發生反應,并基于聚水管的斜角度設置使得污泥水體流出的同時對活動扇葉產生撞擊,并將該作用力轉換成活動扇葉順時針自轉的作用力,隨著活動扇葉的轉動同時帶動上活動軸以及均勻桿同步進行順時針轉動,并利用均勻葉輪對污泥水體進行混合處理,從而提升藥劑與污泥水體的混合效率,充分發揮污泥的助凝效果。

權利要求書
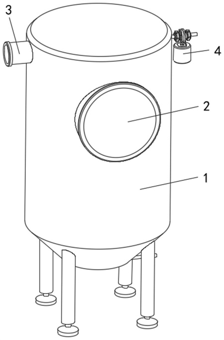
1.一種水處理污泥活化回流用混合反應設備,包括罐體(1),其特征在于:所述罐體(1)的前側設置有門體(2),所述罐體(1)的左側固定設置有雨外界污泥水體相通的進水管(3),所述罐體(1)的右側固定設置有驅動泵(4),所述驅動泵(4)的左側與罐體(1)設置相通,且驅動泵(4)的右側與外界藥劑液相設置相通,通過所述驅動泵(4)噴出藥劑液對由進水管(3)傳輸至罐體(1)內部的污泥水體進行混合反應作業;所述罐體(1)的內部固定安裝有固定座(5),所述固定座(5)的上側固定安裝有聚水桶(6),所述聚水桶(6)的側壁上固定設置有若干個均勻分布的聚水管(61),所述聚水管(61)與聚水桶(6)所在的內壁呈斜角度設置,所述聚水桶(6)的內部活動設置沿豎直中心軸線方向的活動主軸(7),所述活動主軸(7)包括上活動軸(71)和下活動軸(72),所述上活動軸(71)上活動安裝有活動扇葉(8),通過所述聚水管(61)將水流導出并利用水流推動活動扇葉(8)進行自轉作業,所述上活動軸(71)外側固定設置有若干組均勻桿(9)并位于活動扇葉(8)的下方,所述均勻桿(9)上固定設置有若干組均勻葉輪(10),通過所述上活動軸(71)自轉并帶動均勻桿(9)轉動同時利用均勻葉輪(10)對污泥水體進行均勻混合反應作業,所述罐體(1)的底部固定設置有對水體進行排泄的卸料閥(22)。
2.根據權利要求1所述的一種水處理污泥活化回流用混合反應設備,其特征在于:所述上活動軸(71)外周固定安裝有若干組活動桿(11),所述活動桿(11)的下側固定設置有對罐體(1)內壁污泥進行刮除的刮料板(12),其中,所述活動桿(11)遠離上活動軸(71)的一端固定安裝有振動件(111)。
3.根據權利要求2所述的一種水處理污泥活化回流用混合反應設備,其特征在于:所述罐體(1)的內壁上固定設置有振動環(13)并位于固定座(5)的正下方,所述振動環(13)的內壁上固定設置有若干個均勻分布的凸塊(131),通過所述活動桿(11)驅動時的振動件(111)與振動環(13)內壁的凸塊(131)相接觸,并使活動桿(11)以及刮料板(12)同步產生沿活動桿(11)軸線方向的間歇性振動。
4.根據權利要求1所述的一種水處理污泥活化回流用混合反應設備,其特征在于:所述罐體(1)的內部固定設置有固定殼(14)且位于聚水桶(6)的正下方,所述固定殼(14)的外側開設有進料口(141)和若干個出料口(142),且進料口(141)位于出料口(142)的正下方。
5.根據權利要求4所述的一種水處理污泥活化回流用混合反應設備,其特征在于:所述固定殼(14)的內部活動活動設置有輸送螺旋桿(143),所述輸送螺旋桿(143)的上端與下活動軸(72)的下端相固定連接,通過所述下活動軸(72)自轉并帶動輸送螺旋桿(143)同步進行轉動,同時對罐體(1)底部的污泥進行送料作業。
6.根據權利要求1所述的一種水處理污泥活化回流用混合反應設備,其特征在于:所述上活動軸(71)和下活動軸(72)之間設置有轉換部件(15),所述轉換部件(15)的上下兩側固定安裝有卡件(151),所述上活動軸(71)和下活動軸(72)朝向轉換部件(15)的一側開設有卡槽(17),所述卡槽(17)尺寸大小與卡件(151)尺寸大小相一致,所述轉換部件(15)通過卡件(151)與上活動軸(71)和下活動軸(72)相設置連接。
7.根據權利要求6所述的一種水處理污泥活化回流用混合反應設備,其特征在于:所述轉換部件(15)的內部設置有兩組齒輪組(16),所述齒輪組(16)包括固定桿(161)、軸承(162)和傳動齒輪(163);所述轉換部件(15)的內壁上固定安裝有固定桿(161),所述固定桿(161)遠離轉換部件(15)的一端通過軸承(162)與傳動齒輪(163)相活動連接。
8.根據權利要求1所述的一種水處理污泥活化回流用混合反應設備,其特征在于:所述上活動軸(71)和下活動軸(72)的內壁上均固定安裝有齒輪環(18),所述齒輪環(18)與傳動齒輪(163)通過嚙合傳動。
9.根據權利要求1所述的一種水處理污泥活化回流用混合反應設備,其特征在于:所述進水管(3)的內壁上固定安裝有固定架(19),所述固定架(19)上固定設置有驅動源(20),所述驅動源(20)的左側活動設置有活動葉輪(21)。
發明內容
為了解決上述技術問題,本發明提供一種水處理污泥活化回流用混合反應設備,由以下具體技術手段所達成:
一種水處理污泥活化回流用混合反應設備,包括罐體,所述罐體的前側設置有門體,所述罐體的左側固定設置有雨外界污泥水體相通的進水管,所述罐體的右側固定設置有驅動泵,所述驅動泵的左側與罐體設置相通,且驅動泵的右側與外界藥劑液相設置相通,通過所述驅動泵噴出藥劑液對由進水管傳輸至罐體內部的污泥水體進行混合反應作業;
所述罐體的內部固定安裝有固定座,所述固定座的上側固定安裝有聚水桶,所述聚水桶的側壁上固定設置有若干個均勻分布的聚水管,所述聚水管與聚水桶所在的內壁呈斜角度設置,所述聚水桶的內部活動設置沿豎直中心軸線方向的活動主軸,所述活動主軸包括上活動軸和下活動軸,所述上活動軸上活動安裝有活動扇葉,通過所述聚水管將水流導出并利用水流推動活動扇葉進行自轉作業,所述上活動軸外側固定設置有若干組均勻桿并位于活動扇葉的下方,所述均勻桿上固定設置有若干組均勻葉輪,通過所述上活動軸自轉并帶動均勻桿轉動同時利用均勻葉輪對污泥水體進行均勻混合反應作業,所述罐體的底部固定設置有對水體進行排泄的卸料閥。
進一步的,所述上活動軸外周固定安裝有若干組活動桿,所述活動桿的下側固定設置有對罐體內壁污泥進行刮除的刮料板,其中,所述活動桿遠離上活動軸的一端固定安裝有振動件。
通過采用上述結構,通過活動軸轉動的過程中同時帶動活動桿以及刮料板同步進行轉動,并利用刮料板對罐體內壁上的污泥進行刮除,避免其堆積在罐體的內壁。
進一步的,所述罐體的內壁上固定設置有振動環并位于固定座的正下方,所述振動環的內壁上固定設置有若干個均勻分布的凸塊,通過所述活動桿驅動時的振動件與振動環內壁的凸塊相接觸,并使活動桿以及刮料板同步產生沿活動桿軸線方向的間歇性振動。
通過采用上述結構,通振動件與振動環內壁上的凸塊不斷接觸,使得活動桿以及刮料板產生振動頻率,進而可加強對罐體內壁污泥的刮除效果,同時提升藥劑與污泥水體的混合目的,使其形成高密度細小均勻顆粒,提升回流污泥的助凝作用。
進一步的,所述罐體的內部固定設置有固定殼且位于聚水桶的正下方,所述固定殼的外側開設有進料口和若干個出料口,且進料口位于出料口的正下方。
通過采用上述結構,通過在固定殼上設置有多個不同層次的出料口,使得輸送螺旋桿可將污泥從不同層次的水體中排出,可進一步加強藥劑與污泥水體的混合效果,有效減少混合時長,提升工作效率。
進一步的,所述固定殼的內部活動活動設置有輸送螺旋桿,所述輸送螺旋桿的上端與下活動軸的下端相固定連接,通過所述下活動軸自轉并帶動輸送螺旋桿同步進行轉動,同時對罐體底部的污泥進行送料作業。
通過采用上述結構,通過輸送螺旋桿帶動堆積在罐體底部的污泥向上進行輸送,并通過輸送螺旋桿將污泥呈逆時針轉動方向并甩出,并使得污泥與順時針轉動的均勻葉輪相互接觸,從而可加強對污泥的混合效果,從而進一步提升藥劑與污泥水體的混合效率,充分發揮污泥的助凝效果,提高絮凝沉淀系統的處理效果。
進一步的,所述上活動軸和下活動軸之間設置有轉換部件,所述轉換部件的上下兩側固定安裝有卡件,所述上活動軸和下活動軸朝向轉換部件的一側開設有卡槽,所述卡槽尺寸大小與卡件尺寸大小相一致,所述轉換部件通過卡件與上活動軸和下活動軸相設置連接。
通過采用上述結構,通過將卡件卡合在卡槽中,可使得轉換部件與上活動軸和下活動軸之間的穩定安裝。
進一步的,所述轉換部件的內部設置有兩組齒輪組,所述齒輪組包括固定桿、軸承和傳動齒輪;
所述轉換部件的內壁上固定安裝有固定桿,所述固定桿遠離轉換部件的一端通過軸承與傳動齒輪相活動連接。
通過采用上述結構,通過利用齒輪環與其中一組齒輪組的傳動齒輪相嚙合傳動,同時使得兩組齒輪組中的傳動齒輪相互嚙合傳動,并利用另一組齒輪組的傳動齒輪與下活動軸內壁的齒輪環相互嚙合傳動,促使下活動軸的轉動方向與上活動軸的轉動方向呈相反狀態。
進一步的,所述上活動軸和下活動軸的內壁上均固定安裝有齒輪環,所述齒輪環與傳動齒輪通過嚙合傳動。
通過采用上述結構,通過齒輪環的設置使得上活動軸和下活動軸可進行有效傳動。
進一步的,所述進水管的內壁上固定安裝有固定架,所述固定架上固定設置有驅動源,所述驅動源的左側活動設置有活動葉輪。
通過采用上述結構,通過污泥水體流動時的作用力帶動活動葉輪進行轉動,基于活動葉輪轉動時的作用力對驅動源進行發電,并通過驅動源與驅動泵為電性連接,當污泥水體流入罐體內部的同時自動啟動驅動泵,利用驅動泵帶動藥劑液輸送至罐體的內部,并在停止對罐體內部輸送污泥水體時,活動葉輪停止轉動,從而使得驅動泵同時停止運行,并停止對罐體中進行輸送藥劑,從而可有效避免了藥劑的浪費。
有益效果
與現有技術相比,本發明提供了一種水處理污泥活化回流用混合反應設備,具備以下有益效果:
1、該水處理污泥活化回流用混合反應設備,該裝置通過驅動泵將藥劑液輸送至罐體的內部,使藥劑與污泥水體發生反應,并基于聚水管的斜角度設置使得污泥水體流出的同時會對活動扇葉產生撞擊,并將該作用力轉換成活動扇葉順時針自轉的作用力,隨著活動扇葉的轉動同時帶動上活動軸以及均勻桿同步進行順時針轉動,并利用均勻葉輪對污泥水體進行混合處理,從而提升藥劑與污泥水體的混合效率,充分發揮污泥的助凝效果。
2、該水處理污泥活化回流用混合反應設備,該裝置通過刮料板對罐體內壁上的污泥進行刮除,同時其外端的振動件會與振動環內壁上的凸塊不斷接觸,從而使得活動桿以及刮料板產生振動頻率,進而可加強對罐體內壁污泥的刮除效果,同時提升藥劑與污泥水體的混合目的,使其形成高密度細小均勻顆粒,提升回流污泥的助凝作用。
3、該水處理污泥活化回流用混合反應設備,該裝置通過上活動軸、下活動軸、轉換部件、齒輪組、軸承、傳動齒輪和齒輪環之間的配合作用,使得兩組齒輪組中的傳動齒輪相互嚙合傳動,并使下活動軸的轉動方向與上活動軸的轉動方向呈相反狀態,并形成逆時針轉動方向,且通過軸承的設置,可使得轉換部件不受上活動軸以及下活動軸的轉動力影響,達到上活動軸以及下活動軸進行轉動且轉換部件固定不動的效果。
4、該水處理污泥活化回流用混合反應設備,該裝置通過輸送螺旋桿帶動堆積在罐體底部的污泥向上進行輸送,避免其堆積在罐體底部,并通過固定殼外側的出料口進行排出,通過輸送螺旋桿將污泥呈逆時針轉動方向并甩出,并使得污泥與順時針轉動的均勻葉輪相互接觸,從而可加強對污泥的混合效果,從而進一步提升藥劑與污泥水體的混合效率,充分發揮污泥的助凝效果,提高絮凝沉淀系統的處理效果。
5、該水處理污泥活化回流用混合反應設備,該裝置通過驅動源與驅動泵為電性連接,當污泥水體流入罐體內部的同時自動啟動驅動泵,利用驅動泵帶動藥劑液輸送至罐體的內部,并在停止對罐體內部輸送污泥水體時,活動葉輪停止轉動,從而使得驅動泵同時停止運行,并停止對罐體中進行輸送藥劑,從而可有效避免了藥劑的浪費,進一步提升對污泥水體的處理效果,并有效提高絮凝沉淀系統的處理效果。
(發明人:葉雁飛;黃華;耿克達;黃原成;王林)






