公布日:2024.04.30
申請日:2024.01.13
分類號:C02F3/04(2023.01)I;C02F3/10(2023.01)I
摘要
本發明屬于生物滴濾設備技術領域,且公開了一種生物滴濾塔污水除臭裝置及方法,包括外殼體內腔中部固設有固定環;生物處理組件,包括抵接在固定環上端的格柵板,格柵板上端盤繞設置有由若干個碳質填料塊通過橡膠管穿成的碳質填料鏈,橡膠管表面開設有若干個用于出水的開孔,至少兩個生物處理組件相互堆疊,使上端生物處理組件位于外殼體中上部;噴淋組件,包括固設在上套殼內壁兩側的固定桿一,固定桿一的中部固定有密封套,密封套下端內腔轉動設置有用于噴淋的空心灑盤。具有增加更換碳質填料結構與生物滴濾塔密封性的同時增加儲存裝置空間的利用率也使碳質填料更好的進行回收,本裝置的噴淋裝置不需要使用電力驅動旋轉有效降低裝置的使用成本。

權利要求書
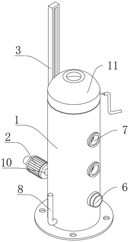
1.一種生物滴濾塔污水除臭裝置,包括連通固定在外殼體(1)一側下端的進風管(6),所述外殼體(1)下端與進風管(6)相對位置貫穿固定有延伸至外殼體(1)內腔底部的抽水管(10),所述抽水管(10)一端固設有水泵(2),所述外殼體(1)表面與進風管(6)相對位置間隔設置有用于觀察外殼體(1)內部的透明觀察窗(7),其特征在于:所述外殼體(1)外表面一側設置有驅動上套殼(11)縱向移動的升降機構(3);所述外殼體(1)內腔中部固設有固定環(9);生物處理組件(5),包括抵接在固定環(9)上端的格柵板(51),所述格柵板(51)上端盤繞設置有由若干個碳質填料塊(52)通過橡膠管(55)穿成的碳質填料鏈,所述橡膠管(55)表面開設有若干個用于出水的開孔,至少兩個所述生物處理組件(5)相互堆疊,使上端所述生物處理組件(5)位于外殼體(1)中上部。
2.根據權利要求1所述的生物滴濾塔污水除臭裝置,其特征在于:所述生物處理組件(5)還包括等分環繞固設在格柵板(51)上端的四根支撐桿(53),位于上側所述生物處理組件(5)的格柵板(51)坐落在另一所述生物處理組件(5)的四根支撐桿(53)上實現堆疊,所述碳質填料塊(52)盤繞在四根所述支撐桿(53)之間,且盤繞的碳質填料塊(52)高度低于支撐桿(53)的高度。
3.根據權利要求1所述的生物滴濾塔污水除臭裝置,其特征在于:所述橡膠管(55)貫穿設置在碳質填料塊(52)中部的通孔(56)內,所述橡膠管(55)一端為封閉狀,另一端固設連通有集水罩(54),所述集水罩(54)位于盤繞的碳質填料塊(52)上端的一側并與外殼體(1)內腔抵接。
4.根據權利要求1所述的生物滴濾塔污水除臭裝置及方法,其特征在于:所述上套殼(11)的內腔設置有噴淋組件(4),所述噴淋組件(4)包括固設在上套殼(11)內壁兩側的固定桿一(41),所述固定桿一(41)的中部固定有密封套(42),所述密封套(42)下端內腔轉動設置有用于噴淋的空心灑盤(43),所述空心灑盤(43)的直徑小于外殼體(1)的內徑。
5.根據權利要求4所述的生物滴濾塔污水除臭裝置,其特征在于:所述密封套(42)的中部的中上部貫穿固定有與葉片(44)傾斜相對的進水管(47),所述進水管(47)遠離葉片(44)一端貫穿固定外殼體(1)并延伸至外部。
6.根據權利要求5所述的生物滴濾塔污水除臭裝置,其特征在于:所述空心灑盤(43)位于碳質填料塊(52)的上端,且碳質填料塊(52)下端環繞均勻固設有與空心灑盤(43)內腔連通的噴嘴(48)。
7.根據權利要求1所述的生物滴濾塔污水除臭裝置,其特征在于:所述升降機構(3)包括固設在外殼體(1)表面的立桿(31),所述立桿(31)面向外殼體(1)的一側中部開設有供滑塊(33)縱向滑動的縱槽(32),所述滑塊(33)下端與縱槽(32)內腔底部之間固設有多級電推桿(34)。
8.根據權利要求1所述的生物滴濾塔污水除臭裝置,其特征在于:所述外殼體(1)內腔下端為儲水部,所述外殼體(1)外部貫穿固定有連通器(8),且連通器(8)一端位于儲水部內,所述進風管(6)設置在靠近固定環(9)的位置并與外殼體(1)內嵌底部留有儲水空間。
9.根據權利要求4所述的生物滴濾塔污水除臭裝置,其特征在于:所述噴淋組件(4)還包括固設在空心灑盤(43)上端凸管內壁兩端的固定桿二(46),所述固定桿二(46)上端中部固設有與密封套(42)內腔頂端通過軸承轉動設置的連軸(45),所述連軸(45)表面環繞等分固設有葉片(44),所述空心灑盤(43)上端凸管的上端面位于密封套(42)的中部。
10.根據權利要求1-9任一所述的生物滴濾塔污水除臭裝置的方法,其特征在于:包括以下步驟:SO1、供水裝置將污水通過進水管(47)噴出并推動葉片(44)旋轉,葉片(44)通過連軸(45)帶動固定桿二(46)旋轉進而帶動空心灑盤(43)旋轉,污水在空心灑盤(43)內聚集并通過若干個噴嘴(48)將污水均勻的噴出;S02、對污水進行微生物處理時:污水首先流淌在上層生物處理組件(5)的碳質填料塊(52)表面,微生物對碳質填料塊(52)表面的污水進行處理,少部分污水經過集水罩(54)并通過橡膠管(55)的開孔流到碳質填料塊(52)中部的通孔(56),通孔(56)內也會有若干大小不一的孔洞,污水同樣會附著在上面;處理后的污水進入到外殼體1內腔底部的儲存部,隨后水泵(2)通過抽水管(10)將處理后的污水抽出,供氣裝置通過進風管(6)將含有氧氣的空氣送入至滴濾塔內為微生物提供氧氣;S03、碳質填料塊(52)需要更換時:通過多級電推桿(34)帶動滑塊(33)在立桿(31)的縱槽(32)內移動,從而帶動上套殼(11)向上移動并與外殼體(1)分離,吊裝裝置的掛鉤掛在支撐桿(53)的孔洞內,從而將整個生物處理組件(5)吊起并脫離外殼體(1)內腔,此時吊裝裝置移動可以將生物處理組件(5)移動并回收,位于外殼體(1)內部的生物處理組件(5)以同樣的吊裝方式進行拆卸;更換后的生物處理組件(5)放置在回收區時,將集水罩(54)拿起并固定在收卷輥上,收卷輥旋轉通過橡膠管(55)將若干個碳質填料塊(52)像纏繞鐵鏈一樣纏繞在收卷輥的表面。
發明內容
為解決上述背景技術中提出的問題,本發明提供了生物滴濾塔污水除臭裝置及方法,具有增加更換碳質填料結構與生物滴濾塔密封性的同時增加儲存裝置空間的利用率也使碳質填料更好的進行回收,本裝置的噴淋裝置不需要使用電力驅動旋轉有效降低裝置的使用成本的優點。
為實現上述目的,本發明提供如下技術方案:生物滴濾塔污水除臭裝置及方法,包括連通固定在外殼體一側下端的進風管,所述外殼體下端與進風管相對位置貫穿固定有延伸至外殼體內腔底部的抽水管,所述抽水管一端固設有水泵,所述外殼體表面與進風管相對位置間隔設置有用于觀察外殼體內部的透明觀察窗所述外殼體外表面一側設置有驅動上套殼縱向移動的升降機構。
所述外殼體內腔中部固設有固定環;
生物處理組件,包括抵接在固定環上端的格柵板,所述格柵板上端盤繞設置有由若干個碳質填料塊通過橡膠管穿成的碳質填料鏈,所述橡膠管表面開設有若干個用于出水的開孔,至少兩個所述生物處理組件相互堆疊,使上端所述生物處理組件位于外殼體中上部。
優選地,所述生物處理組件還包括等分環繞固設在格柵板上端的四根支撐桿,位于上側所述生物處理組件的格柵板坐落在另一所述生物處理組件的四根支撐桿上實現堆疊,所述碳質填料塊盤繞在四根所述支撐桿之間,且盤繞的碳質填料塊高度低于支撐桿的高度。
優選地,所述橡膠管貫穿設置在碳質填料塊中部的通孔內,所述橡膠管一端為封閉狀,另一端固設連通有集水罩,所述集水罩位于盤繞的碳質填料塊上端的一側并與外殼體內腔抵接。
優選地,所述上套殼的內腔設置有噴淋組件,所述噴淋組件包括固設在上套殼內壁兩側的固定桿一,所述固定桿一的中部固定有密封套,所述密封套下端內腔轉動設置有用于噴淋的空心灑盤,所述空心灑盤的直徑小于外殼體的內徑。
優選地,所述密封套的中部的中上部貫穿固定有與葉片傾斜相對的進水管,所述進水管遠離葉片一端貫穿固定外殼體并延伸至外部。
優選地,所述空心灑盤位于碳質填料塊的上端,且碳質填料塊下端環繞均勻固設有與空心灑盤內腔連通的噴嘴。
優選地,所述升降機構包括固設在外殼體表面的立桿,所述立桿面向外殼體的一側中部開設有供滑塊縱向滑動的縱槽,所述滑塊下端與縱槽內腔底部之間固設有多級電推桿。
優選地,所述外殼體內腔下端為儲水部,所述外殼體外部貫穿固定有連通器,且連通器一端位于儲水部內,所述進風管設置在靠近固定環的位置并與外殼體內嵌底部留有儲水空間。
優選地,所述噴淋組件還包括固設在空心灑盤上端凸管內壁兩端的固定桿二,所述固定桿二上端中部固設有與密封套內腔頂端通過軸承轉動設置的連軸,所述連軸表面環繞等分固設有葉片,所述空心灑盤上端凸管的上端面位于密封套的中部。
綜上所述的生物滴濾塔污水除臭裝置的方法,包括以下步驟:
SO1、供水裝置將污水通過進水管噴出并推動葉片旋轉,葉片通過連軸帶動固定桿二旋轉進而帶動空心灑盤旋轉,污水在空心灑盤內聚集并通過若干個噴嘴將污水均勻的噴出。
S02、對污水進行微生物處理時:
污水首先流淌在上層生物處理組件的碳質填料塊表面,微生物對碳質填料塊表面的污水進行處理,少部分污水經過集水罩并通過橡膠管的開孔流到碳質填料塊中部的通孔,通孔內也會有若干大小不一的孔洞,污水同樣會附著在上面。
處理后的污水進入到外殼體內腔底部的儲存部,隨后水泵通過抽水管將處理后的污水抽出,供氣裝置通過進風管將含有氧氣的空氣送入至滴濾塔內為微生物提供氧氣。
S03、碳質填料塊需要更換時:
通過多級電推桿帶動滑塊在立桿的縱槽內移動,從而帶動上套殼向上移動并與外殼體分離,吊裝裝置的掛鉤掛在支撐桿的孔洞內,從而將整個生物處理組件吊起并脫離外殼體內腔,此時吊裝裝置移動可以將生物處理組件移動并回收,位于外殼體內部的生物處理組件以同樣的吊裝方式進行拆卸。
本發明的有益效果是:
1、進水管噴出污水推動葉片旋轉,連軸通過固定桿二帶動空心灑盤旋轉,污水在空心灑盤內聚集并通過若干個噴嘴將污水均勻的噴出,使污水全面的對盤繞的碳質填料進行覆蓋,進而提高微生物處理的效果,該噴淋裝置不需要使用電力驅動旋轉有效降低裝置的使用成本。
2、吊裝裝置的掛鉤掛在支撐桿的孔洞內,從而將整個生物處理組件吊起并脫離外殼體內腔,吊裝裝置移動可以將生物處理組件移動并回收,將集水罩拿起并固定在收卷輥上圖中未展示,收卷輥旋轉通過橡膠管將若干個碳質填料像纏繞鐵鏈一樣纏繞在收卷輥的表面,此種回收設置便于對碳質填料進行回收、儲存以及運輸。
3、污水通過橡膠管的開孔流到碳質填料塊中部的通孔,通孔內也會有若干大小不一的孔洞,因此,該設置有效增加微生物附著的面積,進一步提高污水處理效果。
(發明人:馬聰;陳亮;陳奕齊;吳偉;李云舒;葉飛;余淑蓉;王筱萌;陳谷;林臻;楊宇強)






