公布日:2023.11.10
申請日:2023.10.09
分類號:C02F1/52(2023.01)I;C02F1/00(2023.01)I;C02F103/38(2006.01)N
摘要
本發明涉及廢水處理技術領域,公開了一種橡膠生產廢水處理器,包括殼體,殼體的頂部開設有第二穿孔和第三穿孔,殼體的內部安裝有層板,所述殼體的頂部外壁安裝有安裝座,安裝座的一側安裝有伸縮部件,本發明使用時,廢水中的雜質滯留在升降網板上,可通過伸縮部件推動升降網板向下移動,此時活動擋板在底部水流壓力下向上翻轉,此時廢水在升降網板的按壓下經第一穿孔流動至空腔內,空腔內的廢水在壓力作用下向回流管的開口處流動,此時輸送泵向儲液腔內注入定量絮凝劑,絮凝劑經出液管注入空腔內并與廢水混合后,經回流管導流至殼體內的頂部,多次重復操作,可將廢水有效的混凝沉淀和過濾,保證對廢水的處理效果。

權利要求書
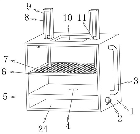
1.一種橡膠生產廢水處理器,包括殼體(1),殼體(1)的頂部開設有第二穿孔(10)和第三穿孔(11),殼體(1)的內部安裝有層板(5),用于對殼體(1)的內部空間進行分隔,其特征在于,所述殼體(1)的頂部外壁安裝有安裝座(9),安裝座(9)的一側安裝有伸縮部件(8),伸縮部件(8)活塞桿的一端經第三穿孔(11)延伸至殼體(1)的內部,伸縮部件(8)延伸至殼體(1)內部的一端安裝有水平設置的升降網板(6),升降網板(6)上開設有均勻分布的網孔(7);所述網孔(7)的兩側內壁均活動安裝有活動擋板(13),活動擋板(13)的底部通過安裝彈簧(16)與網孔(7)的內壁連接;所述網孔(7)內壁的頂部設置有限位塊(12),用于對活動擋板(13)的翻轉進行限位,避免活動擋板(13)在網孔(7)內向上翻轉;所述層板(5)的內部開設有空腔(17),空腔(17)的頂部中間位置開設有第一穿孔(4);所述殼體(1)的兩側外壁均設置有U型結構的回流管(3),回流管(3)的一端延伸至空腔(17)的內部,回流管(3)的另一端延伸至殼體(1)內部的頂部,用于在升降網板(6)向下移動將殼體(1)內的廢水按壓至空腔(17)內時,將空腔(17)內的廢水導流至殼體(1)內部的頂部;所述殼體(1)的底部設置有儲液腔(24),所述殼體(1)的側壁設置有輸送泵(2),用于向儲液腔(24)內注入絮凝劑;所述空腔(17)的底部內壁設置有傾斜設置的出液管(21),用于在廢水在空腔(17)內流動時,將儲液腔(24)內的絮凝劑導流至空腔(17)內,所述空腔(17)的內部安裝有分隔板(18),分隔板(18)位于第一穿孔(4)開口的中空位置,用于對空腔(17)內的空間進行分隔,所述層板(5)的底部安裝有固定座(19),固定座(19)的側面通過彈簧安裝有延伸繩(20),延伸繩(20)貫穿設置在出液管(21)的內部,延伸繩(20)延伸至空腔(17)內的一端安裝有弧形部件(23);所述弧形部件(23)的內弧面為靠近第一穿孔(4)開口的一側,所述延伸繩(20)位于空腔(17)內的一端套設有密封塊(22),密封塊(22)的外徑和出液管(21)的開口內徑相適配。
2.根據權利要求1所述的一種橡膠生產廢水處理器,其特征在于,所述網孔(7)內壁開設有傾斜設置的導流孔(14),導流孔(14)的開口位于活動擋板(13)的底部,導流孔(14)遠離活動擋板(13)的一端開口位于升降網板(6)的底部。
3.根據權利要求2所述的一種橡膠生產廢水處理器,其特征在于,所述導流孔(14)靠近活動擋板(13)的一端開口內徑小于導流孔(14)遠離活動擋板(13)的一端開口內徑。
4.根據權利要求3所述的一種橡膠生產廢水處理器,其特征在于,所述活動擋板(13)的底部開設有凹槽(15),用于增大活動擋板(13)底部與廢水的接觸面積。
發明內容
本發明的目的是為了解決現有技術中存在的缺點,而提出的一種橡膠生產廢水處理器。
為了實現上述目的,本發明采用了如下技術方案:
一種橡膠生產廢水處理器,包括殼體,殼體的頂部開設有第二穿孔和第三穿孔,殼體的內部安裝有層板,用于對殼體的內部空間進行分隔,所述殼體的頂部外壁安裝有安裝座,安裝座的一側安裝有伸縮部件,伸縮部件活塞桿的一端經第三穿孔延伸至殼體的內部,伸縮部件延伸至殼體內部的一端安裝有水平設置的升降網板,升降網板上開設有均勻分布的網孔;所述網孔的兩側內壁均活動安裝有活動擋板,活動擋板的底部通過安裝彈簧與網孔的內壁連接;所述網孔內壁的頂部設置有限位塊,用于對活動擋板的翻轉進行限位,避免活動擋板在網孔內向上翻轉;所述層板的內部開設有空腔,空腔的頂部中間位置開設有第一穿孔;所述殼體的兩側外壁均設置有U型結構的回流管,回流管的一端延伸至空腔的內部,回流管的另一端延伸至殼體內部的頂部,用于在升降網板向下移動將殼體內的廢水按壓至空腔內時,將空腔內的廢水導流至殼體內部的頂部;所述殼體的底部設置有儲液腔,所述殼體的側壁設置有輸送泵,用于向儲液腔內注入絮凝劑;所述空腔的底部內壁設置有傾斜設置的出液管,用于在廢水在空腔內流動時,將儲液腔內的絮凝劑導流至空腔內。
優選的,所述空腔的內部安裝有分隔板,分隔板位于第一穿孔開口的中空位置,用于對空腔內的空間進行分隔。
優選的,所述層板的底部安裝有固定座,固定座的側面通過彈簧安裝有延伸繩,延伸繩貫穿設置在出液管的內部,延伸繩延伸至空腔內的一端安裝有弧形部件;所述弧形部件的內弧面為靠近第一穿孔開口的一側。
優選的,所述延伸繩位于空腔內的一端套設有密封塊,密封塊的外徑和出液管的開口內徑相適配。
優選的,所述網孔內壁開設有傾斜設置的導流孔,導流孔的開口位于活動擋板的底部,導流孔遠離活動擋板的一端開口位于升降網板的底部。
優選的,所述導流孔靠近活動擋板的一端開口內徑小于導流孔遠離活動擋板的一端開口內徑。
優選的,所述活動擋板的底部開設有凹槽,用于增大活動擋板底部與廢水的接觸面積。
本發明的有益效果為:
使用時,將待處理的廢水經第二穿孔倒入殼體內,伸縮部件帶動升降網板向上移動,此時活動擋板在頂部水流壓力下向下翻轉,升降網板對廢水進行過濾,廢水中的雜質滯留在升降網板上,廢水經網孔流動至升降網板的底部,清除升降網板上的雜質后,可通過伸縮部件推動升降網板向下移動,此時活動擋板在底部水流壓力下向上翻轉,限位塊對活動擋板的向上翻轉進行限位,保證活動擋板保持水平設置,此時廢水在升降網板的按壓下經第一穿孔流動至空腔內,空腔內的廢水在壓力作用下向回流管的開口處流動,此時輸送泵向儲液腔內注入定量絮凝劑,絮凝劑經出液管注入空腔內并與廢水混合后,經回流管導流至殼體內的頂部,當升降網板移動至與層板的頂部接觸時,廢水和絮凝劑均被擠壓至殼體內部的頂部,廢水凝聚沉淀后,通過伸縮部件帶動升降網板向上移動,此時凝聚的沉淀物被過濾在升降網板的頂部,多次重復操作,可將廢水有效的混凝沉淀和過濾,保證對廢水的處理效果。
(發明人:李鳳華;王月虹)






