公布日:2023.10.13
申請日:2023.08.25
分類號:C02F3/30(2023.01)I;C02F101/16(2006.01)N
摘要
本發明公開一種城市尾水深度脫氮反應器,反應器本體內分為下部缺氧層和上部好氧層,缺氧層底部設置伸入反應器本體的進水管,進水管末端連接布水器;好氧層底部設置曝氣管和曝氣裝置,好氧層內部有填料,好氧層側壁設置澄清裝置,澄清裝置與好氧層連通,澄清裝置的上部設有出水管;反應器本體內部設置污泥氣提管,污泥氣提管上端接近好氧層頂部,下端靠近缺氧層底部。本發明在相同處理規模下其占地面積小于重力流式反硝化濾池,克服傳統反硝化濾池工藝占地面積大的問題。

權利要求書
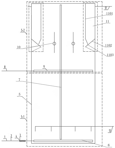
1.一種城市尾水深度脫氮反應器,包括反應器本體(5),其特征在于:反應器本體(5)內分為下部缺氧層(5-1)和上部好氧層(5-2),缺氧層(5-1)底部設置進水管(1),進水管(1)上連接碳源精準加藥裝置(3),進水管(1)末端伸入反應器本體內并連接布水器(6);好氧層(5-2)底部設置曝氣管(8)和曝氣裝置(9),好氧層(5-2)內部有填料(10),好氧層(5-2)側壁設置澄清裝置(11),澄清裝置(11)與好氧層(5-2)連通,澄清裝置(11)的上部設有出水管(12);反應器本體(5)內部設置從缺氧層氣提污泥至好氧層的污泥氣提管(7),污泥氣提管(7)上端接近好氧層(5-2)頂部,下端靠近缺氧層(5-1)底部。
2.根據權利要求1所述一種城市尾水深度脫氮反應器,其特征在于:所述澄清裝置(11)包括豎板(1101)和斜板(1102),豎板(1101)與斜板(1102)之間有流體通道(1103),豎板(1101)上端固定在反應器本體(5)頂部,豎板(1101)下端向斜板(1102)折彎,斜板(1102)上端固定在反應器本體(5)的側壁上。
3.根據權利要求1所述一種城市尾水深度脫氮反應器,其特征在于:缺氧層(5-1)底部還設置排泥管(13)。
4.根據權利要求1所述一種城市尾水深度脫氮反應器,其特征在于:污泥氣提管(7)多于一根。
5.根據權利要求1所述一種城市尾水深度脫氮反應器,其特征在于:進水管(1)上連接硝酸鹽在線分析設備(2)。
6.根據權利要求1所述一種城市尾水深度脫氮反應器,其特征在于:進水管(1)上連接管道混合器(4)。
7.根據權利要求1所述一種城市尾水深度脫氮反應器,其特征在于:所述填料(10)為固定類型填料或懸浮類型填料。
8.根據權利要求7所述一種城市尾水深度脫氮反應器,其特征在于:所述填料(10)為懸浮類型填料時,缺氧層(5-1)和好氧層(5-2)之間設置有孔的隔板,隔板上的孔徑可供泥水通過,填料通不過。
發明內容
針對現有技術中存在的上述問題,本發明提供一種占地面積小,處理后的出水TN降至5mg/L以下的城市尾水深度脫氮反應器。
本發明的目的是以下述方式實現的:一種城市尾水深度脫氮反應器,包括反應器本體,反應器本體內分為下部缺氧層和上部好氧層,缺氧層底部設置進水管,進水管上連接碳源精準加藥裝置,進水管末端伸入反應器本體內并連接布水器;好氧層底部設置曝氣管和曝氣裝置,好氧層內部有填料,好氧層側壁設置澄清裝置,澄清裝置與好氧層連通,澄清裝置的上部設有出水管;反應器本體內部設置從缺氧層氣提污泥至好氧層的污泥氣提管,污泥氣提管上端接近好氧層頂部,下端靠近缺氧層底部。
所述澄清裝置包括豎板和斜板,豎板與斜板之間有流體通道,豎板上端固定在反應器本體頂部,豎板下端向斜板折彎,斜板上端固定在反應器本體的側壁上。
缺氧層底部還設置排泥管。
污泥氣提管多于一根。
進水管上連接硝酸鹽在線分析設備。
進水管上連接管道混合器。
所述填料為固定類型填料或懸浮類型填料。
所述填料為懸浮類型填料時,缺氧層和好氧層之間設置有孔的隔板,隔板上的孔徑可供泥水通過,填料通不過。
相對于現有技術,本發明采用下進水上出水的水處理流程,缺氧層和好氧層無縫串連,相同處理規模下其占地面積小于重力流式反硝化濾池,克服傳統反硝化濾池工藝占地面積大的問題。好氧層采用接觸氧化模式,通過在反應器本體內部設置污泥氣提管,將缺氧層的污泥提升至好氧層,與好氧層的填料充分接觸,保證好氧層所需的微生物量及污泥濃度;通過澄清裝置可將污泥截留在好氧層中,好氧層中多余的污泥會自滑入缺氧層,從而保證好氧層和缺氧層所需的污泥濃度;不僅可以高效去除城市尾水中的硝態氮,也能保證氨氮和COD的達標排放。另外,不需要單獨設置驅氮裝置,同時節約投資造價。
(發明人:黃曉輝;楊一鳴;張彥召;柳世樂;劉怡冰)






