公布日:2024.06.14
申請日:2024.04.08
分類號:C02F3/30(2023.01)I
摘要
本發明涉及一種復合式尾水脫氮濾池系統及方法,其中反應池組包括兩組池體單元,并且兩組池體單元之間設有安裝區,進水槽和出水槽分設于安裝區兩端,池體單元包括進水區、第一濾料區、第二濾料區和清水區,進水區通過進水管路與進水槽連接,且進水管路上設有加藥管路,反應池組兩側均設有清水渠與出水槽連通,池體單元一側設有排泥渠與對應側的清水渠連通,第一濾料區和第二濾料區均設有好氧菌和厭氧菌,且第二濾料區通過循環管路與進水管路相連,第一濾料區下端和第二濾料區下端均設有曝氣頭管盤。本發明可以處理二沉池出水的硝態氮超標、氨氮超標或硝態氮和氨氮同時超標三種情況,并且各個池體單元均為獨立工作,能夠保證系統不間斷連續作業。

權利要求書
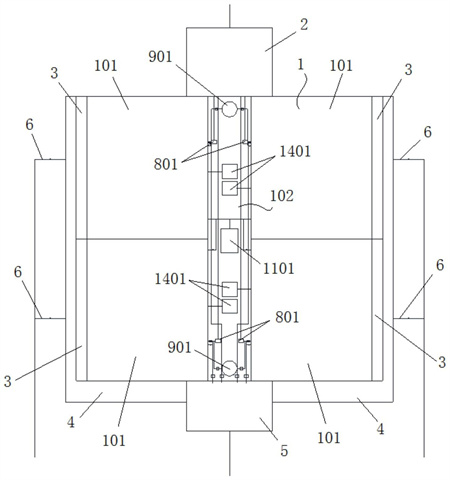
1.一種復合式尾水脫氮濾池系統,其特征在于:包括反應池組(1)、進水槽(2)和出水槽(5),其中反應池組(1)包括對稱設置的兩組池體單元(101),并且兩組池體單元(101)之間設有安裝區(102),反應池組(1)一側設有進水槽(2),另一側設有出水槽(5),并且所述進水槽(2)和出水槽(5)分設于所述安裝區(102)兩端,各個池體單元(101)結構相同,均包括由下到上依次設置的進水區(710)、第一濾料區(703)、第二濾料區(706)和清水區(707),其中每個池體單元(101)的進水區(710)分別通過對應的進水管路(8)與所述進水槽(2)連接,并且每個進水管路(8)上均設有加藥管路(9),反應池組(1)兩側均設有清水渠(4),并且兩側的清水渠(4)均與所述出水槽(5)連通,每個池體單元(101)遠離所述安裝區(102)一側均設有排泥渠(3),并且所述排泥渠(3)與對應側的清水渠(4)連通,所述池體單元(101)的第一濾料區(703)內部和第二濾料區(706)內部均設有好氧菌和厭氧菌,并且所述第二濾料區(706)通過對應的循環管路(13)與對應的進水管路(8)相連,所述第一濾料區(703)下端設有第一曝氣頭管盤(1407),所述第二濾料區(706)下端設有第二曝氣頭管盤(1408)。
2.根據權利要求1所述的復合式尾水脫氮濾池系統,其特征在于:所述進水管路(8)上沿著進水方向依次設有進水泵(801)、進水控制閥(802)和混合器(803),所述進水管路(8)位于所述進水區(710)部分為進水布水管盤(804)。
3.根據權利要求2所述的復合式尾水脫氮濾池系統,其特征在于:所述加藥管路(9)輸入端與加藥桶(901)連接,所述加藥管路(9)上沿著藥物傳輸方向依次設有加藥泵(902)和加藥控制閥(903),所述加藥管路(9)輸出端與混合器(803)輸入側的進水管路(8)連接。
4.根據權利要求2所述的復合式尾水脫氮濾池系統,其特征在于:所述循環管路(13)上設有循環泵(1301)和循環控制閥(1302)。
5.根據權利要求4所述的復合式尾水脫氮濾池系統,其特征在于:所述進水管路(8)上設有反沖洗水管路(12),并且所述反沖洗水管路(12)的輸入端與出水槽(5)連接,所述反沖洗水管路(12)上依次設有反沖洗水泵(1201)和反沖洗水控制閥(1202),所述排泥渠(3)下側與反沖洗排管(6)連接,并且所述反沖洗排管(6)上設有反沖洗排管控制閥(601),所述進水區(710)內設有反沖洗氣布氣管盤(1103),并且所述反沖洗氣布氣管盤(1103)通過反沖洗氣管路(11)與反沖洗風機(1101)連接,所述反沖洗氣管路(11)上設有反沖洗氣控制閥(1102)。
6.一種根據權利要求5所述的復合式尾水脫氮濾池系統的反沖洗方法,其特征在于:反沖洗水泵(1201)和反沖洗水控制閥(1202)開啟,進水管路(8)上的進水控制閥(802)和循環管路(13)上的循環控制閥(1302)均關閉,反沖洗排管(6)上的反沖洗排管控制閥(601)開啟,出水槽(5)內的反沖洗水通過反沖洗水泵(1201)作用進入進水管路(8)中,并依次經過所述混合器(803)和池體單元(101)的進水區(710)、第一濾料區(703)、第二濾料區(706)和清水區(707)后進入排泥渠(3)中,并且反沖洗水沿著反沖洗排管(6)排走,所述反沖洗排管控制閥(601)為流量控制閥以控制排泥渠(3)內的水位使反沖洗水不進入清水渠(4)中。
7.一種根據權利要求5所述的復合式尾水脫氮濾池系統的反沖洗方法,其特征在于:反沖洗水泵(1201)和反沖洗水控制閥(1202)開啟,進水管路(8)上的進水控制閥(802)關閉,反沖洗排管(6)上的反沖洗排管控制閥(601)開啟,出水槽(5)內的反沖洗水通過反沖洗水泵(1201)作用輸入池體單元(101)中,并且輸入一段時間后,所述反沖洗水泵(1201)和反沖洗水控制閥(1202)關閉,所述循環管路(13)上的循環泵(1301)和循環控制閥(1302)開啟,并且所述循環泵(1301)驅動池體單元(101)內的反沖洗水在混合器(803)、進水區(710)、第一濾料區(703)和第二濾料區(706)之間進行循環清洗,清洗一段時間后,循環泵(1301)和循環控制閥(1302)關閉,反沖洗水泵(1201)和反沖洗水控制閥(1202)重新開啟,池體單元(101)內的反沖洗水通過反沖洗水泵(1201)作用進入排泥渠(3)中并經由反沖洗排管(6)排走,所述反沖洗排管控制閥(601)為流量控制閥以控制排泥渠(3)內的水位使反沖洗水不進入清水渠(4)中。
8.根據權利要求1所述的復合式尾水脫氮濾池系統,其特征在于:所述第一曝氣頭管盤(1407)和第二曝氣頭管盤(1408)通過曝氣管路(14)供氣,其中所述曝氣管路(14)的輸入端與曝氣風機(1401)連接,所述曝氣管路(14)的輸出端分成第一曝氣支管(1403)和第二曝氣支管(1402),并且第一曝氣支管(1403)與第一曝氣頭管盤(1407)連接,第二曝氣支管(1402)與第二曝氣頭管盤(1408)連接,所述曝氣風機(1401)輸出側的曝氣管路(14)上設有曝氣總控制閥(1404),所述第一曝氣支管(1403)上設有第一曝氣控制閥(1406),所述第二曝氣支管(1402)上設有第二曝氣控制閥(1405)。
9.根據權利要求1所述的復合式尾水脫氮濾池系統,其特征在于:所述第一濾料區(703)與所述進水區(710)之間設有第一透水分隔層(702),并且所述第一曝氣頭管盤(1407)設于所述第一透水分隔層(702)中,所述第二濾料區(706)與所述第一濾料區(703)之間設有第二透水分隔層(705),并且所述第二曝氣頭管盤(1408)設于所述第二透水分隔層(705)中;所述第一透水分隔層(702)下側設有第一濾板(701),并且所述第一濾板(701)下側垂直設有多個濾頭板(7011),所述第二透水分隔層(705)下側設有第二濾板(704)。
10.一種根據權利要求1所述的復合式尾水脫氮濾池系統的處理方法,其特征在于:當進水槽(2)來水為硝態氮超標時,第一曝氣頭管盤(1407)和第二曝氣頭管盤(1408)均為停止曝氣狀態,加藥管路(9)開啟輸入碳源有機質,循環管路(13)處于關閉狀態,第一濾料區(703)和第二濾料區(706)均呈缺氧狀態,在缺氧環境下,經過一段時間培養后,第一濾料區(703)和第二濾料區(706)內用于處理硝態氮的厭氧菌成為優勢菌;當進水槽(2)來水為氨氮超標時,第一曝氣頭管盤(1407)和第二曝氣頭管盤(1408)均為曝氣狀態,加藥管路(9)和循環管路(13)均處于關閉狀態,第一濾料區(703)和第二濾料區(706)均呈有氧狀態,在有氧環境下,經過一段時間培養后,第一濾料區(703)和第二濾料區(706)內用于處理氨氮的好氧菌成為優勢菌;當進水槽(2)來水為氨氮、硝態氮都超標時,第一曝氣頭管盤(1407)為停止曝氣狀態,第二曝氣頭管盤(1408)為曝氣狀態,加藥管路(9)開啟輸入碳源有機質,此時第一濾料區(703)為缺氧狀態,第二濾料區(706)為有氧狀態,經過一段時間培養后,第一濾料區(703)內用于處理硝態氮的厭氧菌成為優勢菌,第二濾料區(706)內用于處理氨氮的好氧菌將成為優勢菌,并且氨氮在第二濾料區(706)內轉化為硝態氮,循環管路(13)啟動使第二濾料區(706)內的水重新流入進水管路(8)并進入第一濾料區(703)中,硝態氮在第一濾料區(703)內轉化為氮氣。
發明內容
本發明的目的在于提供一種復合式尾水脫氮濾池系統及方法,其可以處理二沉池出水的硝態氮超標、氨氮超標或硝態氮和氨氮同時超標三種情況,并且各個池體單元均為獨立工作,能夠保證系統不間斷連續作業。
本發明的目的是通過以下技術方案來實現的:
一種復合式尾水脫氮濾池系統,包括反應池組、進水槽和出水槽,其中反應池組包括對稱設置的兩組池體單元,并且兩組池體單元之間設有安裝區,反應池組一側設有進水槽,另一側設有出水槽,并且所述進水槽和出水槽分設于所述安裝區兩端,各個池體單元結構相同,均包括由下到上依次設置的進水區、第一濾料區、第二濾料區和清水區,其中每個池體單元的進水區分別通過對應的進水管路與所述進水槽連接,并且每個進水管路上均設有加藥管路,反應池組兩側均設有清水渠,并且兩側的清水渠均與所述出水槽連通,每個池體單元遠離所述安裝區一側均設有排泥渠,并且所述排泥渠與對應側的清水渠連通,所述池體單元的第一濾料區內部和第二濾料區內部均設有好氧菌和厭氧菌,并且所述第二濾料區通過對應的循環管路與對應的進水管路相連,所述第一濾料區下端設有第一曝氣頭管盤,所述第二濾料區下端設有第二曝氣頭管盤。
所述進水管路上沿著進水方向依次設有進水泵、進水控制閥和混合器,所述進水管路位于所述進水區部分為進水布水管盤。
所述加藥管路輸入端與加藥桶連接,所述加藥管路上沿著藥物傳輸方向依次設有加藥泵和加藥控制閥,所述加藥管路輸出端與混合器輸入側的進水管路連接。
所述循環管路上設有循環泵和循環控制閥。
所述進水管路上設有反沖洗水管路,并且所述反沖洗水管路的輸入端與出水槽連接,所述反沖洗水管路上依次設有反沖洗水泵和反沖洗水控制閥,所述排泥渠下側與反沖洗排管連接,并且所述反沖洗排管上設有反沖洗排管控制閥,所述進水區內設有反沖洗氣布氣管盤,并且所述反沖洗氣布氣管盤通過反沖洗氣管路與反沖洗風機連接,所述反沖洗氣管路上設有反沖洗氣控制閥。
一種根據所述的復合式尾水脫氮濾池系統的反沖洗方法,具體為:反沖洗水泵和反沖洗水控制閥開啟,進水管路上的進水控制閥和循環管路上的循環控制閥均關閉,反沖洗排管上的反沖洗排管控制閥開啟,出水槽內的反沖洗水通過反沖洗水泵作用進入進水管路中,并依次經過所述混合器和池體單元的進水區、第一濾料區、第二濾料區和清水區后進入排泥渠中,并且反沖洗水沿著反沖洗排管排走,所述反沖洗排管控制閥為流量控制閥以控制排泥渠內的水位使反沖洗水不進入清水渠中。
一種根據所述的復合式尾水脫氮濾池系統的反沖洗方法,具體為:反沖洗水泵和反沖洗水控制閥開啟,進水管路上的進水控制閥關閉,反沖洗排管上的反沖洗排管控制閥開啟,出水槽內的反沖洗水通過反沖洗水泵作用輸入池體單元中,并且輸入一段時間后,所述反沖洗水泵和反沖洗水控制閥關閉,所述循環管路上的循環泵和循環控制閥開啟,并且所述循環泵驅動池體單元內的反沖洗水在混合器、進水區、第一濾料區和第二濾料區之間進行循環清洗,清洗一段時間后,循環泵和循環控制閥關閉,反沖洗水泵和反沖洗水控制閥重新開啟,池體單元內的反沖洗水通過反沖洗水泵作用進入排泥渠中并經由反沖洗排管排走,所述反沖洗排管控制閥為流量控制閥以控制排泥渠內的水位使反沖洗水不進入清水渠中。
所述第一曝氣頭管盤和第二曝氣頭管盤通過曝氣管路供氣,其中所述曝氣管路的輸入端與曝氣風機連接,所述曝氣管路的輸出端分成第一曝氣支管和第二曝氣支管,并且第一曝氣支管與第一曝氣頭管盤連接,第二曝氣支管與第二曝氣頭管盤連接,所述曝氣風機輸出側的曝氣管路上設有曝氣總控制閥,所述第一曝氣支管上設有第一曝氣控制閥,所述第二曝氣支管上設有第二曝氣控制閥。
所述第一濾料區與所述進水區之間設有第一透水分隔層,并且所述第一曝氣頭管盤設于所述第一透水分隔層中,所述第二濾料區與所述第一濾料區之間設有第二透水分隔層,并且所述第二曝氣頭管盤設于所述第二透水分隔層中;
所述第一透水分隔層下側設有第一濾板,并且所述第一濾板下側垂直設有多個濾頭板,所述第二透水分隔層下側設有第二濾板。
一種根據所述的復合式尾水脫氮濾池系統的處理方法,具體為:當進水槽來水為硝態氮超標時,第一曝氣頭管盤和第二曝氣頭管盤均為停止曝氣狀態,加藥管路開啟輸入碳源有機質,循環管路處于關閉狀態,第一濾料區和第二濾料區均呈缺氧狀態,在缺氧環境下,經過一段時間培養后,第一濾料區和第二濾料區內用于處理硝態氮的厭氧菌成為優勢菌;
當進水槽來水為氨氮超標時,第一曝氣頭管盤和第二曝氣頭管盤均為曝氣狀態,加藥管路和循環管路均處于關閉狀態,第一濾料區和第二濾料區均呈有氧狀態,在有氧環境下,經過一段時間培養后,第一濾料區和第二濾料區內用于處理氨氮的好氧菌成為優勢菌;
當進水槽來水為氨氮、硝態氮都超標時,第一曝氣頭管盤為停止曝氣狀態,第二曝氣頭管盤為曝氣狀態,加藥管路開啟輸入碳源有機質,此時第一濾料區為缺氧狀態,第二濾料區為有氧狀態,經過一段時間培養后,第一濾料區內用于處理硝態氮的厭氧菌成為優勢菌,第二濾料區內用于處理氨氮的好氧菌將成為優勢菌,并且氨氮在第二濾料區內轉化為硝態氮,循環管路啟動使第二濾料區內的水重新流入進水管路并進入第一濾料區中,硝態氮在第一濾料區內轉化為氮氣。
本發明的優點與積極效果為:
1、本發明在第一濾料區和第二濾料區內均設有好氧菌和厭氧菌,并且在第一濾料區下端和第二濾料區下端均設有曝氣頭管盤,本發明根據二沉池出水水質情況控制曝氣頭管盤曝氣,進而實現對應濾料區為缺氧或有氧狀態,其中二沉池出水硝態氮超標時,曝氣頭管盤為停止曝氣狀態,濾料區內形成缺氧環境,并且在缺氧環境下,濾料區內以反硝化細菌為代表的厭氧菌將成為優勢菌,且來水中有較多的硝態氮,因此反硝化細菌得到大量繁殖并實現污水處理,而二沉池出水氨氮超標時,曝氣頭管盤為曝氣狀態,濾料區內形成有氧環境,并且在有氧環境下,濾料區內以硝化細菌為代表的好氧菌將成為優勢菌,且來水中有較多的氨氮,因此硝化細菌得到大量繁殖并實現污水處理。
2、本發明通過設置一個循環管路配合實現處理二沉池出水氨氮、硝態氮都超標的情況,具體為:當二沉池出水氨氮、硝態氮都超標時,第一曝氣頭管盤為停止曝氣狀態,第二曝氣頭管盤為曝氣狀態,此時下側的第一濾料區為缺氧狀態,上側的第二濾料區為有氧狀態,經過一段時間培養后,第一濾料區內以反硝化細菌為代表的厭氧菌將成為優勢菌處理硝態氮超標情況,第二濾料區內以硝化細菌為代表的好氧菌將成為優勢菌處理氨氮超標情況,并且第二濾料區內水中的氨氮在硝化細菌作用下轉化為硝態氮,這樣第二濾料區內的水通過循環管路重新流入進水管路和第一濾料區中,混合液中的硝態氮在反硝化細菌的作用下轉化為氮氣,進而達到同時脫除氨氮和硝態氮的目的。
3、本發明各個池體單元均為獨立運作,這樣本發明可根據實際需要使不同池體單元的交替實現清洗,這樣便可以保證整個系統不間斷的連續作業,另外本發明將進水管路、加藥管路、反沖洗氣管路、反沖洗水管路、循環管路、曝氣管路的相關設備均集中設于反應池組中部的安裝區中,一方面可以使系統整體更加緊湊,另一方面也方便操作人員進行維修維護,操作人員可沿著安裝區移動檢修。
4、本發明每個池體單元的反沖洗水管路可根據需要實現兩種反沖洗方式,其中一種是反沖洗水泵和反沖洗水控制閥開啟,同時進水管路上的進水控制閥和循環管路上的循環控制閥均關閉,此時出水槽內的反沖洗水通過反沖洗水泵作用進入進水管路中,并依次經過混合器和池體各個部分后進入排泥渠中,最后反沖洗水沿著反沖洗排管排走,另一種是反沖洗水泵和反沖洗水控制閥開啟,同時進水管路上的進水控制閥關閉,然后反沖洗水泵啟動將設定量的反沖洗水輸入池體中,輸入完畢后,反沖洗水泵和反沖洗水控制閥關閉,循環管路開啟并實現反沖洗水在混合器、進水區、第一濾料區和第二濾料區的循環清洗,清洗設定時間后,循環管路關閉,反沖洗水泵和反沖洗水控制閥重新開啟并且驅動反沖洗水經由反沖洗排管排走。
5、本發明設有反沖洗氣管路和反沖洗風機配合實現反沖洗,其中反沖洗風機啟動后,風量從反沖洗氣管路進入池體底部并與反沖洗水一起作用實現反沖洗功能。
(發明人:任榮;張曉光;袁帥;齊春旭)






