公布日:2023.10.31
申請日:2023.07.24
分類號:C02F9/00(2023.01)I;C02F103/28(2006.01)N;C02F1/00(2023.01)N;C02F1/20(2023.01)N;C02F1/52(2023.01)N;C02F1/66(2023.01)N;C02F1/62(2023.01)N;
C02F3/02(2023.01)N
摘要
本發明涉及造紙廢水處理技術領域,具體涉及一種造紙廢水的深度處理凈化裝置,包括預處理池、深度處理池、曝氣池和蓄水箱,所述深度處理池位于預處理池的右側,所述曝氣池位于深度處理池的右側,所述蓄水箱位于曝氣池的右側,所述曝氣池的內部安裝有曝氣組件;所述曝氣組件包括曝氣盒、進氣管、連接管、曝氣口、防護蓋和防護罩,多組所述曝氣盒從左往右等間距安裝于曝氣池內部的底端,所述進氣管安裝于最左側曝氣盒的背面,多組所述曝氣盒之間均通過連接管進行連接,多組所述曝氣口從前往后等間距開設于曝氣盒的頂部,與現有的造紙廢水的深度處理凈化裝置相比較,本發明通過設計能夠有效防止曝氣組件5的堵塞,提高水體的處理凈化效果。

權利要求書
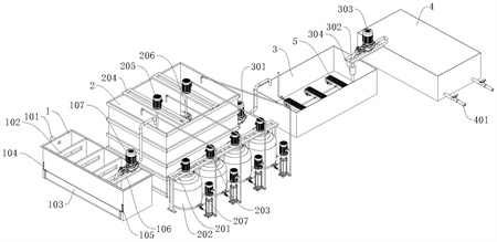
1.一種造紙廢水的深度處理凈化裝置,包括預處理池(1)、深度處理池(2)、曝氣池(3)和蓄水箱(4),其特征在于:所述深度處理池(2)位于預處理池(1)的右側,所述曝氣池(3)位于深度處理池(2)的右側,所述蓄水箱(4)位于曝氣池(3)的右側,所述曝氣池(3)的內部安裝有曝氣組件(5);所述曝氣組件(5)包括曝氣盒(501)、進氣管(502)、連接管(503)、曝氣口(504)、防護蓋(505)和防護罩(506),多組所述曝氣盒(501)從左往右等間距安裝于曝氣池(3)內部的底端,所述進氣管(502)安裝于最左側曝氣盒(501)的背面,多組所述曝氣盒(501)之間均通過連接管(503)進行連接,多組所述曝氣口(504)從前往后等間距開設于曝氣盒(501)的頂部,所述防護蓋(505)螺紋連接于曝氣口(504)的外側,所述防護罩(506)安裝于曝氣盒(501)的頂部。
2.根據權利要求1所述的一種造紙廢水的深度處理凈化裝置,其特征在于:所述預處理池(1)的的背面安裝有進水管(101),所述預處理池(1)的內部固定連有多組擋板(102),多組所述擋板(102)的頂端均開設有通槽,所述預處理池(1)左側的底端滑動連接有第一清理門(103),所述預處理池(1)的左側且位于第一清理門(103)的背面固定安裝有滑桿(104),所述第一清理門(103)背面的頂端與滑桿(104)滑動連接,所述預處理池(1)的左側且位于第一清理門(103)的正面轉動連接有螺紋桿(105),所述第一清理門(103)正面的頂端與螺紋桿(105)螺紋連接。
3.根據權利要求1所述的一種造紙廢水的深度處理凈化裝置,其特征在于:所述預處理池(1)的頂部安裝有第一支撐架(106),所述第一支撐架(106)的頂部安裝有第一水泵(107),所述第一水泵(107)的輸入端通過第一抽水管與預處理池(1)的內部進行連接,所述第一水泵(107)的輸出端通過第一送水管與深度處理池(2)的內部進行連接。
4.根據權利要求1所述的一種造紙廢水的深度處理凈化裝置,其特征在于:所述深度處理池(2)的正面安裝有第二支撐架(201),所述第二支撐架(201)的下方安裝有多組藥劑罐(202),所述第二支撐架(201)的頂部且位于藥劑罐(202)的上方安裝有第一電機(203),所述深度處理池(2)頂部的左右兩端均安裝有第三支撐架(204),兩組所述第三支撐架(204)的頂部均安裝有第二電機(205),所述第一電機(203)與第二電機(205)的輸出端均安裝有攪拌桿(206),多組所述藥劑罐(202)的正面均安裝有第二水泵(207),所述第二水泵(207)的輸入端通過第二抽水管與藥劑罐(202)的內部進行連接,所述第二水泵(207)的輸出端通過第二送水管與深度處理池(2)的內部進行連接。
5.根據權利要求1所述的一種造紙廢水的深度處理凈化裝置,其特征在于:所述藥劑罐(202)設有四組,四組所述藥劑罐(202)的內部從左往右依次裝有沉淀劑、消泡劑、絮凝劑與PH調節劑。
6.根據權利要求1所述的一種造紙廢水的深度處理凈化裝置,其特征在于:所述深度處理池(2)的底部安裝有傾斜沉淀罩(208),所述傾斜沉淀罩(208)的右側轉動連接有第二清理門(209),所述第二清理門(209)的外側轉動連接有門把(210),所述傾斜沉淀罩(208)外側與門把(210)相對應的位置處固定安裝有卡塊(211)。
7.根據權利要求6所述的一種造紙廢水的深度處理凈化裝置,其特征在于:所述曝氣池(3)與深度處理池(2)之間安裝有第三水泵(301),所述第三水泵(301)的輸入端通過第三抽水管與傾斜沉淀罩(208)的內部進行連接,所述第三水泵(301)的輸出端通過第三送水管與曝氣池(3)的內部進行連接。
8.根據權利要求7所述的一種造紙廢水的深度處理凈化裝置,其特征在于:所述曝氣池(3)與蓄水箱(4)之間安裝有第四支撐架(302),所述第四支撐架(302)的頂部安裝有第四水泵(303),所述第四水泵(303)的輸入端通過第四抽水管與曝氣池(3)的內部進行連接,所述第四水泵(303)的輸出端通過第四送水管與蓄水箱(4)的內部進行連接,所述第三抽水管與第四抽水管上均安裝有過濾筒(304),所述過濾筒(304)內部安裝有活性炭濾芯。
9.根據權利要求1所述的一種造紙廢水的深度處理凈化裝置,其特征在于:所述蓄水箱(4)的內部開設有蓄水腔,所述蓄水箱(4)正面底端的左右兩側均安裝有排水管(401),兩組所述排水管(401)與蓄水腔相連通。
10.根據權利要求1所述的一種造紙廢水的深度處理凈化裝置,其特征在于:所述曝氣盒(501)底部的前后兩端均通過安裝座(507)與曝氣池(3)固定連接,所述進氣管(502)上安裝有單向閥(508),所述防護蓋(505)的頂部開設有曝氣孔,所述防護罩(506)頂部開設有多組曝氣槽。
發明內容
針對現有技術的不足,本發明設計了一種造紙廢水的深度處理凈化裝置,該造紙廢水的深度處理凈化裝置旨在解決現有技術下因造紙廢水中鈣離子含量較為豐富,經常造成射流曝氣器通道鈣化堵塞而致曝氣器功能不暢,難以清除或減輕堵塞,降低造紙廢水的處理效果的技術問題。
為實現上述目的,本發明提供如下技術方案:
一種造紙廢水的深度處理凈化裝置,包括預處理池、深度處理池、曝氣池和蓄水箱,所述深度處理池位于預處理池的右側,所述曝氣池位于深度處理池的右側,所述蓄水箱位于曝氣池的右側,所述曝氣池的內部安裝有曝氣組件;
所述曝氣組件包括曝氣盒、進氣管、連接管、曝氣口、防護蓋和防護罩,多組所述曝氣盒從左往右等間距安裝于曝氣池內部的底端,所述進氣管安裝于最左側曝氣盒的背面,多組所述曝氣盒之間均通過連接管進行連接,多組所述曝氣口從前往后等間距開設于曝氣盒的頂部,所述防護蓋螺紋連接于曝氣口的外側,所述防護罩安裝于曝氣盒的頂部。
作為本發明優選的方案,所述預處理池的的背面安裝有進水管,所述預處理池的內部固定連有多組擋板,多組所述擋板的頂端均開設有通槽,所述預處理池左側的底端滑動連接有第一清理門,所述預處理池的左側且位于第一清理門的背面固定安裝有滑桿,所述第一清理門背面的頂端與滑桿滑動連接,所述預處理池的左側且位于第一清理門的正面轉動連接有螺紋桿,所述第一清理門正面的頂端與螺紋桿螺紋連接。
作為本發明優選的方案,所述預處理池的頂部安裝有第一支撐架,所述第一支撐架的頂部安裝有第一水泵,所述第一水泵的輸入端通過第一抽水管與預處理池的內部進行連接,所述第一水泵的輸出端通過第一送水管與深度處理池的內部進行連接。
作為本發明優選的方案,所述深度處理池的正面安裝有第二支撐架,所述第二支撐架的下方安裝有多組藥劑罐,所述第二支撐架的頂部且位于藥劑罐的上方安裝有第一電機,所述深度處理池頂部的左右兩端均安裝有第三支撐架,兩組所述第三支撐架的頂部均安裝有第二電機,所述第一電機與第二電機的輸出端均安裝有攪拌桿,多組所述藥劑罐的正面均安裝有第二水泵,所述第二水泵的輸入端通過第二抽水管與藥劑罐的內部進行連接,所述第二水泵的輸出端通過第二送水管與深度處理池的內部進行連接。
作為本發明優選的方案,所述藥劑罐設有四組,四組所述藥劑罐的內部從左往右依次裝有沉淀劑、消泡劑、絮凝劑與PH調節劑。
作為本發明優選的方案,所述深度處理池的底部安裝有傾斜沉淀罩,所述傾斜沉淀罩的右側轉動連接有第二清理門,所述第二清理門的外側轉動連接有門把,所述傾斜沉淀罩外側與門把相對應的位置處固定安裝有卡塊。
作為本發明優選的方案,所述曝氣池與深度處理池之間安裝有第三水泵,所述第三水泵的輸入端通過第三抽水管與傾斜沉淀罩的內部進行連接,所述第三水泵的輸出端通過第三送水管與曝氣池的內部進行連接。
作為本發明優選的方案,所述曝氣池與蓄水箱之間安裝有第四支撐架,所述第四支撐架的頂部安裝有第四水泵,所述第四水泵的輸入端通過第四抽水管與曝氣池的內部進行連接,所述第四水泵的輸出端通過第四送水管與蓄水箱的內部進行連接,所述第三抽水管與第四抽水管上均安裝有過濾筒,所述過濾筒內部安裝有活性炭濾芯。
作為本發明優選的方案,所述蓄水箱的內部開設有蓄水腔,所述蓄水箱正面底端的左右兩側均安裝有排水管,兩組所述排水管與蓄水腔相連通。
作為本發明優選的方案,所述曝氣盒底部的前后兩端均通過安裝座與曝氣池固定連接,所述進氣管上安裝有單向閥,所述防護蓋的頂部開設有曝氣孔,所述防護罩頂部開設有多組曝氣槽。
與現有技術相比,本發明的有益效果是:
本發明中,通過曝氣組件的設計,經過深度處理池深度處理后的造紙廢水,進入到曝氣池內后,通過進氣管將氣流導入曝氣盒中,通過單向閥防止氣流回流影響曝氣效果,進入到曝氣盒中的氣流從曝氣孔排出,將空氣分割成若干小氣泡,隨后再通過曝氣槽均勻的將氣泡從防護罩的內部排出,從而向曝氣池中均勻的注入氧氣,產生氣泡和氣流,增加水體中的氧氣含量并提供均勻的氧氣供應,有助于維持生物濾池中生物群落的健康狀態,促進有益細菌的生長和生物降解過程,加速這些生物降解過程,提高水體的凈化效果,同時先利用防護罩外側的曝氣槽與防護蓋外側的曝氣孔,能夠對曝氣口進行雙重防護,有效防止曝氣口堵塞住,進而提高對造紙廢水的處理凈化效果。
(發明人:李文斌)






