公布日:2024.04.16
申請日:2024.03.15
分類號:C02F1/00(2023.01)I;C02F1/38(2023.01)I;C02F1/52(2023.01)I;B01F35/12(2022.01)I;C02F103/20(2006.01)N
摘要
本發明涉及污水處理領域,尤其涉及一種養殖污水一體化處理設備及其操作方法。本發明要解決的技術問題是:現有技術中的養殖污水處理設備進行固液分離時容易堵塞,絮凝工序藥劑無法與污水充分混合。本發明的技術方案是:包括有分離桶等;分離桶內設置有清潔機構,清潔機構用于清理分離桶內的雜質,分離桶上通過安裝桿固接有導流桶,導流桶內設置有錯位組件,導流桶下部固接有落渣桶,還包括有第一分離機構,第一分離機構包括有第一驅動電機,落渣桶內安裝有第一驅動電機。本發明通過彈性滑桿、彈性擋塊與彈性限位銷的設計,利用離心力帶動彈性滑桿移動能夠使彈性滑桿、彈性擋塊與彈性限位銷形成配合。

權利要求書
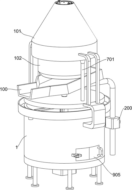
1.一種養殖污水一體化處理設備,包括有分離桶(1),所述分離桶(1)上通過安裝桿固接有導流桶(101),所述導流桶(101)下部固接有落渣桶(102),所述落渣桶(102)底部固接有出料斗(100),其特征在于:還包括有第一分離機構,第一分離機構包括有第一驅動電機(201),所述落渣桶(102)內安裝有所述第一驅動電機(201),所述第一驅動電機(201)的輸出軸上固接有第一傳動軸(202),所述第一傳動軸(202)上固接有軸套(203),所述軸套(203)上鉸接有彈性滑桿(204),所述落渣桶(102)內設置有矩形管(205),所述矩形管(205)上固接有旋轉板(402),所述矩形管(205)內貫穿式滑動連接有彈性擋塊(206),所述彈性滑桿(204)上開設有第一限位孔(207),所述彈性擋塊(206)上開設有第二限位孔(2071),所述彈性滑桿(204)移動后與所述彈性擋塊(206)接觸,所述彈性滑桿(204)用于提供所述彈性擋塊(206)活動,所述矩形管(205)內滑動連接有彈性限位銷(208),所述矩形管(205)一側開設有平移槽,所述彈性限位銷(208)卡入所述矩形管(205)的平移槽并在平移槽內滑動,所述彈性限位銷(208)插入所述第一限位孔(207)與所述第二限位孔(2071)內,所述彈性限位銷(208)用于限制所述彈性滑桿(204)與所述彈性擋塊(206)的位置,所述落渣桶(102)內設置有翻轉機構,翻轉機構用于清除所述落渣桶(102)內的雜質,所述導流桶(101)內設置有錯位組件,所述分離桶(1)內設置有清潔機構,清潔機構用于清理所述分離桶(1)內的雜質;第一分離機構還包括有第一篩網(301),所述導流桶(101)內設置有所述第一篩網(301),所述導流桶(101)頂端固接有清潔桿(302),所述清潔桿(302)與所述第一篩網(301)內壁貼合,所述清潔桿(302)頂部貫穿式滑動連接有滑動桿(303),所述滑動桿(303)底端滑動連接有第二篩網(304),所述第一篩網(301)與所述第二篩網(304)之間留有間隙,錯位組件用于提供所述第二篩網(304)活動;翻轉機構包括有連接板(401),所述第一傳動軸(202)頂端固接有所述連接板(401),所述第一篩網(301)與所述連接板(401)固接,所述連接板(401)一側鉸接有旋轉板(402),所述連接板(401)與所述旋轉板(402)的鉸接處設置有第一彈性件,所述旋轉板(402)頂面與所述第一篩網(301)和所述第二篩網(304)底端貼合,所述矩形管(205)與所述旋轉板(402)固接,所述落渣桶(102)內開設有環形軌道,所述落渣桶(102)的環形軌道內滑動連接有限位盒(403),所述限位盒(403)上固接有伸縮軸(404)的一端,所述伸縮軸(404)的另一端與所述第二篩網(304)固接,所述限位盒(403)內滑動連接有彈性限位塊(405),所述彈性擋塊(206)一端固接有限位板(406),所述限位板(406)與所述彈性限位塊(405)接觸,所述彈性限位塊(405)用于限制所述限位板(406)的位置,所述彈性擋塊(206)移動后與所述彈性限位塊(405)接觸,所述彈性擋塊(206)用于限制所述彈性限位塊(405)的位置;錯位組件包括有伸縮板(501),所述旋轉板(402)上轉動連接有所述伸縮板(501),所述伸縮板(501)上轉動連接有凸輪(502),所述凸輪(502)的輪軸貫穿所述伸縮板(501)并與所述旋轉板(402)固接,所述伸縮板(501)上部與所述第二篩網(304)轉動連接,所述伸縮板(501)上貫穿式轉動連接有突出軸(503),所述突出軸(503)的一端與所述第二篩網(304)固接,所述凸輪(502)轉動后與所述突出軸(503)接觸,所述凸輪(502)用于提供所述突出軸(503)活動,所述第一篩網(301)外壁圓周陣列固接有若干個安裝盒(5031),所述若干個安裝盒(5031)內均滑動連接有彈性滑動板(5032),所述第二篩網(304)內壁圓周陣列固接有若干個錯位球(5033),所述錯位球(5033)與所述安裝盒(5031)接觸,所述錯位球(5033)與所述彈性滑動板(5032)接觸,所述錯位球(5033)用于限制所述彈性滑動板(5032)的位置;翻轉機構還包括有梯形伸縮桿(601),所述第一傳動軸(202)下部固接有所述梯形伸縮桿(601),所述梯形伸縮桿(601)上滑動連接有限位環(602),所述限位環(602)內固接有限位軸(603),所述彈性限位銷(208)上開設有螺旋軌跡,所述限位軸(603)卡入所述彈性限位銷(208)的螺旋軌跡內并在螺旋軌跡內滑動,所述限位環(602)一側固接有限位盤(604),所述限位盤(604)與所述彈性限位銷(208)之間設置有彈性件;還包括有第二分離機構,第二分離機構包括有導流管(701),所述導流桶(101)底部連通有所述導流管(701),所述導流管(701)底端連通有桶蓋(702),所述桶蓋(702)與所述分離桶(1)固接,所述分離桶(1)底部安裝有第二驅動電機(703),所述第二驅動電機(703)的輸出軸上固接有第二傳動軸(704)的一端,所述第二傳動軸(704)的另一端貫穿式與所述分離桶(1)轉動連接,所述第二傳動軸(704)上固接有攪拌架(705),所述攪拌架(705)內固接有若干個攪拌軸(706);清潔機構包括有刮板(801),若干個所述攪拌軸(706)上滑動連接有所述刮板(801),所述刮板(801)一側固接有導向桿(802)的一端,所述桶蓋(702)底部開設有滑軌(803),所述導向桿(802)的另一端卡入所述滑軌(803)內并在所述滑軌(803)內滑動。
2.根據權利要求1所述的一種養殖污水一體化處理設備,其特征在于:還包括有導流環(901),所述分離桶(1)頂部固接有所述導流環(901),所述攪拌架(705)上固接有清理桿(902),所述清理桿(902)一側底部與所述分離桶(1)頂端貼合,所述導流環(901)底部開設有通孔。
3.根據權利要求2所述的一種養殖污水一體化處理設備,其特征在于:還包括有濾筒(903),所述分離桶(1)內安裝有所述濾筒(903),所述濾筒(903)內連通有U形管(904)的一端,U形管(904)上安裝有出水泵(200),所述分離桶(1)下部開設有出料口(905)。
4.一種使用權利要求3所述的一種養殖污水一體化處理設備的操作方法,其特征在于:包括以下步驟:S1:將未處理的污水通過水泵抽入所述第一篩網(301)內,啟動所述第一驅動電機(201),所述第一驅動電機(201)的輸出軸通過所述連接板(401)帶動所述第一篩網(301)與所述第二篩網(304)高速旋轉,使所述第一篩網(301)內的污水進行固液分離,所述彈性滑桿(204)受離心力影響延伸擠壓所述彈性擋塊(206)后與所述彈性限位銷(208)形成配合;S2:完成固液分離后所述第一驅動電機(201)開始減速,所述彈性滑桿(204)收縮使所述限位板(406)脫離所述彈性限位塊(405),所述旋轉板(402)受固體雜質重量壓力轉動,所述旋轉板(402)轉動后將固體雜質脫落至出料斗(100)上,液體分離至所述導流桶(101)內壁后流動并通過所述導流管(701)流入所述分離桶(1)內;S3:啟動所述第二驅動電機(703),所述第二驅動電機(703)的輸出軸通過所述第二傳動軸(704)帶動所述攪拌架(705)與所述攪拌軸(706)轉動,所述攪拌架(705)與所述攪拌軸(706)對所述分離桶(1)內的污水進行攪拌,同時將藥劑倒入所述分離桶(1)內,通過所述攪拌架(705)與所述攪拌軸(706)與污水充分混合完成絮凝工序;S4:所述刮板(801)帶動所述導向桿(802)跟隨所述攪拌軸(706)進行轉動,所述導向桿(802)的頂端沿著所述滑軌(803)的軌跡移動帶動所述刮板(801)在所述攪拌軸(706)上往復移動對所述攪拌軸(706)進行清理,完成絮凝工序后啟動出水泵(200),所述出水泵(200)通過所述U形管(904)與所述濾筒(903)將所述分離桶(1)內的液體抽出,液體完全抽出后打開所述出料口(905),所述攪拌架(705)繼續轉動并將所述分離桶(1)內的雜質通過所述出料口(905)排出。
發明內容
為了克服現有技術中過濾組件容易堵塞、絮凝工序效果不佳的缺點,要解決的技術問題:提供一種養殖污水一體化處理設備及其操作方法。
技術方案是:一種養殖污水一體化處理設備,包括有分離桶,所述分離桶內設置有清潔機構,清潔機構用于清理所述分離桶內的雜質,所述分離桶上通過安裝桿固接有所述導流桶,所述導流桶內設置有錯位組件,所述導流桶下部固接有所述落渣桶,所述落渣桶底部固接有出料斗,還包括有第一分離機構,第一分離機構包括有第一驅動電機,所述落渣桶內安裝有所述第一驅動電機,所述第一驅動電機的輸出軸上固接有第一傳動軸,所述第一傳動軸上固接有軸套,所述軸套上鉸接有彈性滑桿,所述落渣桶內設置有矩形管,所述矩形管內貫穿式滑動連接有彈性擋塊,所述彈性滑桿上開設有第一限位孔,所述彈性擋塊上開設有第二限位孔,所述彈性滑桿移動后與所述彈性擋塊接觸,所述彈性滑桿用于提供所述彈性擋塊活動,所述矩形管內滑動連接有彈性限位銷,所述矩形管一側開設有平移槽,所述彈性限位銷卡入所述矩形管的平移槽并在平移槽內滑動,所述彈性限位銷插入所述第一限位孔與所述第二限位孔內,所述彈性限位銷用于限制所述彈性滑桿與所述彈性擋塊的位置,所述落渣桶內設置有翻轉機構,翻轉機構用于清除所述落渣桶內的雜質。
在其中一個實施例中,第一分離機構還包括有第一篩網,所述導流桶內設置有所述第一篩網,所述導流桶頂端固接有清潔桿,所述清潔桿與所述第一篩網內壁貼合,所述清潔桿頂部貫穿式滑動連接有滑動桿,所述滑動桿底端滑動連接有第二篩網,所述第一篩網與所述第二篩網之間留有間隙,錯位組件用于提供所述第二篩網活動。
在其中一個實施例中,翻轉機構包括有連接板,所述第一傳動軸頂端固接有所述連接板,所述第一篩網與所述連接板固接,所述連接板一側鉸接有旋轉板,所述連接板與所述旋轉板的鉸接處設置有第一彈性件,所述旋轉板頂面與所述第一篩網和所述第二篩網底端貼合,所述矩形管與所述旋轉板固接,所述落渣桶內開設有環形軌道,所述落渣桶的環形軌道內滑動連接有限位盒,所述限位盒上固接有伸縮軸的一端,所述伸縮軸的另一端與所述第二篩網固接,所述限位盒內滑動連接有彈性限位塊,所述彈性擋塊一端固接有限位板,所述限位板與所述彈性限位塊接觸,所述彈性限位塊用于限制所述限位板的位置,所述彈性擋塊移動后與所述彈性限位塊接觸,所述彈性擋塊用于限制所述彈性限位塊的位置。
在其中一個實施例中,錯位組件包括有伸縮板,所述旋轉板上轉動連接有所述伸縮板,所述伸縮板上轉動連接有凸輪,所述凸輪的輪軸貫穿所述伸縮板并與所述旋轉板固接,所述伸縮板上部與所述第二篩網的轉動連接,所述伸縮板上貫穿式轉動連接有突出軸,所述突出軸的一端與所述第二篩網固接,所述凸輪轉動后與所述突出軸接觸,所述凸輪用于提供所述突出軸活動,所述第一篩網外壁圓周陣列固接有若干個安裝盒,所述若干個安裝盒內均滑動連接有彈性滑動板,所述第二篩網內壁圓周陣列固接有若干個錯位球,所述錯位球與所述安裝盒接觸,所述錯位球與所述彈性滑動板接觸,所述錯位球用于限制所述彈性滑動板的位置。
在其中一個實施例中,翻轉機構還包括有梯形伸縮桿,所述第一傳動軸下部固接有所述梯形伸縮桿,所述梯形伸縮桿上滑動連接有限位環,所述限位環內固接有限位軸,所述彈性限位銷上開設有螺旋軌跡,所述限位軸卡入所述彈性限位銷的螺旋軌跡內并在螺旋軌跡內滑動,所述限位環一側固接有限位盤,所述限位盤與所述彈性限位銷之間設置有彈性件。
在其中一個實施例中,還包括有第二分離機構,第二分離機構包括有導流管,所述導流桶底部連通有所述導流管,所述導流管底端連通有桶蓋,所述桶蓋與所述分離桶固接,所述分離桶底部安裝有第二驅動電機,所述第二驅動電機的輸出軸上固接有第二傳動軸的一端,所述第二傳動軸的另一端貫穿式與所述分離桶轉動連接,所述第二傳動軸上固接有攪拌架,所述攪拌架內固接有若干個攪拌軸。
在其中一個實施例中,清潔機構包括有刮板,若干個所述攪拌軸上滑動連接有所述刮板,所述刮板一側固接有導向桿的一端,所述桶蓋底部開設有滑軌,所述導向桿的另一端卡入所述滑軌內并在所述滑軌內滑動。
在其中一個實施例中,還包括有導流環,所述分離桶頂部固接有所述導流環,所述攪拌架上固接有清理桿,所述清理桿一側底部與所述分離桶頂端貼合,所述導流環底部開設有通孔。
在其中一個實施例中,還包括有濾筒,所述分離桶內安裝有所述濾筒,所述濾筒內連通有U形管的一端,U形管上安裝有出水泵,所述分離桶下部開設有出料口。
在其中一個實施例中,一種養殖污水一體化處理設備的操作方法,包括以下步驟:
S1:將未處理的污水通過水泵抽入所述第一篩網內,啟動所述第一驅動電機,所述第一驅動電機的輸出軸通過所述連接板帶動所述第一篩網與所述第二篩網高速旋轉,使所述第一篩網內的污水進行固液分離,所述彈性滑桿受離心力影響延伸擠壓所述彈性擋塊后與所述彈性限位銷形成配合;
S2:完成固液分離后所述第一驅動電機開始減速,所述彈性滑桿收縮使所述限位板脫離所述彈性限位塊,所述旋轉板受固體雜質重量壓力轉動,所述旋轉板轉動后將固體雜質脫落至所述出料斗上,液體分離至所述導流桶內壁后流動并通過所述導流管流入所述分離桶內;
S3:啟動所述第二驅動電機,所述第二驅動電機的輸出軸通過所述第二傳動軸帶動所述攪拌架與所述攪拌軸轉動,所述攪拌架與所述攪拌軸對所述分離桶內的污水進行攪拌,同時將藥劑倒入所述分離桶內,通過所述攪拌架與所述攪拌軸與污水充分混合完成絮凝工序;
S4:所述刮板帶動所述導向桿跟隨所述攪拌軸進行轉動,所述導向桿的頂端沿著所述滑軌的軌跡移動帶動所述刮板在所述攪拌軸上往復移動對所述攪拌軸進行清理,完成絮凝工序后啟動出水泵,所述出水泵通過所述U形管與所述濾筒將所述分離桶內的液體抽出,液體完全抽出后打開所述出料口,所述攪拌架繼續轉動并將所述分離桶內的雜質通過所述出料口排出。
本發明具有如下優點:
1、本發明通過彈性滑桿、彈性擋塊與彈性限位銷的設計,利用離心力帶動彈性滑桿移動能夠使彈性滑桿、彈性擋塊與彈性限位銷形成配合,當彈性滑桿受離心力的影響減弱時通過限位軸與彈性限位銷的配合能夠使彈性滑桿、彈性擋塊與彈性限位銷脫離配合釋放復位。
2、本發明通過凸輪與突出軸的設計,能夠在旋轉板轉動時帶動凸輪擠壓突出軸,通過突出軸帶動第二篩網與第一篩網的篩孔錯位,能夠將卡在第二篩網與第一篩網篩孔內的固體雜質切斷,有效防止第一篩網與第二篩網的篩孔堵塞。
3、本發明的攪拌架與第二傳動軸之間角度錯位,通過攪拌架角度錯位能夠使攪拌架帶動攪拌軸轉動至將物體雜質聚集在分離桶底部,縮短污水絮凝后所需的沉淀時間。
4、本發明通過導向桿與滑軌的設計,能夠使刮板在攪拌軸上進行往復移動,能夠將攪拌軸上的雜質進行剝離。
(發明人:楚君;劉莎;任瑩)






