公布日:2023.10.24
申請日:2023.07.17
分類號:B01D29/90(2006.01)I;B01D29/03(2006.01)I
摘要
本發明公開了一種綠色建造建筑施工廢水處理裝置及其使用方法,涉及建筑施工廢水處理技術領域,解決了建筑施工廢水處理裝置在對廢水預處理過濾時,廢水過濾的效率較低,容易堆積在濾網表面,且過濾效果較差,難以對廢水進行擠壓滲透過濾,且裝置的耗能較大成本較高的問題。一種綠色建造建筑施工廢水處理裝置及其使用方法,包括底座機構,所述底座機構的頂端固定安裝有輸水箱,所述輸水箱的頂端固定安裝有進水箱。本發明通過活動圓臺和刮水板的配合,通過廢水倒入輸水箱內部時對刮水板的沖擊而使活動圓臺轉動,從而使活動圓臺對傳動機構進行傳動而帶動擠壓機構在底座的內部循環升降對廢水進行擠壓過濾,減少裝置的耗能。

權利要求書
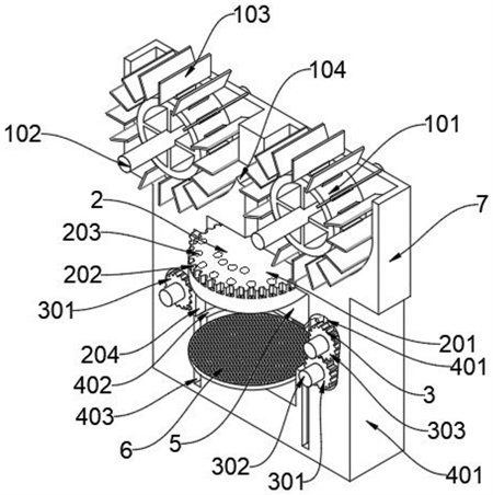
1.一種綠色建造建筑施工廢水處理裝置,包括底座機構(4),所述底座機構(4)的頂端固定安裝有輸水箱(7),所述輸水箱(7)的頂端固定安裝有進水箱(8),其特征在于:所述輸水箱(7)內部的兩側均活動安裝有驅動機構(1),所述底座機構(4)內部的頂端活動安裝有擠壓機構(2),所述底座機構(4)內部的底端固定安裝有過濾網(6),所述擠壓機構(2)和過濾網(6)之間活動安裝有堵塞機構(5),所述底座機構(4)的內部活動安裝有傳動機構(3);所述擠壓機構(2)包括擠壓臺(201)、擠壓臺輪齒(202)和L型固定桿(204),所述擠壓臺(201)活動安裝在底座機構(4)內部的頂端位置,所述擠壓臺(201)外表面靠近頂端的位置設有多個擠壓臺輪齒(202),所述擠壓臺(201)兩側的外表面均固定安裝有L型固定桿(204);所述傳動機構(3)包括升降齒輪(301)、從動齒輪(303)和兩個角度調整齒輪(305),兩個所述升降齒輪(301)分別活動安裝在底座機構(4)內部的兩側位置,其中一側的所述升降齒輪(301)的頂端嚙合連接有從動齒輪(303),兩個所述角度調整齒輪(305)分別位于底座機構(4)內部靠近頂端和底端的位置,且角度調整齒輪(305)與底座機構(4)的內壁轉動連接。
2.根據權利要求1所述的一種綠色建造建筑施工廢水處理裝置,其特征在于:所述擠壓機構(2)還包括通水孔(203)和配合塊(205),所述擠壓臺(201)的頂端表面設有多個通水孔(203),所述擠壓臺(201)的底端表面固定安裝有配合塊(205),每兩個所述擠壓臺輪齒(202)之間均設有通孔,所述擠壓臺(201)的頂端表面呈圓弧狀凸起,兩個所述L型固定桿(204)之間的夾角為一百五十度。
3.根據權利要求1所述的一種綠色建造建筑施工廢水處理裝置,其特征在于:所述傳動機構(3)還包括齒輪轉軸(302)、傳動帶(304)和傳動齒輪(306),所述角度調整齒輪(305)的一側均嚙合連接有傳動齒輪(306),所述傳動齒輪(306)均位于角度調整齒輪(305)下方位置的一側與角度調整齒輪(305)嚙合,所述升降齒輪(301)、從動齒輪(303)、角度調整齒輪(305)和傳動齒輪(306)的內部均軸連接有齒輪轉軸(302),所述從動齒輪(303)內部的齒輪轉軸(302)與一個傳動齒輪(306)內部的齒輪轉軸(302)通過傳動帶(304)活動連接,未與從動齒輪(303)嚙合連接的所述升降齒輪(301)內部的齒輪轉軸(302)與另一個傳動齒輪(306)內部的齒輪轉軸(302)通過傳動帶(304)活動連接。
4.根據權利要求1所述的一種綠色建造建筑施工廢水處理裝置,其特征在于:所述驅動機構(1)包括活動圓臺(101)、圓臺轉軸(102)、刮水板(103)、集水槽(104)和連通槽(105),兩個所述活動圓臺(101)分別活動安裝在輸水箱(7)內部的兩側位置,所述活動圓臺(101)的內部均活動安裝有圓臺轉軸(102),所述活動圓臺(101)的外表面均固定安裝有多個刮水板(103),所述輸水箱(7)內部的中心位置固定安裝有隔板,所述隔板的表面設有集水槽(104),所述集水槽(104)的內部設有連通槽(105)。
5.根據權利要求1所述的一種綠色建造建筑施工廢水處理裝置,其特征在于:所述底座機構(4)包括底座(401)、升降槽(402)、固定桿放置槽(403)、排水管(404)、第一齒輪槽(405)和第二齒輪槽(406),所述底座(401)固定安裝在輸水箱(7)的底端表面,所述底座(401)的內部靠近擠壓機構(2)的位置均設有升降槽(402),所述升降槽(402)內部的底端均設有固定桿放置槽(403),所述底座(401)內部靠近傳動機構(3)的位置分別設有兩個第一齒輪槽(405)和兩個第二齒輪槽(406),所述底座(401)的后側表面固定安裝有排水管(404),所述升降槽(402)和固定桿放置槽(403)均呈弧形槽狀,所述升降槽(402)和固定桿放置槽(403)內部的弧形角度均為三十度。
6.根據權利要求5所述的一種綠色建造建筑施工廢水處理裝置,其特征在于:所述堵塞機構(5)包括堵水板(501)、T型活動槽(502)、通水槽(503)和T型滑動塊(504),所述堵水板(501)活動安裝在底座(401)的內部表面,所述底座(401)內部靠近堵水板(501)的位置設有兩個T型活動槽(502),所述堵水板(501)的外表面固定安裝有兩個T型滑動塊(504),所述T型滑動塊(504)均活動卡入T型活動槽(502)的內部,所述堵水板(501)頂端表面的中心位置設有通水槽(503),所述T型活動槽(502)的內部均活動安裝有壓縮彈簧,所述壓縮彈簧均與T型滑動塊(504)活動連接。
7.根據權利要求5所述的一種綠色建造建筑施工廢水處理裝置,其特征在于:所述進水箱(8)的頂端固定安裝有進水管(9),所述進水箱(8)內部的底端表面固定安裝有兩個分水管(10),所述過濾網(6)均固定安裝在底座(401)的內部表面,所述輸水箱(7)內部的兩側通過隔板分隔成兩個集水腔,所述集水腔的底部均呈圓弧狀。
8.根據權利要求2所述的一種綠色建造建筑施工廢水處理裝置,其特征在于:所述配合塊(205)活動卡入通水槽(503)的內部,所述L型固定桿(204)均活動卡入升降槽(402)的內部,所述L型固定桿(204)的外側均設有多個輪齒,所述L型固定桿(204)外側的輪齒均與升降齒輪(301)嚙合連接,所述擠壓臺輪齒(202)均與角度調整齒輪(305)嚙合連接。
9.根據權利要求3所述的一種綠色建造建筑施工廢水處理裝置,其特征在于:所述升降齒輪(301)和從動齒輪(303)均活動安裝在第一齒輪槽(405)的內部,所述角度調整齒輪(305)和傳動齒輪(306)均活動安裝在第二齒輪槽(406)的內部,兩個所述傳動齒輪(306)內部的齒輪轉軸(302)均分別與兩個圓臺轉軸(102)通過傳動帶(304)活動連接。
10.一種根據權利要求1-9中的任意一項中所述的綠色建造建筑施工廢水處理裝置的使用方法,其特征在于:所述使用方法包括以下步驟:S1:先將廢水通過進水管(9)倒入進水箱(8)的內部,隨后廢水會通過進水箱(8)的內部向兩側的分水管(10)分流,隨后通過分水管(10)倒入輸水箱(7)的內部,廢水在進入輸水箱(7)內部的時候,會撞擊到刮水板(103)的表面,從而使兩側的活動圓臺(101)受到廢水的推力而分別逆時針和順時針轉動,此時廢水會堆積在集水腔的底部而由于圓弧狀無法直接通過集水槽(104)和連通槽(105)的內部倒入底座(401)中,此時刮水板(103)受到廢水的推力轉動而將廢水從集水腔的內部推入集水槽(104)的位置,從而將廢水從輸水箱(7)的內部推入底座(401)的內部;S2:當廢水通過連通槽(105)倒入底座(401)內部時,廢水會先倒入到擠壓臺(201)的頂端表面,此時由于圓弧狀凸起的擠壓臺(201)而使廢水向擠壓臺(201)的外圍移動,廢水會通過通水孔(203)和擠壓臺輪齒(202)之間的通孔流入擠壓臺(201)下方的位置,隨后通過堵水板(501)中心的通水槽(503)流入過濾網(6)的表面,從而通過過濾網(6)對廢水進行過濾;S3:當廢水流入底座(401)內部堆積在過濾網(6)的上方位置,且活動圓臺(101)在轉動的同時,會使圓臺轉軸(102)通過傳動帶(304)帶動傳動齒輪(306)轉動,此時傳動齒輪(306)會跟隨活動圓臺(101)同時轉動而帶動角度調整齒輪(305)轉動,從而使兩側的角度調整齒輪(305)分別逆時針和順時針轉動,同時傳動齒輪(306)會通過傳動帶(304)同時帶動一側的升降齒輪(301)和另一側的從動齒輪(303)轉動,而從動齒輪(303)會帶動和其嚙合的升降齒輪(301)轉動,從而使兩個升降齒輪(301)均逆時針轉動;S4:當擠壓臺(201)位于底座(401)內部的最上方位置時,一側的L型固定桿(204)會與升降齒輪(301)嚙合,另一側的L型固定桿(204)會由于兩個L型固定桿(204)之間夾角的原因而不與另一個升降齒輪(301)嚙合,且擠壓臺輪齒(202)會與逆時針轉動的角度調整齒輪(305)嚙合,隨后通過角度調整齒輪(305)使擠壓臺輪齒(202)順時針轉動三十度,從而使L型固定桿(204)在升降槽(402)和固定桿放置槽(403)的內部轉動,此時兩側的L型固定桿(204)會交換與升降齒輪(301)嚙合的情況,此時被從動齒輪(303)驅動轉動的升降齒輪(301)逆時針轉動的同時會使擠壓臺(201)下降,此時擠壓臺(201)的底端會撞擊到堵水板(501)的表面而帶動堵水板(501)同時下降,且同時配合塊(205)會與通水槽(503)配合安裝從而使通水孔(203)和擠壓臺輪齒(202)之間通孔被堵水板(501)堵塞,此時新流入的廢水會堆積在擠壓臺(201)的上方位置,同時位于擠壓臺(201)與過濾網(6)之間的廢水會由于擠壓臺(201)的下壓而通過過濾網(6)的濾孔滲透過濾,直至堵水板(501)的底端與過濾網(6)的表面接觸S5:當在擠壓臺(201)與過濾網(6)之間堆積的廢水通過擠壓臺(201)下降而過濾完畢后,此時擠壓臺(201)會下降至底座(401)內部的最下方位置,此時擠壓臺(201)的擠壓臺輪齒(202)會與順時針轉動的角度調整齒輪(305)嚙合,從而通過角度調整齒輪(305)使擠壓臺輪齒(202)逆時針轉動三十度,從而使L型固定桿(204)在升降槽(402)和固定桿放置槽(403)的內部向回轉動,此時兩側的L型固定桿(204)再一次交換與升降齒輪(301)嚙合的情況,此時通過傳動帶(304)驅動的升降齒輪(301)在逆時針轉動的同時會使擠壓臺(201)上升,擠壓臺(201)在上升時,堵水板(501)會受到壓縮彈簧的彈性跟隨上升,當堵水板(501)上升至T型活動槽(502)內部的頂端位置后,擠壓臺(201)繼續向上移動,此時堵水板(501)不再堵塞擠壓臺(201)表面的通水孔(203)和通孔,擠壓臺(201)上方的廢水會通過通水孔(203)和通孔流入擠壓臺(201)的下方位置通過過濾網(6)過濾,從而使擠壓臺(201)可在底座(401)的內部循環升降對廢水進行擠壓滲透過濾。
發明內容
本發明的目的在于提供一種綠色建造建筑施工廢水處理裝置及其使用方法,以解決上述背景技術中提出建筑施工廢水處理裝置在對廢水預處理過濾時,廢水過濾的效率較低,容易堆積在濾網表面,且過濾效果較差,難以對廢水進行擠壓滲透過濾,且裝置的耗能較大成本較高等問題。
為實現上述目的,本發明提供如下技術方案:一種綠色建造建筑施工廢水處理裝置,包括底座機構,所述底座機構的頂端固定安裝有輸水箱,所述輸水箱的頂端固定安裝有進水箱,所述輸水箱內部的兩側均活動安裝有驅動機構,所述底座機構內部的頂端活動安裝有擠壓機構,所述底座機構內部的底端固定安裝有過濾網,所述擠壓機構和過濾網之間活動安裝有堵塞機構,所述底座機構的內部活動安裝有傳動機構;
所述擠壓機構包括擠壓臺、擠壓臺輪齒和L型固定桿,所述擠壓臺活動安裝在底座機構內部的頂端位置,所述擠壓臺外表面靠近頂端的位置設有多個擠壓臺輪齒,所述擠壓臺兩側的外表面均固定安裝有L型固定桿;
所述傳動機構包括升降齒輪、從動齒輪和角度調整齒輪,兩個所述升降齒輪分別活動安裝在底座機構內部的兩側位置,其中一側的所述升降齒輪的頂端嚙合連接有從動齒輪,兩個所述角度調整齒輪分別位于底座機構內部靠近頂端和底端的位置,且角度調整齒輪與底座機構的內壁轉動連接。
優選的,所述擠壓機構還包括通水孔和配合塊,所述擠壓臺的頂端表面設有多個通水孔,所述擠壓臺的底端表面固定安裝有配合塊,每兩個所述擠壓臺輪齒之間均設有通孔,所述擠壓臺的頂端表面呈圓弧狀凸起,兩個所述L型固定桿之間的夾角為一百五十度。
優選的,所述傳動機構還包括齒輪轉軸、傳動帶和傳動齒輪,所述角度調整齒輪的一側均嚙合連接有傳動齒輪,所述傳動齒輪均位于角度調整齒輪下方位置的一側與角度調整齒輪嚙合,所述升降齒輪、從動齒輪、角度調整齒輪和傳動齒輪的內部均軸連接有齒輪轉軸,所述從動齒輪內部的齒輪轉軸與一個傳動齒輪內部的齒輪轉軸通過傳動帶活動連接,未與從動齒輪嚙合連接的所述升降齒輪內部的齒輪轉軸與另一個傳動齒輪內部的齒輪轉軸通過傳動帶活動連接。優選的,所述驅動機構包括活動圓臺、圓臺轉軸、刮水板、集水槽和連通槽,兩個所述活動圓臺分別活動安裝在輸水箱內部的兩側位置,所述活動圓臺的內部均活動安裝有圓臺轉軸,所述活動圓臺的外表面均固定安裝有多個刮水板,所述輸水箱內部的中心位置固定安裝有隔板,所述隔板的表面設有集水槽,所述集水槽的內部設有連通槽。
優選的,所述底座機構包括底座、升降槽、固定桿放置槽、排水管、第一齒輪槽和第二齒輪槽,所述底座固定安裝在輸水箱的底端表面,所述底座的內部靠近擠壓機構的位置均設有升降槽,所述升降槽內部的底端均設有固定桿放置槽,所述底座內部靠近傳動機構的位置分別設有兩個第一齒輪槽和兩個第二齒輪槽,所述底座的后側表面固定安裝有排水管,所述升降槽和固定桿放置槽均呈弧形槽狀,所述升降槽和固定桿放置槽內部的弧形角度均為三十度。
優選的,所述堵塞機構包括堵水板、T型活動槽、通水槽和T型滑動塊,所述堵水板活動安裝在底座的內部表面,所述底座內部靠近堵水板的位置設有兩個T型活動槽,所述堵水板的外表面固定安裝有兩個T型滑動塊,所述T型滑動塊均活動卡入T型活動槽的內部,所述堵水板頂端表面的中心位置設有通水槽,所述T型活動槽的內部均活動安裝有壓縮彈簧,所述壓縮彈簧均與T型滑動塊活動連接。
優選的,所述進水箱的頂端固定安裝有進水管,所述進水箱內部的底端表面固定安裝有兩個分水管,所述過濾網均固定安裝在底座的內部表面,所述輸水箱內部的兩側通過隔板分隔成兩個集水腔,所述集水腔的底部均呈圓弧狀。
優選的,所述配合塊活動卡入通水槽的內部,所述L型固定桿均活動卡入升降槽的內部,所述L型固定桿的外側均設有多個輪齒,所述L型固定桿外側的輪齒均與升降齒輪嚙合連接,所述擠壓臺輪齒均與角度調整齒輪嚙合連接。
優選的,所述升降齒輪和從動齒輪均活動安裝在第一齒輪槽的內部,所述角度調整齒輪和傳動齒輪均活動安裝在第二齒輪槽的內部,兩個所述傳動齒輪內部的齒輪轉軸均分別與兩個圓臺轉軸通過傳動帶活動連接。
一種綠色建造建筑施工廢水處理裝置的使用方法,所述使用方法包括以下步驟:
S1:先將廢水通過進水管倒入進水箱的內部,隨后廢水會通過進水箱的內部向兩側的分水管分流,隨后通過分水管倒入輸水箱的內部,廢水在進入輸水箱內部的時候,會撞擊到刮水板的表面,從而使兩側的活動圓臺受到廢水的推力而分別逆時針和順時針轉動,此時廢水會堆積在集水腔的底部而由于圓弧狀無法直接通過集水槽和連通槽的內部倒入底座中,此時刮水板受到廢水的推力轉動而將廢水從集水腔的內部推入集水槽的位置,從而將廢水從輸水箱的內部推入底座的內部;
S2:當廢水通過連通槽倒入底座內部時,廢水會先倒入到擠壓臺的頂端表面,此時由于圓弧狀凸起的擠壓臺而使廢水向擠壓臺的外圍移動,廢水會通過通水孔和擠壓臺輪齒之間的通孔流入擠壓臺下方的位置,隨后通過堵水板中心的通水槽流入過濾網的表面,從而通過過濾網對廢水進行過濾;
S3:當廢水流入底座內部堆積在過濾網的上方位置,且活動圓臺在轉動的同時,會使圓臺轉軸通過傳動帶帶動傳動齒輪轉動,此時傳動齒輪會跟隨活動圓臺同時轉動而帶動角度調整齒輪轉動,從而使兩側的角度調整齒輪分別逆時針和順時針轉動,同時傳動齒輪會通過傳動帶同時帶動一側的升降齒輪和另一側的從動齒輪轉動,而從動齒輪會帶動和其嚙合的升降齒輪轉動,從而使兩個升降齒輪均逆時針轉動;
S4:當擠壓臺位于底座內部的最上方位置時,一側的L型固定桿會與升降齒輪嚙合,另一側的L型固定桿會由于兩個L型固定桿之間夾角的原因而不與另一個升降齒輪嚙合,且擠壓臺輪齒會與逆時針轉動的角度調整齒輪嚙合,隨后通過角度調整齒輪使擠壓臺輪齒順時針轉動三十度,從而使L型固定桿在升降槽和固定桿放置槽的內部轉動,此時兩側的L型固定桿會交換與升降齒輪嚙合的情況,此時被從動齒輪驅動轉動的升降齒輪逆時針轉動的同時會使擠壓臺下降,此時擠壓臺的底端會撞擊到堵水板的表面而帶動堵水板同時下降,且同時配合塊會與通水槽配合安裝從而使通水孔和擠壓臺輪齒之間通孔被堵水板堵塞,此時新流入的廢水會堆積在擠壓臺的上方位置,同時位于擠壓臺與過濾網之間的廢水會由于擠壓臺的下壓而通過過濾網的濾孔滲透過濾,直至堵水板的底端與過濾網的表面接觸
S5:當在擠壓臺與過濾網之間堆積的廢水通過擠壓臺下降而過濾完畢后,此時擠壓臺會下降至底座內部的最下方位置,此時擠壓臺的擠壓臺輪齒會與順時針轉動的角度調整齒輪嚙合,從而通過角度調整齒輪使擠壓臺輪齒逆時針轉動三十度,從而使L型固定桿在升降槽和固定桿放置槽的內部向回轉動,此時兩側的L型固定桿再一次交換與升降齒輪嚙合的情況,此時通過傳動帶驅動的升降齒輪在逆時針轉動的同時會使擠壓臺上升,擠壓臺在上升時,堵水板會受到壓縮彈簧的彈性跟隨上升,當堵水板上升至T型活動槽內部的頂端位置后,擠壓臺繼續向上移動,此時堵水板不再堵塞擠壓臺表面的通水孔和通孔,擠壓臺上方的廢水會通過通水孔和通孔流入擠壓臺的下方位置通過過濾網過濾,從而使擠壓臺可在底座的內部循環升降對廢水進行擠壓滲透過濾。
與現有技術相比,本發明的有益效果是:
1、本發明通過活動圓臺和刮水板的配合,使裝置在對廢水進行過濾時,可通過廢水倒入輸水箱內部時對刮水板的沖擊而使活動圓臺轉動,從而通過活動圓臺對傳動機構進行傳動而帶動擠壓機構在底座的內部循環升降對廢水進行擠壓滲透過濾,從而減少裝置的耗能。通過升降齒輪和從動齒輪的配合,使裝置在使用時可通過升降齒輪對L型固定桿進行傳動,從而使擠壓臺在底座的內部進行升降運動,從而對擠壓臺底部的廢水進行擠壓,使其受壓而滲透過濾,提高廢水的過濾效率。
2、本發明通過堵水板和通水槽的配合,當擠壓臺在下降時,可通過堵水板和通水槽對擠壓臺的底部進行堵塞,從而使擠壓臺在下降時擠壓臺與過濾網之間的廢水不會通過通水孔和通孔回流到擠壓臺的上方位置。
(發明人:高強;張昆;李斌;羅亞楠;安文智)






