公布日:2024.04.05
申請日:2023.12.22
分類號:C02F3/30(2023.01)I;B01F33/40(2022.01)I;B01D21/02(2006.01)I
摘要
本發明涉及污水處理技術領域,公開了一種AO污水低耗處理設備,包括:缺氧池,用于對污水進行厭氧處理,所述缺氧池內設置有進水管,所述進水管的出水端延伸至所述缺氧池的池底;好氧池,用于對污水進行好氧處理,所述好氧池與所述缺氧池之間連接有過水管,所述好氧池的相對的一組內壁之間均勻地固定設置有若干個L型擋板;沉淀池,用于對污水進行沉淀除雜,所述沉淀池與所述好氧池之間連接有沉淀池入水管。本發明將傳統的缺氧池機械攪拌方式改進為利用進水和回流水的動能,通過分水器形成水力自攪拌,對缺氧池內污水產生強烈的擾動、攪拌、剪切、沖擊作用,使污泥呈懸浮狀態,有效防止污泥沉淀。

權利要求書
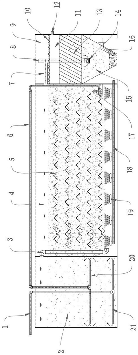
1.一種AO污水低耗處理設備,其特征在于,包括:缺氧池(2),用于對污水進行厭氧處理,所述缺氧池(2)內設置有進水管(1),所述進水管(1)的出水端延伸至所述缺氧池(2)的池底;好氧池(4),用于對污水進行好氧處理,所述好氧池(4)與所述缺氧池(2)之間連接有過水管(3),所述好氧池(4)的相對的一組內壁之間均勻地固定設置有若干個L型擋板(5);沉淀池(9),用于對污水進行沉淀除雜,所述沉淀池(9)與所述好氧池(4)之間連接有沉淀池入水管(7);曝氣機構,設置于所述好氧池(4)底部,用于對所述好氧池(4)內污水進行曝氣處理。
2.根據權利要求1所述的一種AO污水低耗處理設備,其特征在于,所述進水管(1)的下端連接有若干個進水分水管(21),所述進水分水管(21)的出水端設置在所述缺氧池(2)的相鄰兩個側壁交界形成的棱角處。
3.根據權利要求2所述的一種AO污水低耗處理設備,其特征在于,所述缺氧池(2)和所述好氧池(4)之間設有回流管(6),所述回流管(6)的進水端設置在所述好氧池(4)的池底,且安裝有回流泵(17)。
4.根據權利要求3所述的一種AO污水低耗處理設備,其特征在于,所述回流管(6)靠近所述缺氧池(2)的一端連接有多個回流分水管(20),所述回流分水管(20)位于所述進水分水管(21)的上方,且所述回流分水管(20)與所述進水分水管(21)在所述缺氧池(2)底部的豎直投影交錯分布。
5.根據權利要求4所述的一種AO污水低耗處理設備,其特征在于,所述沉淀池(9)內底端設置有斜管(15),所述斜管(15)用于儲存污水中的污泥,所述斜管(15)的下端連接有排泥管(16),所述斜管(15)的上端固定設置有斜管填料(13)。
6.根據權利要求5所述的一種AO污水低耗處理設備,其特征在于,所述沉淀池入水管(7)靠近所述沉淀池(9)的一端連接有中心導流筒(8),所述中心導流筒(8)豎直布設在所述沉淀池(9)內,所述導流筒上下端分別位于所述斜管填料(13)的上下兩側,所述導流筒的下端通過若干個支撐桿連接有反射板(14)。
7.根據權利要求6所述的一種AO污水低耗處理設備,其特征在于,所述沉淀池(9)內還固定設置有集水槽(11),所述集水槽(11)位于所述斜管填料(13)的上方,所述集水槽(11)的上端固定設置有溢流堰(10),且所述中心導流筒(8)的上端位于所述溢流堰(10)上方。
8.根據權利要求7所述的一種AO污水低耗處理設備,其特征在于,所述曝氣機構包括曝氣管(18),所述曝氣管(18)水平設置在所述好氧池(4)的池底,所述曝氣管(18)上安裝有多個曝氣盤(19),且多個所述曝氣盤(19)均勻布設在所述曝氣管(18)上端。
9.一種AO污水低耗處理方法,其特征在于,所述方法采用如權利要求1-8任一項所述的一種AO污水低耗處理設備,包括:S1、將污水通過所述進水管(1)通入所述缺氧池(2)進行缺氧處理;S2、驅動所述回流泵(17),將所述好氧池(4)底部的消化液輸送至所述缺氧池(2)內;S3、待污水經所述過水管(3)進入所述好氧池(4)后,利用曝氣盤(19)對污水進行曝氣處理,并將經曝氣處理后的污水通過所述沉淀池入水管(7)通入所述沉淀池(9)。
發明內容
本發明的目的在于提供一種AO污水低耗處理設備及方法,解決以上技術問題。
本發明的目的可以通過以下技術方案實現:
一種AO污水低耗處理設備,包括:缺氧池,用于對污水進行厭氧處理,所述缺氧池內設置有進水管,所述進水管的出水端延伸至所述缺氧池的池底。好氧池,用于對污水進行好氧處理,所述好氧池與所述缺氧池之間連接有過水管,所述好氧池的相對的一組內壁之間均勻地固定設置有若干個L型擋板。沉淀池,用于對污水進行沉淀除雜,所述沉淀池與所述好氧池之間連接有沉淀池入水管。曝氣機構,設置于所述好氧池底部,用于對所述好氧池內污水進行曝氣處理。通過上述技術方案,可以實現對污水進行高效的AO處理。具體地,首先,將污水通入缺氧池,對污水進行缺氧階段處理,然后將污水經過水管通入好氧池,由好氧池底部的曝氣機構對進入好氧池的污水進行曝氣并形成氣水混合物,而通過L型擋板的設置,氣水混合物在好氧池內自由上升過程中,經過L型擋板的層層阻擋、反復沖撞,使氣水混合物行程路徑大大增長,增加了其停留時間,空氣中的氧與污水充分接觸溶解和吸收,大大提高了氧的傳質效率,實現高效溶氧。
作為進一步的技術方案,所述進水管的下端連接有若干個進水分水管,所述進水分水管的出水端設置在所述缺氧池的相鄰兩個側壁交界形成的棱角處。通過上述技術方案,先將進水管的污水進行多條支路的分流,可以更加均勻地將污水通入缺氧池內,此外,由于進水分水管的出水端設置在所述缺氧池的相鄰兩個側壁交界形成的棱角處,當污水從進水分水管噴出時,污水與缺氧池的相鄰池壁發生碰撞并反射,而反射后的水流繼續碰撞,在池底形成紊流,使缺氧池底部污泥呈懸浮上升狀態。
作為進一步的技術方案,所述缺氧池和所述好氧池之間設有回流管,所述回流管的進水端設置在所述好氧池的池底,且安裝有回流泵。
作為進一步的技術方案,所述回流管靠近所述缺氧池的一端連接有多個回流分水管,所述回流分水管位于所述進水分水管的上方,且所述回流分水管與所述進水分水管在所述缺氧池底部的豎直投影交錯分布。通過上述技術方案,通過將回流管的進水端設置在好氧池的池底,當啟動回流泵后,能夠將好氧池底的硝化液泵送到缺氧池內;通過回流分水管的設置,可以將硝化液更加均勻排入缺氧池內,而由于回流分水管與進水分水管在缺氧池底部的豎直投影交錯分布,缺氧池底部上升的污水混合物經回流消化液沖擊后,形成水力自攪拌效果,使污水與硝化液充分混合并呈懸浮狀態。
作為進一步的技術方案,所述沉淀池內底端設置有斜管,所述斜管用于儲存污水中的污泥,所述斜管的下端連接有排泥管,所述斜管的上端固定設置有斜管填料。
作為進一步的技術方案,所述沉淀池入水管靠近所述沉淀池的一端連接有中心導流筒,所述中心導流筒豎直布設在所述沉淀池內,所述導流筒上下端分別位于所述斜管填料的上下兩側,所述導流筒的下端通過若干個支撐桿連接有反射板。
作為進一步的技術方案,所述沉淀池內還固定設置有集水槽,所述集水槽位于所述斜管填料的上方,所述集水槽的上端固定設置有溢流堰,且所述中心導流筒的上端位于所述溢流堰上方。通過上述技術方案,能夠實現對污水的沉淀排雜處理。具體地,通過中心導流筒和中心導流筒下端反射板的設置,污水通過中心導流筒進入沉淀池底部,并通過下方反射板沖擊反流,在沿斜管內上升流動過程中遇上部斜管填料阻擋,雜質、污泥顆粒在重力作用下沿著斜管向下滑沉積至沉淀池中斜管內,并通過排泥管定期排出;沉淀池上層清水經溢流堰進入集水槽內,并通過槽底出水管排出。
作為進一步的技術方案,所述曝氣機構包括曝氣管,所述曝氣管水平設置在所述好氧池的池底,所述曝氣管上安裝有多個曝氣盤,且多個所述曝氣盤均勻布設在所述曝氣管上端。通過上述技術方案,多個均勻布設的曝氣盤設置,能夠由池底向上對好氧池內污水進行均勻而充分的曝氣過程。
一種AO污水低耗處理方法,所述方法包括:
S1、將污水通過所述進水管通入所述缺氧池進行缺氧處理;
S2、驅動所述回流泵,將所述好氧池底部的消化液輸送至所述缺氧池內;
S3、待污水經所述過水管進入所述好氧池后,利用曝氣盤對污水進行曝氣處理,并將經曝氣處理后的污水通過所述沉淀池入水管通入所述沉淀池。
本發明的有益效果:
(1)本發明將傳統的缺氧池機械攪拌方式改進為利用進水和回流水的動能,通過分水器形成水力自攪拌,對缺氧池內污水產生強烈的擾動、攪拌、剪切、沖擊作用,使污泥呈懸浮狀態,有效防止污泥沉淀。大大降低了能耗及減少設備投資,同時實現免維護;
(2)本發明在好氧池縱向布設有交錯分布的L型擋板,氣水混合物在上升過程中經過L型擋板的層層阻擋、反復沖撞,行程路徑大大增長,增加了停留時間,空氣中的氧與污水充分接觸溶解和吸收,大大提高了氧的傳質效率,實現高效溶氧;
(3)本發明創新性地將豎流沉淀池和斜管填料組合起來,使沉降效果大大加強,實現高效沉淀。
(發明人:張友德;張明;張慶玲;錢益武;王清泉;陳明根)






