公布日:2023.10.20
申請日:2023.08.11
分類號:C02F1/00(2023.01)I;B01D33/00(2006.01)I;B01D33/80(2006.01)I
摘要
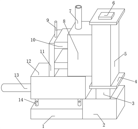
本發明公開了一種工業廢水節能環保處理方法,包括支撐底塊,所述支撐底塊的右側通過螺栓連接有臺體,所述臺體的上方設置有罩體,且罩體的頂部和底部均為開口設置,所述罩體的頂部和底部均通過螺栓連接有蓋板,位于下方的所述蓋板的底部通過螺栓連接有對接塊,且對接塊的底部通過螺栓連接在臺體的頂部上,所述罩體的左側設置有過濾盒體,且罩體的左側開設與過濾盒體相匹配的通孔,本發明通過伺服電機、旋轉軸、對接軸及直板等部件之間的相互配合,可實現帶動過濾盒體、導水盒體、加壓殼體及回收盒體等部件前后擺動,使得其能對過濾盒體進行搖晃,從而能進行有效的固液分離,提高了其處理效率,同時可實現有效的分流,提高了其導流效率。

權利要求書
1.一種工業廢水節能環保處理方法,包括支撐底塊(1),其特征在于:所述支撐底塊(1)的右側通過螺栓連接有臺體(2),所述臺體(2)的上方設置有罩體(5),且罩體(5)的頂部和底部均為開口設置,所述罩體(5)的頂部和底部均通過螺栓連接有蓋板(4),位于下方的所述蓋板(4)的底部通過螺栓連接有對接塊(3),且對接塊(3)的底部通過螺栓連接在臺體(2)的頂部上,所述罩體(5)的左側設置有過濾盒體(8),且罩體(5)的左側開設與過濾盒體(8)相匹配的通孔,所述過濾盒體(8)的右側穿過通孔延伸至罩體(5)內通過螺栓連接有直板(21),所述直板(21)的右側靠近頂部和底部處均通過螺栓連接有T形板(18),兩個所述T形板(18)之間通過螺栓連接有對接軸(17),所述蓋板(4)與T形板(18)相對的一側通過螺栓連接有貼合板(20),兩個所述T形板(18)相遠離的一側均通過螺栓連接有旋轉軸(19),且旋轉軸(19)與T形板(18)相遠離的一端通過軸承與貼合板(20)和蓋板(4)活動連接,位于上方的所述蓋板(4)的頂部通過螺栓連接有伺服電機(6),位于上方的所述旋轉軸(19)的底端穿過軸承的內圈與伺服電機(6)的輸出軸固定連接,所述過濾盒體(8)的頂部靠近左側處連通連接有進料管(7),所述過濾盒體(8)內滑動連接有滑動板(23),且滑動板(23)的側壁上開設有兩個穿槽(31),兩個所述穿槽(31)內穿設有攔污網(22),且攔污網(22)的左右兩側分別與過濾盒體(8)的左側內壁及直板(21)的左側側壁相接觸,所述罩體(5)的后側安裝有推拉門,且滑動板(23)的后壁通過螺栓連接在推拉門的前壁上。
2.根據權利要求1所述的一種工業廢水節能環保處理方法,其特征在于:兩個所述T形板(18)之間靠近底部處通過螺栓連接有豎板(15),且豎板(15)的左側通過螺栓連接有電缸(16),所述電缸(16)的左端貫穿直板(21),且電缸(16)的左端通過螺栓連接在滑動板(23)的右側側壁上。
3.根據權利要求1所述的一種工業廢水節能環保處理方法,其特征在于:所述過濾盒體(8)的左側連通連接有導水盒體(10),且導水盒體(10)的右側為開口設置,兩個所述導水盒體(10)的左側通過螺栓連接同一個加壓殼體(11),且過濾盒體(8)和加壓殼體(11)的底部分別連通連接有第一出水管(26)和第二出水管(27),所述導水盒體(10)與加壓殼體(11)之間連通連接有橫管(25)。
4.根據權利要求1所述的一種工業廢水節能環保處理方法,其特征在于:兩個所述導水盒體(10)內靠近左側處通過螺栓連接有過濾網(24),且兩個導水盒體(10)的內腔底部分別與兩個攔污網(22)的頂部相持平。
5.根據權利要求1所述的一種工業廢水節能環保處理方法,其特征在于:所述第一出水管(26)和第二出水管(27)的底端連通連接有同一個回收盒體(12),且回收盒體(12)的底部通過螺栓連接在臺體(2)的頂部上,所述回收盒體(12)的底部靠近左右兩側處均連通連接有排水管(14),且排水管(14)上安裝有閥門(29)。
6.根據權利要求1所述的一種工業廢水節能環保處理方法,其特征在于:所述加壓殼體(11)的頂部貫穿連接有電動推桿(9),且電動推桿(9)的底端通過螺栓連接有加壓塊(30),并且加壓塊(30)滑動連接在加壓殼體(11)內。
7.根據權利要求1所述的一種工業廢水節能環保處理方法,其特征在于:所述回收盒體(12)的左側貫穿連接有電動伸縮桿(13),且電動伸縮桿(13)的右端通過螺栓連接有推動板(28),并且推動板(28)滑動連接在回收盒體(12)內。
8.根據權利要求1-7任一項所述的一種工業廢水節能環保處理的方法,其特征在于,包括以下步驟:S1:首先通過支撐底塊(1)和臺體(2)置于所需位置上,隨后通過進料管(7)往過濾盒體(8)注入廢水;S2:然后啟動伺服電機(6)和電缸(16),伺服電機(6)通過旋轉軸(19)和T形板(18)帶動直板(21)前后擺動,而直板(21)帶動過濾盒體(8)、導水盒體(10)、加壓殼體(11)及回收盒體(12)前后擺動;S3:隨之電缸(16)上的推桿伸縮帶動滑動板(23)在攔污網(22)上左右滑動,將水推入導水盒體(10),并經由第一出水管(26)和第二出水管(27)導入至回收盒體(12)內;S4:然后打開閥門(29)并由排水管(14)排出,電動推桿(9)帶動加壓塊(30)在加壓殼體(11)內上下滑動;S5:隨后電動伸縮桿(13)帶動推動板(28)在回收盒體(12)內左右滑動,可實現有效的加壓和推動水流,實現輔助出水。
發明內容
本發明解決的技術問題在于克服現有技術的缺陷,提供一種工業廢水節能環保處理方法。
為實現上述目的,本發明提供如下技術方案:一種工業廢水節能環保處理方法,包括支撐底塊,所述支撐底塊的右側通過螺栓連接有臺體,所述臺體的上方設置有罩體,且罩體的頂部和底部均為開口設置,所述罩體的頂部和底部均通過螺栓連接有蓋板,位于下方的所述蓋板的底部通過螺栓連接有對接塊,且對接塊的底部通過螺栓連接在臺體的頂部上,所述罩體的左側設置有過濾盒體,且罩體的左側開設與過濾盒體相匹配的通孔,所述過濾盒體的右側穿過通孔延伸至罩體內通過螺栓連接有直板,所述直板的右側靠近頂部和底部處均通過螺栓連接有T形板,兩個所述T形板之間通過螺栓連接有對接軸,所述蓋板與T形板相對的一側通過螺栓連接有貼合板,兩個所述T形板相遠離的一側均通過螺栓連接有旋轉軸,且旋轉軸與T形板相遠離的一端通過軸承與貼合板和蓋板活動連接,位于上方的所述蓋板的頂部通過螺栓連接有伺服電機,位于上方的所述旋轉軸的底端穿過軸承的內圈與伺服電機的輸出軸固定連接,所述過濾盒體的頂部靠近左側處連通連接有進料管,所述過濾盒體內滑動連接有滑動板,且滑動板的側壁上開設有兩個穿槽,兩個所述穿槽內穿設有攔污網,且攔污網的左右兩側分別與過濾盒體的左側內壁及直板的左側側壁相接觸,所述罩體的后側安裝有推拉門,且滑動板的后壁通過螺栓連接在推拉門的前壁上。
優選的,兩個所述T形板之間靠近底部處通過螺栓連接有豎板,且豎板的左側通過螺栓連接有電缸,所述電缸的左端貫穿直板,且電缸的左端通過螺栓連接在滑動板的右側側壁上。
優選的,所述過濾盒體的左側連通連接有導水盒體,且導水盒體的右側為開口設置,兩個所述導水盒體的左側通過螺栓連接同一個加壓殼體,且過濾盒體和加壓殼體的底部分別連通連接有第一出水管和第二出水管,所述導水盒體與加壓殼體之間連通連接有橫管。
優選的,兩個所述導水盒體內靠近左側處通過螺栓連接有過濾網,且兩個導水盒體的內腔底部分別與兩個攔污網的頂部相持平。
優選的,所述第一出水管和第二出水管的底端連通連接有同一個回收盒體,且回收盒體的底部通過螺栓連接在臺體的頂部上,所述回收盒體的底部靠近左右兩側處均連通連接有排水管,且排水管上安裝有閥門。
優選的,所述加壓殼體的頂部貫穿連接有電動推桿,且電動推桿的底端通過螺栓連接有加壓塊,并且加壓塊滑動連接在加壓殼體內。
優選的,所述回收盒體的左側貫穿連接有電動伸縮桿,且電動伸縮桿的右端通過螺栓連接有推動板,并且推動板滑動連接在回收盒體內。
一種工業廢水節能環保處理的方法,包括以下步驟:
S1:首先通過支撐底塊和臺體置于所需位置上,隨后通過進料管往過濾盒體注入廢水;
S2:然后啟動伺服電機和電缸,伺服電機通過旋轉軸和T形板帶動直板前后擺動,而直板帶動過濾盒體、導水盒體、加壓殼體及回收盒體前后擺動;
S3:隨之電缸上的推桿伸縮帶動滑動板在攔污網上左右滑動,將水推入導水盒體,并經由第一出水管和第二出水管導入至回收盒體內;
S4:然后打開閥門并由排水管排出,電動推桿帶動加壓塊在加壓殼體內上下滑動;
S5:隨后電動伸縮桿帶動推動板在回收盒體內左右滑動,可實現有效的加壓和推動水流,實現輔助出水。
與現有技術相比,本發明的有益效果是:本發明通過伺服電機、旋轉軸、對接軸及直板等部件之間的相互配合,可實現帶動過濾盒體、導水盒體、加壓殼體及回收盒體等部件前后擺動,使得其能對過濾盒體進行搖晃,從而能進行有效的固液分離,提高了其處理效率,同時可實現有效的分流,提高了其導流效率。
(發明人:張娜)






