公布日:2024.04.02
申請日:2024.01.25
分類號:C02F1/00(2023.01)I
摘要
本發明提供一種集成式污水處理裝置及其操作方法,該裝置包括凈水罐、污水箱和集濾器,污水箱內儲存未處理污水,凈水罐內儲存過濾后的凈水,凈水罐設有進水口和排水泵,集濾器包括罐體,罐體內設有豎向設置的濾活塞,濾活塞與活塞缸的活塞桿連接,活塞缸設置在罐體外側或罐體內,濾活塞將罐體分隔為凈水腔和污水腔,污水腔側壁的污水口設有污水閥,污水口通過管道和污水泵與污水箱連接,凈水腔通過管道與凈水罐的進水口或另一組集濾器的污水口連接,污水腔底部設有排渣口,排渣口設有排渣閥。該污水處理裝置采用集成化、模塊化,便于安拆和轉移,對污水進行過濾處理。

權利要求書
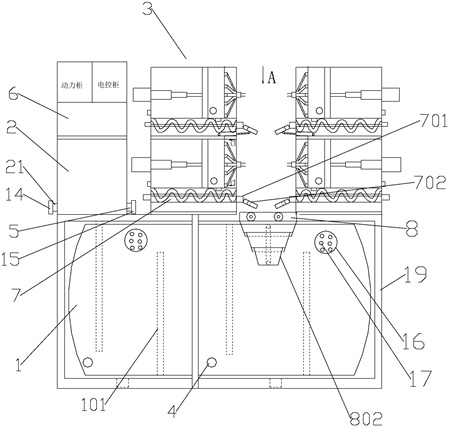
1.一種集成式污水處理裝置,其特征在于,包括凈水罐(1)、污水箱(2)和集濾器(3),污水箱(2)內儲存未處理污水,凈水罐(1)內儲存過濾后的凈水,凈水罐(1)設有進水口和排水泵(4),集濾器(3)包括罐體(301),罐體(301)內設有豎向設置的濾活塞(302),濾活塞(302)與活塞缸(303)的活塞桿連接,活塞缸(303)設置在罐體(301)側壁,濾活塞(302)將罐體(301)分隔為凈水腔(304)和污水腔(305),污水腔(305)側壁的污水口設有污水閥(306),污水口通過管道和污水泵(5)與污水箱(2)連接,凈水腔(304)通過管道與凈水罐(1)的進水口或另一組集濾器(3)的污水口連接,污水腔(305)底部設有排渣口(307),排渣口(307)設有排渣閥,污液由多個集濾器(3)采用串聯或并聯方式進行凈化處理,每個集濾器(3)為一個獨立運行的過濾單元,集濾器(3)根據處理能力的需要進行組裝疊加;所述集濾器(3)下方設有出渣機(7),出渣機(7)為螺旋輸送機,螺旋輸送機的料腔位于排渣口(307)下方,出渣機(7)的一端設有第一出渣口(701),螺旋輸送機正轉進行存料,反轉將污泥向第一出渣口(701)方向輸送,進行出料,所述第一出渣口(701)設有第一溜槽(702),第一溜槽(702)設置在集渣斗(8)上方,所述第一溜槽(702)包括多節溜槽段(11),溜槽段(11)相互套設組成可以伸縮的溜槽,出渣機(7)端部設置伸縮缸(12),伸縮缸(12)的伸縮桿與最后一節溜槽段(11)鉸接,出渣機(7)端部設有支撐卷板(13),首節溜槽段(11)端部設有與支撐卷板(13)配合的限位卷板(1101),當集濾器(3)分層設置時,為避免第一溜槽(702)影響下層集濾器(3)的出渣效果,上下層錯時出渣,上下層錯時出渣操作為:在上層集濾器(3)對應的第一溜槽(702)伸出出渣時,下層集濾器(3)對應的第一溜槽(702)縮回。
2.根據權利要求1所述的一種集成式污水處理裝置,其特征在于,所述濾活塞(302)由內襯鋼支架的柔性多層過濾材料組成。
3.根據權利要求1所述的一種集成式污水處理裝置,其特征在于,所述凈水罐(1)外側設有鋼架(19),污水箱(2)和集濾器(3)放置在鋼架(19)上側。
4.根據權利要求1所述的一種集成式污水處理裝置,其特征在于,所述污水腔(305)內設有清污隔板(308),清污隔板(308)與罐體(301)外壁組成噴氣腔(309),清污隔板(308)上設有若干對濾活塞(302)進行噴氣的噴嘴(310),噴嘴(310)依次連接逆止閥(311)、噴氣管道(312)和總氣閥(313),總氣閥(313)通過氣管與空壓機(6)連接。
5.根據權利要求1所述的一種集成式污水處理裝置,其特征在于,所述集渣斗(8)內設有螺旋輸料機構,螺旋輸料機構包括設置在集渣斗(8)內的輸料軸(9),輸料軸(9)上設有螺旋葉片(10),輸料軸(9)通過電機驅動,集渣斗(8)一端設有第二出渣口(801),第二出渣口(801)設置第二溜槽(802)。
6.根據權利要求1所述的一種集成式污水處理裝置,其特征在于,所述溜槽段(11)為上大下小的弧形槽。
7.根據權利要求1所述的一種集成式污水處理裝置,其特征在于,所述溜槽段(11)下端的內側設有下限位鉤(22),上端的外側均設有上限位鉤(23),溜槽伸長展開后,溜槽段(11)的上限位鉤(23)與前一節的溜槽段(11)的下限位鉤(22)相互扣合。
8.根據權利要求1所述的一種集成式污水處理裝置,其特征在于,所述污水箱(2)的進水口依次設置進污閥(21)和進污盤(14),污水泵(5)的排水口設有排污盤(15),凈水罐(1)的進水口設有進水盤(16),進污盤(14)、排污盤(15)以及進水盤(16)上均設有若干輸水口(17),輸水口(17)與連接的管道螺紋連接。
9.根據權利要求8所述的一種集成式污水處理裝置,其特征在于,所述輸水口(17)內設有單向閥(18)。
10.根據權利要求1所述的一種集成式污水處理裝置,其特征在于,所述凈水罐(1)內設有若干豎向設置的阻尼板(101)。
11.根據權利要求1~10任一項所述的一種集成式污水處理裝置的操作方法,其特征在于,包括如下步驟:步驟一、將工程施工污水儲存至污水箱(2)中,通過污水泵(5)和管道將污水輸送至集濾器(3)的污水腔(305)內;步驟二、啟動活塞缸(303),濾活塞(302)向污水腔(305)方向移動,在壓力的作用下,污水穿過濾活塞(302)進入凈水腔(304),壓濾后的凈水通過管道輸送至凈水罐(1)內儲存或輸送至下一組集濾器(3)內進行壓濾,活塞缸(303)回縮復位;步驟三、開啟排渣口(307)的排渣閥,污水腔(305)中污泥落料;步驟四、當濾活塞(302)多次壓濾后需要清理時,啟動活塞缸(303)將濾活塞(302)移動至清污隔板(308)一側,開啟空壓機(6)和總氣閥(313),高壓氣體通過空壓機(6)的管道從總氣閥(313)進入,通過噴氣管道(312)分流后,再從清污隔板(308)上的噴嘴(310)噴出,噴出的氣體沖擊濾活塞(302)上,將濾渣沖下,完成清理后,開啟排渣口(307)的排渣閥,污水腔(305)中污泥落料,活塞缸(303)回縮復位。
12.根據權利要求11所述的一種集成式污水處理裝置的操作方法,其特征在于,所述步驟二中,集濾器(3)設置至少兩組,第一組集濾器(3)壓濾后的凈水輸送至下一組集濾器(3)內進行再次壓濾,沿污水的壓濾順序,集濾器(3)的濾活塞(302)的孔隙逐漸變小,最后一組集濾器(3)壓濾后的凈水輸送至凈水罐(1)進行儲存。
13.根據權利要求11所述的一種集成式污水處理裝置的操作方法,其特征在于,所述步驟二中,集濾器(3)設置多組,污水箱(2)的排污盤(15)通過多條管道同時與多組集濾器(3)的污水口連接,多組集濾器(3)同時運行,壓濾后的凈水通過管道和進水盤(16)輸送至凈水罐(1)內。
14.根據權利要求11所述的一種集成式污水處理裝置的操作方法,其特征在于,所述步驟三中,污水腔(305)中污泥落料至出渣機(7)中,螺旋輸送機正轉進行存料,將污泥向第一出渣口(701)的反方向輸送,進行存料,螺旋輸送機反轉,將污泥向第一出渣口(701)方向輸送,進行出料,排料至集渣斗(8)中進行渣料收集。
15.根據權利要求14所述的一種集成式污水處理裝置的操作方法,其特征在于,所述步驟三中,出渣機(7)在進行排料之前,首先啟動第一溜槽(702)下側的伸縮缸(12),將各節溜槽段(11)拉出,使第一溜槽(702)伸長展開,當完成出渣后,伸縮缸(12)回縮,將各節溜槽段(11)收回,使第一溜槽(702)回縮收納。
發明內容
本發明所要解決的技術問題是提供一種集成式污水處理裝置及其操作方法,采用集成化、模塊化,便于安拆和轉移,對污水進行過濾處理。
為解決上述技術問題,本發明所采用的技術方案是:一種集成式污水處理裝置,包括凈水罐、污水箱和集濾器,污水箱內儲存未處理污水,凈水罐內儲存過濾后的凈水,凈水罐設有進水口和排水泵,集濾器包括罐體,罐體內設有豎向設置的濾活塞,濾活塞與活塞缸的活塞桿連接,活塞缸設置在罐體側壁,濾活塞將罐體分隔為凈水腔和污水腔,污水腔側壁的污水口設有污水閥,污水口通過管道和污水泵與污水箱連接,凈水腔通過管道與凈水罐的進水口或另一組集濾器的污水口連接,污水腔底部設有排渣口,排渣口設有排渣閥。
優選的方案中,所述濾活塞由內襯鋼支架的柔性多層過濾材料組成。
優選的方案中,所述凈水罐外側設有鋼架,污水箱和集濾器放置在鋼架上側。
優選的方案中,所述污水腔內設有清污隔板,清污隔板與罐體外壁組成噴氣腔,清污隔板上設有若干對濾活塞進行噴氣的噴嘴,噴嘴依次連接逆止閥、噴氣管道和總氣閥,總氣閥通過氣管與空壓機連接。
優選的方案中,所述集濾器下方設有出渣機,出渣機為螺旋輸送機,螺旋輸送機的料腔位于排渣口下方,出渣機的一端設有第一出渣口,,螺旋輸送機正轉進行存料,反轉將污泥向第一出渣口方向輸送,進行出料。
優選的方案中,所述第一出渣口設有第一溜槽,第一溜槽設置在集渣斗上方。
優選的方案中,所述集渣斗內設有螺旋輸料機構,螺旋輸料機構包括設置在集渣斗內的輸料軸,輸料軸上設有螺旋葉片,輸料軸通過電機驅動,集渣斗一端設有第二出渣口,第二出渣口設置第二溜槽。
優選的方案中,所述第一溜槽或第二溜槽均包括多節溜槽段,溜槽段相互套設組成可以伸縮的溜槽,出渣機或集渣斗端部固定伸縮缸,伸縮缸的伸縮桿與最后一節溜槽段鉸接,出渣機或集渣斗端部設有支撐卷板,首節溜槽段端部設有與支撐卷板配合的限位卷板。
優選的方案中,所述溜槽段為上大下小的弧形槽。
優選的方案中,所述溜槽段下端的內側設有下限位鉤,上端的外側均設有上限位鉤,溜槽伸長展開后,溜槽段的上限位鉤與前一節的溜槽段的下限位鉤相互扣合。
優選的方案中,所述污水箱的進水口依次設置進污閥和進污盤,污水泵的排水口設有排污盤,凈水罐的進水口設有進水盤,進污盤、排污盤以及進水盤上均設有若干輸水口,輸水口與連接的管道螺紋連接。
優選的方案中,所述輸水口內設有單向閥。
優選的方案中,所述凈水罐內設有若干豎向設置的阻尼板。
本發明還提供一種集成式污水處理裝置的操作方法,包括如下步驟:
步驟一、將工程施工污水儲存至污水箱中,通過污水泵和管道將污水輸送至集濾器的污水腔內;
步驟二、啟動活塞缸,濾活塞向污水腔方向移動,在壓力的作用下,污水穿過濾活塞進入凈水腔,壓濾后的凈水通過管道輸送至凈水罐內儲存或輸送至下一組集濾器內進行壓濾,活塞缸回縮復位;
步驟三、開啟排渣口的排渣閥,污水腔中污泥落料;
步驟四、當濾活塞多次壓濾后需要清理時,啟動活塞缸將濾活塞移動至清污隔板一側,開啟空壓機和總氣閥,高壓氣體通過空壓機的管道從總氣閥進入,通過噴氣管道分流后,再從清污隔板上的噴嘴噴出,噴出的氣體沖擊濾活塞上,將濾渣沖下,完成清理后,開啟排渣口的排渣閥,污水腔中污泥落料,活塞缸回縮復位。
優選的方案中,所述步驟二中,集濾器設置至少兩組,第一組集濾器壓濾后的凈水輸送至下一組集濾器內進行再次壓濾,沿污水的壓濾順序,集濾器的濾活塞的孔隙逐漸變小,最后一組集濾器壓濾后的凈水輸送至凈水罐進行儲存。
優選的方案中,所述步驟二中,集濾器設置多組,污水箱的排污盤通過多條管道同時與多組集濾器的污水口連接,多組集濾器同時運行,壓濾后的凈水通過管道和進水盤輸送至凈水罐內。
優選的方案中,所述步驟三中,污水腔中污泥落料至出渣機中,通過螺旋輸送將其輸送至第一出渣口,螺旋輸送機正轉進行存料,將污泥向第一出渣口的反方向輸送,進行存料,螺旋輸送機反轉,將污泥向第一出渣口方向輸送,進行出料,排料至集渣斗中進行渣料收集。
優選的方案中,所述步驟三中,出渣機在進行排料之前,首先啟動第一溜槽下側的伸縮缸,將各節溜槽段拉出,使第一溜槽伸長展開,當完成出渣后,伸縮缸回縮,將各節溜槽段收回,使第一溜槽回縮收納。
本發明提供的一種集成式污水處理裝置及其操作方法,具有以下有益效果:
1、模塊化設計。本裝置采用模塊化設計,方便轉運的同時,能根據需求處理能力,快速進行連接和拓展,如可根據需要以并聯或串聯方式快速連接任意多個集濾器,規模化效益好。
2、高度集成化。本裝置通過高度集成化,將污液多級處理、廢渣收集、凈液分級等多流程的裝置集成一體,滿足了洞室內和小空間內的使用需求。
3、功能多樣。本裝置不僅可以用于廢水處理,還可用于各種廢液的處理,不僅可以用于水利水電、各類建筑、環境保護、生產和生活供水等各種場合,功能多樣,應用范圍廣泛。
4、簡單實用。本裝置結構精巧簡單,易于安裝和檢修,實用性很強,非常適合大范圍應用和推廣。
(發明人:譚志國;高鵬;靳鵬;徐康)






