公布日:2024.03.29
申請日:2024.01.26
分類號:C02F1/48(2023.01)I
摘要
本發明提供了一種用于市政污水處理磁混凝工藝的磁介質投加裝置,涉及污水處理技術領域,包括料斗,料斗下側貫通連接有輸送殼,輸送殼內設置有螺旋輸送裝置,料斗的出料口還設置有閥門,料斗內設置有刻度線,料斗內設置有刻度線內壁上還設置有磁介質監測裝置,料斗內還安裝有磁介質攪拌裝置。本發明通過料斗存儲磁介質,通過磁介質攪拌裝置的攪拌可防止磁介質板結,使得磁介質與水體反應均勻,提高污水處理效果;通過所述螺旋輸送裝置投加,磁介質可以定時定量均勻投加到水體當中,且設置刻度線和磁介質監測裝置,可以實時監測料斗內的磁介質數量,同時避免人為投加的不精確。

權利要求書
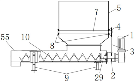
1.一種用于市政污水處理磁混凝工藝的磁介質投加裝置,其特征在于,包括料斗(5),料斗(5)下側貫通連接有輸送殼(55),輸送殼(55)內設置有螺旋輸送裝置,料斗(5)的出料口還設置有閥門,料斗(5)內設置有刻度線,料斗(5)內壁上還設置有磁介質監測裝置(11),料斗(5)內還安裝有磁介質攪拌裝置(6),料斗(5)上還設置有震動機構(12)。
2.根據權利要求1所述的一種用于市政污水處理磁混凝工藝的磁介質投加裝置,其特征在于,震動機構(12)用于對料斗(5)進行震動。
3.根據權利要求1所述的一種用于市政污水處理磁混凝工藝的磁介質投加裝置,其特征在于,料斗(5)設置為上寬下窄的漏斗狀,料斗(5)下端固定設置有若干支撐柱(13)。
4.根據權利要求1所述的一種用于市政污水處理磁混凝工藝的磁介質投加裝置,其特征在于,輸送殼(55)設置為中空圓柱體。
5.根據權利要求1所述的一種用于市政污水處理磁混凝工藝的磁介質投加裝置,其特征在于,螺旋輸送裝置包括有螺旋葉片(10),螺旋葉片(10)安裝于輸送殼(55)內,螺旋葉片(10)用于對物料進行輸送。
6.根據權利要求5所述的一種用于市政污水處理磁混凝工藝的磁介質投加裝置,其特征在于輸送殼(55)下端固定設置有若干支撐桿(9)。
7.根據權利要求5所述的一種用于市政污水處理磁混凝工藝的磁介質投加裝置,輸送殼(55)右端貫通連接有固定箱(50),固定箱(50)右側設置有驅動組件,驅動組件用于驅動螺旋葉片(10)旋轉。
8.根據權利要求7所述的一種用于市政污水處理磁混凝工藝的磁介質投加裝置,驅動組件包括驅動箱(14),驅動箱(14)下端固定連接有減速機(15),驅動箱(14)內安裝有驅動電機(1),驅動電機(1)的下側輸出端與減速機(15)相連接,減速機(15)的左側輸出端固定連接有轉動桿(29),轉動桿(29)轉動貫穿固定箱(50),固定箱(50)內設置有轉動鏈輪件一(2),固定箱(50)上設置有開口,轉動鏈輪件一(2)上安裝有鏈條(3),鏈條(3)從開口向上延伸出固定箱(50),轉動桿(29)轉動延伸進輸送殼(55)內,轉動桿的左端固定連接螺旋葉片(10)。
9.根據權利要求5所述的一種用于市政污水處理磁混凝工藝的磁介質投加裝置,其特征在于,磁介質攪拌裝置(6)包括轉動軸件(7),轉動軸件(7)轉動貫穿料斗(5)左右兩側壁,轉動軸件(7)與料斗(5)的貫穿位置設置有轉動軸件固定件(8),轉動軸件(7)右側轉動連接在驅動箱(14)外壁上,轉動軸件(7)左側轉動連接有安裝箱件(21),安裝箱件(21)固定設置于輸送殼(55)上,轉動軸件(7)上固定設置有轉動鏈輪件二(4),轉動鏈輪件二(4)與鏈條(3)相配合,轉動軸件(7)上還設置有攪拌組件。
10.根據權利要求9所述的一種用于市政污水處理磁混凝工藝的磁介質投加裝置,其特征在于,攪拌組件用于對物料進行攪拌。
發明內容
本發明提供一種用于市政污水處理磁混凝工藝的磁介質投加裝置,用以解決上述背景技術中提出的問題的至少一種。
為解決上述技術問題,本發明公開了一種用于市政污水處理磁混凝工藝的磁介質投加裝置,包括料斗,料斗下側貫通連接有輸送殼,輸送殼內設置有螺旋輸送裝置,料斗的出料口還設置有閥門,料斗內設置有刻度線,料斗內壁上還設置有磁介質監測裝置,料斗內還安裝有磁介質攪拌裝置,料斗上還設置有震動機構。
優選的,螺旋輸送裝置包括有螺旋葉片,螺旋葉片安裝于輸送殼內,輸送殼下端固定設置有若干支撐桿,輸送殼右端貫通連接有固定箱,固定箱右側設置有驅動組件,驅動組件包括驅動箱,驅動箱下端固定連接有減速機,驅動箱內安裝有驅動電機,驅動電機的下側輸出端與減速機相連接,減速機的左側輸出端固定連接有轉動桿,轉動桿轉動貫穿固定箱,固定箱內設置有轉動鏈輪件一,固定箱上設置有開口,轉動鏈輪件一上安裝有鏈條,鏈條從開口向上延伸出固定箱,轉動桿轉動延伸進輸送殼內,轉動桿的左端固定連接螺旋葉片。
優選的,磁介質攪拌裝置包括轉動軸件,轉動軸件轉動貫穿料斗左右兩側壁,轉動軸件與料斗的貫穿位置設置有轉動軸件固定件,轉動軸件右側轉動連接在驅動箱外壁上,轉動軸件左側轉動連接有安裝箱件,安裝箱件固定設置于輸送殼上,轉動軸件上固定設置有轉動鏈輪件二,轉動鏈輪件二與鏈條相配合,轉動軸件上還設置有攪拌組件。
優選的,攪拌組件包括兩個左右對稱的往復絲桿件,往復絲桿件包覆設置于轉動軸件上,往復絲桿件上螺紋連接有C型桿件,C型桿件的兩個水平段滑動延伸進料斗內,料斗左右兩側內壁上固定設置有圓筒件,圓筒件上滑動設置有驅動筒件,兩個驅動筒件相互靠近的一側滑動延伸出圓筒件,驅動筒件上固定設置有上下對稱的連接桿,連接桿的另一端與C型桿件固定連接,驅動筒件相互靠近的一側轉動連接有轉動圓塊件,圓筒件與轉動軸件轉動連接,驅動筒件和轉動圓塊件與轉動軸件滑動連接,轉動軸件上固定設置有若干伸縮桿,伸縮桿遠離轉動軸件的一側設置有攪拌板,轉動圓塊件相互靠近的一側鉸接有若干驅動桿,驅動桿的另一端鉸接在攪拌板靠近轉動軸件的一側。
優選的,伸縮桿包括固定筒件,固定筒件遠離轉動軸件的一側開設有通孔一,通孔一內滑動設置有移動桿件,固定筒件內還滑動設置有滑動板,滑動板的一端固定連接移動桿件,滑動板的另一端固定連接有復位彈簧一,復位彈簧一的另一端固定連接在固定筒件內壁上。
優選的,圓筒件上開設有通孔二,通孔二內滑動設置有驅動筒件,圓筒件內滑動設置有移動板,移動板的一端固定連接驅動筒件,移動板的另一端固定連接有若干復位彈簧二,復位彈簧二的另一端固定連接在圓筒件內壁上。
優選的,轉動軸件左側轉動延伸進安裝箱件內,轉動軸件設置為空心,轉動軸件左側設置有貫通孔,轉動軸件上還設置有若干噴孔,安裝箱件內固定設置有風機,風機的一端貫通連接有進風管,進風管固定延伸出安裝箱件,風機的另一端固定連接有出風管,出風管周側盤設有電熱絲,出風管的另一端與轉動軸件左側轉動連接,且出風管的另一端與轉動軸件貫通連接。
優選的,震動機構包括旋轉桿件,旋轉桿件貫穿料斗,旋轉桿件左端轉動連接有固定塊件,旋轉桿件右端轉動連接在驅動箱外壁上,旋轉桿件上設置有轉動筒件,旋轉桿件上設置有連接鍵,轉動筒件上設置有鍵槽,旋轉桿件通過連接鍵和鍵槽與轉動筒件相配合,轉動筒件左右轉動延伸出料斗,且轉動筒件上固定設置有若干切割輪件。
優選的,輸送殼上固定設置有前后對稱的豎板件,兩個豎板件相互靠近的一側轉動連接有旋轉軸,旋轉軸上固定設置有錐齒輪件一,旋轉桿件上設置有錐齒輪件二,錐齒輪件一和錐齒輪件二嚙合連接,旋轉軸上還固定設置有圓盤,圓盤上固定設置有中心對稱的凸塊,轉動筒件右端轉動連接有移動環件,移動環件與旋轉桿件轉動連接,移動環件下端固定連接有滑動桿,滑動桿與輸送殼滑動連接,移動環件上固定設置有配合桿件,配合桿件上設置有抵接輪件,抵接輪件與圓盤相配合,轉動筒件左側還設置有敲擊組件。
優選的,敲擊組件包括固定盤件,固定盤件固定設置于轉動筒件上,轉動筒件上還套設有敲擊彈簧件,敲擊彈簧件的一端固定設置于料斗上,敲擊彈簧件的另一端轉動連接在固定盤件上,固定盤件上靠近料斗的一側固定設置有若干敲擊頭件;旋轉桿件上還固定設置有轉動鏈輪件三,轉動鏈輪件三與鏈條相配合。
與現有技術相比,本發明提供了一種用于市政污水處理磁混凝工藝的磁介質投加裝置,具備以下有益效果:本發明通過料斗存儲磁介質,通過磁介質攪拌裝置的攪拌可防止磁介質板結,使得磁介質與水體反應均勻,提高磁介質混凝工藝的污水處理效果;通過所述螺旋輸送裝置投加,磁介質可以定時定量均勻投加到水體當中,且設置刻度線和磁介質監測裝置,可以實時監測料斗內的磁介質數量,同時避免人為投加的不精確。
(發明人:李日標;周碧雯;穆貞;晏雙喜;胡方瑞;趙炯嶸;王松)






