公布日:2024.03.26
申請日:2023.08.18
分類號:C02F9/00(2023.01)I;C02F1/00(2023.01)N;C02F1/66(2023.01)N;C02F1/24(2023.01)N;C02F1/50(2023.01)N;C02F1/28(2023.01)N;C02F3/30(2023.01)N
摘要
本發明公開了一種城市污水零直排過濾系統及其過濾方法,包括用于承接城市各排污管道的污水匯集池、一級過濾處理子系統、雜質分離子系統、二級過濾處理子系統和凈化回流子系統,所述污水匯集池的輸出端連接有一級過濾處理子系統,所述污水匯集池與一級過濾處理子系統之間、一級過濾處理子系統與雜質分離子系統之間,雜質分離子系統與二級過濾處理子系統之間以及二級過濾處理子系統和凈化回流子系統之間均安裝有調節閥。該城市污水零直排過濾系統及其過濾方法,經過多重的過濾以及凈化,可以使城市的污水達到直接再次利用的標準,不用排放到河流或者湖泊中,直接回流到城市中的供水系統中,提高水資源的重復利用率,而且對城市污水的凈化效率高。

權利要求書
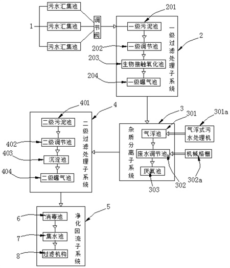
1.一種城市污水零直排過濾系統,包括用于承接城市各排污管道的污水匯集池(1)、一級過濾處理子系統(2)、雜質分離子系統(3)、二級過濾處理子系統(4)和凈化回流子系統(5),其特征在于:所述污水匯集池(1)的輸出端連接有一級過濾處理子系統(2),且一級過濾處理子系統(2)的輸出端連接有雜質分離子系統(3),所述雜質分離子系統(3)的輸出端連接有二級過濾處理子系統(4),且二級過濾處理子系統(4)的輸出端連接有凈化回流子系統(5),所述污水匯集池(1)與一級過濾處理子系統(2)之間、一級過濾處理子系統(2)與雜質分離子系統(3)之間,雜質分離子系統(3)與二級過濾處理子系統(4)之間以及二級過濾處理子系統(4)和凈化回流子系統(5)之間均安裝有調節閥。
2.根據權利要求1所述的一種城市污水零直排過濾系統,其特征在于:所述污水匯集池(1)設置有多個,且污水匯集池(1)的一側安裝有第一進水管(101),污水匯集池(1)遠離第一進水管(101)的一側安裝有第一出水管(102),其中,污水匯集池(1)的邊緣處安裝有固定環(103),且固定環(103)上安裝有軌道(104),所述有軌道(104)的內部安裝有兩個收卷輥(105),且收卷輥(105)的表面纏繞有雨布(106),同時兩個收卷輥(105)的內部均安裝有電機。
3.根據權利要求2所述的一種城市污水零直排過濾系統,其特征在于:所述一級過濾處理子系統(2)中包括有至少兩個以上的一級污泥池(201)、一級調節池(202)、生物接觸氧化池(203)和一級曝氣池(204),其中,一級污泥池(201)設置有多個,且多個一級污泥池(201)均與污水匯集池(1)的第一出水管(102)連通,所述一級污泥池(201)的輸出端與一級調節池(202)連通,且一級調節池(202)的輸出端與生物接觸氧化池(203)連通,同時生物接觸氧化池(203)的輸出端與一級曝氣池(204)連通。
4.根據權利要求1所述的一種城市污水零直排過濾系統,其特征在于:所述雜質分離子系統(3)中包括氣浮池(301)、廢水調節池(302)和厭氧池(303),其中,氣浮池(301)的進水端與一級過濾處理子系統(2)中的一級曝氣池(204)的出水端通過管道連接,氣浮池(301)的出水端與廢水調節池(302)的進水端通過管道連接,廢水調節池(302)的出水端與厭氧池(303)的進水端通過管道連接。
5.根據權利要求4所述的一種城市污水零直排過濾系統,其特征在于:所述氣浮式池(301)上安裝有氣浮式污水處理機(301a),所述廢水調節池(302)上安裝有機械格柵(302a)。
6.根據權利要求1所述的一種城市污水零直排過濾系統,其特征在于:所述二級過濾處理子系統(4)中包括有至少兩個以上的二級污泥池(401)、二級調節池(402)、沉淀池(403)和二級曝氣池(404),多個所述二級污泥池(401)的出水端與二級調節池(402)連通,二級調節池(402)的出水端與沉淀池(403)連通,沉淀池(403)的出水端與二級曝氣池(404)連通。
7.根據權利要求1所述的一種城市污水零直排過濾系統,其特征在于:所述凈化回流子系統(5)包括集水池(6)、消毒池(7)和過濾機構(8),其中,集水池(6)上安裝有氣浮刮渣機(601),集水池(6)的出水端與消毒池(7)連通,消毒池(7)的出水端與過濾機構(8)連通。
8.根據權利要求7所述的一種城市污水零直排過濾系統,其特征在于:所述過濾機構(8)包括第二進水管(9)、凈化罐(10)、回流排污管(11)、第二出水管(12)、活性炭吸附罐(13)、連接管(14)、水泵(15)和第三出水管(16),其中,凈化罐(10)的一側分別安裝有第二進水管(9)和第二出水管(12),且第二出水管(12)位于第二進水管(9)的上方,所述凈化罐(10)的另一側安裝有回流排污管(11),所述第二出水管(12)遠離凈化罐(10)的一端安裝有活性炭吸附罐(13),且活性炭吸附罐(13)遠離第二出水管(12)的一側安裝有連接管(14),所述連接管(14)遠離活性炭吸附罐(13)的一側安裝有水泵(15),且水泵(15)遠離連接管(14)的一側安裝有第三出水管(16)。
9.根據權利要求8所述的一種城市污水零直排過濾系統,其特征在于:所述凈化罐(10)的內部中間位置豎向安裝有連通管(1001),且連通管(1001)的一端安裝有排水頭(1002),同時連通管(1001)的另一端安裝有三通管(1007),其中,連通管(1001)通過三通管(1007)的一端與回流排污管(11)連通,同時連通管(1001)通過三通管(1007)的另一端與第二出水管(12)連通,所述凈化罐(10)的內部從下往上依次安裝有PP棉濾層(1003)、半滲透膜層(1004)、細砂濾層(1005)和粗砂濾層(1006)。
10.根據權利要求1-9任一項所述的一種城市污水零直排過濾系統的過濾方法,其特征在于:所述過濾方法包括下述操作步驟:步驟一:首先多個污水匯集池(1)的第一進水管(101)與城市各排污管道連通,用以將污水匯集在多個污水匯集池(1)的內部,收卷輥(105)在電動機的帶動下在軌道(104)上進行轉動使雨布(106)進行收卷,在雨天的時候雨布(106)鋪展打開,晴天的時候,雨布(106)收卷;步驟二:多個污水匯集池(1)從第一出水管(102)進入到一級過濾處理子系統(2)的內部進行過濾,首先經過一級污泥池(201)的過濾過濾其中的污泥,然后經過一級調節池(202)對污水的PH值進行調節,然后再經過生物接觸氧化池(203)和一級曝氣池(204)的過濾將污水中的雜質進行清除;步驟三:然后污水從一級過濾處理子系統(2)的內部進入到雜質分離子系統(3)中對污水中的雜質進一步的進行分離,污水首先經過氣浮池(301)利用氣浮式污水處理機(301a)對污水進行處理,然后再經過廢水調節池(302)和厭氧池(303)對污水進行處理;步驟四:然后污水從雜質分離子系統(3)進入到二級過濾處理子系統(4)中對污水進行過濾,其中污水依次經過二級污泥池(401)、二級調節池(402)、沉淀池(403)和二級曝氣池(404)對污水進一步的進行凈化;步驟五:然后污水從二級過濾處理子系統(4)進入到凈化回流子系統(5)進行凈化,首先污水在集水池(6)中進行收集,然后污水進入到消毒池(7)中進行消毒,然后經過過濾機構(8)中進行過濾,其中,污水首先經過第二進水管(9)進入到凈化罐(10)的內部,污水首先依次經過粗砂濾層(1006)、細砂濾層(1005)、半滲透膜層(1004)和PP棉濾層(1003)的過濾從第二出水管(12)進入到活性炭吸附罐(13)中進一步的進行過濾,最后經過水泵(15)從第三吹水管(16)中排出。
發明內容
本發明的目的在于提供一種城市污水零直排過濾系統及其過濾方法,以解決上述背景技術中提出的現有的問題。
為實現上述目的,本發明提供如下技術方案:一種城市污水零直排過濾系統及其過濾方法,包括用于承接城市各排污管道的污水匯集池、一級過濾處理子系統、雜質分離子系統、二級過濾處理子系統和凈化回流子系統:
所述污水匯集池的輸出端連接有一級過濾處理子系統,且一級過濾處理子系統的輸出端連接有雜質分離子系統,所述雜質分離子系統的輸出端連接有二級過濾處理子系統,且二級過濾處理子系統的輸出端連接有凈化回流子系統,所述污水匯集池與一級過濾處理子系統之間、一級過濾處理子系統與雜質分離子系統之間,雜質分離子系統與二級過濾處理子系統之間以及二級過濾處理子系統和凈化回流子系統之間均安裝有調節閥。
進一步的,所述污水匯集池設置有多個,且污水匯集池的一側安裝有第一進水管,污水匯集池遠離第一進水管的一側安裝有第一出水管,其中,污水匯集池的邊緣處安裝有固定環,且固定環上安裝有軌道,所述有軌道的內部安裝有兩個收卷輥,且收卷輥的表面纏繞有雨布,同時兩個收卷輥的內部均安裝有電機。
進一步的,所述一級過濾處理子系統中包括有至少兩個以上的一級污泥池、一級調節池、生物接觸氧化池和一級曝氣池,其中,一級污泥池設置有多個,且多個一級污泥池均與污水匯集池的第一出水管連通,所述一級污泥池的輸出端與一級調節池連通,且一級調節池的輸出端與生物接觸氧化池連通,同時生物接觸氧化池的輸出端與一級曝氣池連通。
進一步的,所述雜質分離子系統中包括氣浮池、廢水調節池和厭氧池,其中,氣浮池的進水端與一級過濾處理子系統中的一級曝氣池的出水端通過管道連接,氣浮池的出水端與廢水調節池的進水端通過管道連接,廢水調節池的出水端與厭氧池的進水端通過管道連接。
進一步的,所述氣浮式池上安裝有氣浮式污水處理機,所述廢水調節池302上安裝有機械格柵。
進一步的,所述二級過濾處理子系統中包括有至少兩個以上的二級污泥池、二級調節池、沉淀池和二級曝氣池,多個所述二級污泥池的出水端與二級調節池連通,二級調節池的出水端與沉淀池連通,沉淀池的出水端與二級曝氣池連通。
進一步的,所述凈化回流子系統包括集水池、消毒池和過濾機構,其中,集水池上安裝有氣浮刮渣機,集水池的出水端與消毒池連通,消毒池的出水端與過濾機構連通。
進一步的,所述過濾機構包括第二進水管、凈化罐、回流排污管、第二出水管、活性炭吸附罐、連接管、水泵和第三出水管,其中,凈化罐的一側分別安裝有第二進水管和第二出水管,且第二出水管位于第二進水管的上方,所述凈化罐的另一側安裝有回流排污管,所述第二出水管遠離凈化罐的一端安裝有活性炭吸附罐,且活性炭吸附罐遠離第二出水管的一側安裝有連接管,所述連接管遠離活性炭吸附罐的一側安裝有水泵,且水泵遠離連接管的一側安裝有第三出水管。
進一步的,所述凈化罐的內部中間位置豎向安裝有連通管,且連通管的一端安裝有排水頭,同時連通管的另一端安裝有三通管,其中,連通管通過三通管的一端與回流排污管連通,同時連通管通過三通管的另一端與第二出水管連通,所述凈化罐的內部從下往上依次安裝有PP棉濾層、半滲透膜層、細砂濾層和粗砂濾層。
一種城市污水零直排過濾系統的過濾方法,所述過濾方法包括下述操作步驟:
步驟一:首先多個污水匯集池的第一進水管與城市各排污管道連通,用以將污水匯集在多個污水匯集池的內部,收卷輥在電動機的帶動下在軌道上進行轉動使雨布進行收卷,在雨天的時候雨布鋪展打開,晴天的時候,雨布收卷;
步驟二:多個污水匯集池從第一出水管進入到一級過濾處理子系統的內部進行過濾,首先經過一級污泥池的過濾過濾其中的污泥,然后經過一級調節池對污水的PH值進行調節,然后再經過生物接觸氧化池和一級曝氣池的過濾將污水中的雜質進行清除;
步驟三:然后污水從一級過濾處理子系統的內部進入到雜質分離子系統中對污水中的雜質進一步的進行分離,污水首先經過氣浮池利用氣浮式污水處理機對污水進行處理,然后再經過廢水調節池和厭氧池對污水進行處理;
步驟四:然后污水從雜質分離子系統進入到二級過濾處理子系統中對污水進行過濾,其中污水依次經過二級污泥池、二級調節池、沉淀池和二級曝氣池對污水進一步的進行凈化;
步驟五:然后污水從二級過濾處理子系統進入到凈化回流子系統進行凈化,首先污水在集水池中進行收集,然后污水進入到消毒池中進行消毒,然后經過過濾機構中進行過濾,其中,污水首先經過第二進水管進入到凈化罐的內部,污水首先依次經過粗砂濾層、細砂濾層、半滲透膜層和PP棉濾層的過濾從第二出水管進入到活性炭吸附罐中進一步的進行過濾,最后經過水泵從第三吹水管中排出。
與現有技術相比,本發明的有益效果是:該城市污水零直排過濾系統及其過濾方法,
經過多重的過濾以及凈化,可以使城市的污水達到直接再次利用的標準,不用排放到河流或者湖泊中,直接回流到城市中的供水系統中,提高水資源的重復利用率,而且對城市污水的凈化效率高;
本申請中污水從一級過濾處理子系統的內部進入到雜質分離子系統中對污水中的雜質進一步的進行分離,污水首先經過氣浮池利用氣浮式污水處理機對污水進行處理,然后再經過廢水調節池和厭氧池對污水進行處理;
然后污水從雜質分離子系統進入到二級過濾處理子系統中對污水進行過濾,其中污水依次經過二級污泥池、二級調節池、沉淀池和二級曝氣池對污水進一步的進行凈化;
污水從二級過濾處理子系統進入到凈化回流子系統進行凈化,首先污水在集水池中進行收集,然后污水進入到消毒池中進行消毒,然后經過過濾機構中進行過濾,其中,污水首先經過第二進水管進入到凈化罐的內部,污水首先依次經過粗砂濾層、細砂濾層、半滲透膜層和PP棉濾層的過濾從第二出水管進入到活性炭吸附罐中進一步的進行過濾,最后經過水泵從第三吹水管中排出。
(發明人:周以勒;孫玲燕;宋愛娜)






