公布日:2023.10.10
申請日:2023.06.09
分類號:C02F1/52(2023.01)I;C02F1/00(2023.01)I;B01D33/01(2006.01)I;B01D33/76(2006.01)I;C02F101/20(2006.01)N
摘要
本發明公開了一種工業廢水沉降處理裝置,包括底座;所述底座上固定連接有反應池;所述反應池頂部固定連接有密封蓋;所述反應池的側面固定連接有進液管;所述反應池的底部固定連接有排污管;所述進液管和排污管均固定連接有控制閥;所述密封蓋的上端固定連接有電機;所述電機的輸出軸上固定連接升降組件;所述升降組件上螺紋連接有過濾組件;所述過濾組件將工業廢水中液相與固相分離;在工業廢水進入反應池后,加入絮凝劑和反應劑反應,通過驅動組件帶動過濾組件,將反應后得到的固相與液相完全分離,并使液相流入反應池的上方,固相留在過濾組件的下方,使得能夠單獨對固相和液相進行處理不會出現固相與液相二次混合的現象。

權利要求書
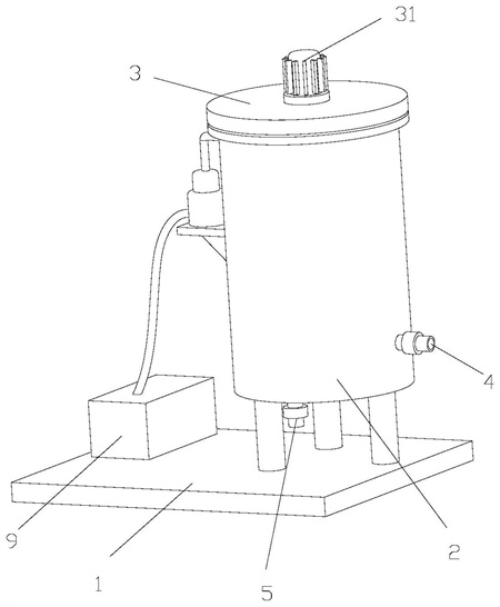
1.一種工業廢水沉降處理裝置,其特征在于:包括底座(1);所述底座(1)上固定連接有反應池(2);所述反應池(2)頂部固定連接有密封蓋(3);所述反應池(2)的側面固定連接有進液管(4);所述反應池(2)的底部固定連接有排污管(5);所述進液管(4)和排污管(5)均固定連接有控制閥;所述密封蓋(3)的上端固定連接有電機(31);所述電機(31)的輸出軸上固定連接升降組件(7);所述升降組件(7)上螺紋連接有過濾組件(6);所述升降組件(7)用于驅動過濾組件(6)上下移動;所述過濾組件(6)將工業廢水中液相與固相分離。
2.根據權利要求1所述的一種工業廢水沉降處理裝置,其特征在于:所述升降組件(7)包括絲桿(71)和滾珠軸承;所述絲桿(71)固定連接在電機(31)的輸出軸上;所述滾珠軸承設置在絲桿(71)與過濾組件(6)的連接處。
3.根據權利要求2所述的一種工業廢水沉降處理裝置,其特征在于:所述過濾組件(6)包括濾板(61);所述濾板(61)的上端固定連接有蓋板(62);所述蓋板(62)上開設有溢流孔(63);所述溢流孔(63)能夠使液相通過;所述濾板(61)的兩側對稱開設有滑槽(64)。
4.根據權利要求3所述的一種工業廢水沉降處理裝置,其特征在于:所述反應池(2)內壁上對應于滑槽(64)固定連接有兩個滑軌(65);兩個滑軌(65)對稱設置;所述滑槽(64)與滑軌(65)滑動連接;所述滑軌(65)用于濾板(61)的導向和限制濾板(61)轉動。
5.根據權利要求4所述的一種工業廢水沉降處理裝置,其特征在于:所述反應池(2)的側壁上固定連接有安裝座(8);所述安裝座(8)上固定連接有抽水泵(81);所述抽水泵(81)的進水口經軟管(82)與蓋板(62)連接并貫通;所述抽水泵(81)的出水口經管道與水箱(9)連接并貫通;所述水箱(9)用于存放工業廢水中過濾出的液相。
6.根據權利要求5所述的一種工業廢水沉降處理裝置,其特征在于:所述反應池(2)的底部固定連接有攪拌電機;所述攪拌電機的輸出軸上固定連接轉動盤(101);所述轉動盤(101)上固定連接有攪拌葉(102);所述攪拌葉(102)用于攪拌在反應池(2)中反應的廢液。
7.根據權利要求6所述的一種工業廢水沉降處理裝置,其特征在于:所述反應池(2)的底端內壁上固定連接有擾流板(11);所述擾流板(11)至少設置兩個個,且均等間距設置。
8.根據權利要求7所述的一種工業廢水沉降處理裝置,其特征在于:所述反應池(2)的底部固定連接有排污槽(12);所述排污槽(12)位于攪拌葉(102)的下方;所述排污槽(12)設置成十字形;所述排污槽(12)的頂部和底部側壁上均等間距開設有排污孔(121);所述排污孔(121)能夠工業廢水中沉降的固相通過;所述排污管(5)與排污槽(12)固定連接并貫通。
發明內容
為了彌補現有技術的不足,解決固相不能完全沉淀在反應池的底部,一部分仍然與液相混合,而且在抽取液相時,液相會發生流動,導致沉降下來的固相二次與液相混合,造成固相與液相攪渾,使得的問題,本發明提出的一種工業廢水沉降處理裝置。
一種工業廢水沉降處理裝置,包括底座;所述底座上固定連接有反應池;所述反應池頂部固定連接有密封蓋;所述密封蓋與反應池通過密封圈密封連接;所述密封蓋密封時使得反應池處于密閉空間;所述反應池的側面固定連接有進液管,進液管與反應池連通;所述反應池的底部固定連接有排污管;所述進液管和排污管均固定連接有控制閥;所述控制閥可以控制工業廢水和固相的進出;所述密封蓋的上端固定連接有電機;所述電機的輸出軸上固定連接升降組件;所述升降組件上螺紋連接有過濾組件;所述升降組件用于驅動過濾組件上下移動;所述過濾組件將工業廢水中液相與固相分離;所述電機用于驅動升降組件轉動;
優選的,所述升降組件包括絲桿和滾珠軸承;所述絲桿固定連接在電機的輸出軸上;所述滾珠軸承設置在絲桿與過濾組件的連接處;
優選的,所述過濾組件包括濾板;所述濾板的上端固定連接有蓋板;所述蓋板上開設有溢流孔;所述溢流孔能夠使液相通過;所述濾板的兩側對稱開設有滑槽;
優選的,所述反應池內壁上對應于滑槽固定連接有兩個滑軌;兩個滑軌對稱設置;所述滑槽與滑軌滑動連接;所述滑軌用于濾板的導向和限制濾板轉動;
優選的,所述反應池的側壁上固定連接有安裝座;所述安裝座上固定連接有抽水泵;所述抽水泵的進水口經軟管與蓋板連接并貫通;所述抽水泵的出水口經管道與水箱連接并貫通;所述水箱用于存放工業廢水中過濾出的液相;
優選的,所述反應池的底部固定連接有攪拌電機;所述攪拌電機的輸出軸上固定連接轉動盤;所述轉動盤上固定連接有攪拌葉;所述攪拌葉用于攪拌在反應池中反應的廢液;
優選的,所述反應池的底端內壁上固定連接有擾流板;所述擾流板至少設置兩個,且均等間距設置;
優選的,所述反應池的底部固定連接有排污槽;所述排污槽位于攪拌葉的下方;所述排污槽設置成十字形;所述排污槽的頂部和底部側壁上均等間距開設有排污孔;所述排污孔能夠工業廢水中沉降的固相通過;所述排污管與排污槽固定連接并貫通,反應后產生的固相可通過排污孔進入排污槽。
本發明的有益之處在于:
1.本發明通過設置升降組件和過濾組件,在反應池中工業廢水進行絮凝劑和各種反應劑反應后,呈現出固相與液相混合的狀態,此時,升降組將驅動過濾組件,將固相與液相分離,使固相留在濾板的下方,液相則流入反應池的上方,并將固相與液相單獨分離,使得在排出液相和固相時,固相與液相不會二次混合渾濁,解決了在處理固相與液相時發生二次渾濁的問題。
2.本發明通過蓋板的設置,當濾板由于長時間過濾造成堵塞,此時,啟動抽水泵,并通過軟管向蓋板內泵入高壓水,高壓水在蓋板中聚集,并從濾板的濾網中流過,將堵塞濾板的雜質帶出,并流入反應池的底部從排污槽排出。
(發明人:顧杰)






