公布日:2024.03.22
申請日:2023.10.20
分類號:C02F7/00(2006.01)I;C02F3/02(2023.01)I
摘要
本發明公開了一種用于污水處理的高效率曝氣裝置,屬于曝氣裝置技術領域,固定座的側面固定連接有支撐臂,支撐臂的一端通過軸座轉動連接有夾座,夾座的表面通過螺紋連接有夾桿,固定座的一端固定連接有調節管,調節管的內壁滑動連接有下活動管,下活動管的一端固定安裝有曝氣裝置主體,該用于污水處理的高效率曝氣裝置,通過設置的上活動管、下活動管以及軟性連接管,不僅方便曝氣裝置升降高度的調節,而且使得管道內部處于密封狀態,便于氣管和電路的排布和保護,大大的提高了曝氣裝置的使用穩定性,并且通過調節管設置的調節槽和卡槽以及卡桿,方便使用者輕松快速的調節曝氣裝置的升降高度,提高了其調節便捷性和準確性。

權利要求書
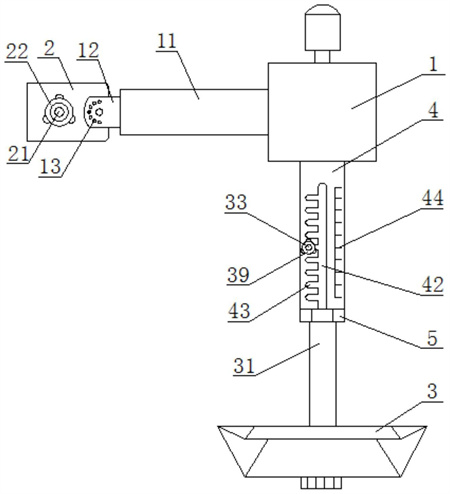
1.一種用于污水處理的高效率曝氣裝置,包括固定座(1),其特征在于:所述固定座(1)的側面固定連接有支撐臂(11),所述支撐臂(11)的一端通過軸座(12)轉動連接有夾座(2),所述夾座(2)的表面通過螺紋連接有夾桿(21),所述固定座(1)的一端固定連接有調節管(4),所述調節管(4)的內壁滑動連接有下活動管(31),所述下活動管(31)的一端固定安裝有曝氣裝置主體(3),所述下活動管(31)的另一端通過螺紋連接有連接管(34),所述連接管(34)的另一端通過螺紋連接有上活動管(37),所述上活動管(37)的一端固定套接有固定套(38),所述固定套(38)的表面與調節管(4)的內壁固定連接,所述下活動管(31)的表面固定套接有卡塊(32)。
2.根據權利要求1所述的一種用于污水處理的高效率曝氣裝置,其特征在于:所述卡塊(32)的側面固定連接有對稱的卡桿(33),所述調節管(4)的表面設有對稱的調節槽(42)和刻度線(44),所述調節槽(42)的側面設有等距分布的卡槽(43),所述卡槽(43)的內壁與卡桿(33)的表面接觸連接。
3.根據權利要求1所述的一種用于污水處理的高效率曝氣裝置,其特征在于:所述下活動管(31)和上活動管(37)的一端均設有軸向貫穿的孔洞,且孔洞的內壁設有相同的內螺紋,所述連接管(34)的兩端設有對稱的連接頭(35),且連接頭(35)的表面設有方向相反的外螺紋。
4.根據權利要求3所述的一種用于污水處理的高效率曝氣裝置,其特征在于:所述連接頭(35)的表面固定套接有防滑套(36),所述防滑套(36)的形狀為多邊形,所述下活動管(31)和上活動管(37)的端面與防滑套(36)的端面接觸擠壓。
5.根據權利要求1所述的一種用于污水處理的高效率曝氣裝置,其特征在于:所述調節管(4)的一端設有軸向貫穿的調節孔(41),所述調節孔(41)的內壁通過螺紋連接有防脫套(5),所述防脫套(5)的一端設有連接部(51)。
6.根據權利要求5所述的一種用于污水處理的高效率曝氣裝置,其特征在于:所述連接部(51)的表面設有外螺紋,所述防脫套(5)的中心位置設有通孔(52),所述防脫套(5)的形狀為多邊形。
7.根據權利要求1所述的一種用于污水處理的高效率曝氣裝置,其特征在于:所述連接管(34)采用波紋管或軟管制成,所述連接管(34)的表面設有耐腐蝕絕緣膠套。
8.根據權利要求1所述的一種用于污水處理的高效率曝氣裝置,其特征在于:所述卡桿(33)的表面通過螺紋連接有定位旋鈕(39),所述定位旋鈕(39)的側面設有防滑凸塊。
9.根據權利要求1所述的一種用于污水處理的高效率曝氣裝置,其特征在于:所述軸座(12)的表面設有調節孔(13),所述調節孔(13)的內壁套接有銷桿。
10.根據權利要求1所述的一種用于污水處理的高效率曝氣裝置,其特征在于:所述夾桿(21)的一端固定連接有固定旋鈕(22)。
發明內容
針對現有技術中存在的問題,本發明的目的在于提供一種用于污水處理的高效率曝氣裝置,該用于污水處理的高效率曝氣裝置,通過設置的上活動管、下活動管以及軟性連接管,不僅方便曝氣裝置升降高度的調節,而且使得管道內部處于密封狀態,便于氣管和電路的排布和保護,大大的提高了曝氣裝置的使用穩定性,并且通過調節管設置的調節槽和卡槽以及卡桿,方便使用者輕松快速的調節曝氣裝置的升降高度,提高了其調節便捷性和準確性。
為解決上述問題,本發明采用如下的技術方案。
一種用于污水處理的高效率曝氣裝置,包括固定座,所述固定座的側面固定連接有支撐臂,所述支撐臂的一端通過軸座轉動連接有夾座,所述夾座的表面通過螺紋連接有夾桿,所述固定座的一端固定連接有調節管,所述調節管的內壁滑動連接有下活動管,所述下活動管的一端固定安裝有曝氣裝置主體,所述下活動管的另一端通過螺紋連接有連接管,所述連接管的另一端通過螺紋連接有上活動管,所述上活動管的一端固定套接有固定套,所述固定套的表面與調節管的內壁固定連接,所述下活動管的表面固定套接有卡塊,該用于污水處理的高效率曝氣裝置,通過設置的上活動管、下活動管以及軟性連接管,不僅方便曝氣裝置升降高度的調節,而且使得管道內部處于密封狀態,便于氣管和電路的排布和保護,大大的提高了曝氣裝置的使用穩定性,并且通過調節管設置的調節槽和卡槽以及卡桿,方便使用者輕松快速的調節曝氣裝置的升降高度,提高了其調節便捷性和準確性。
進一步的,所述卡塊的側面固定連接有對稱的卡桿,所述調節管的表面設有對稱的調節槽和刻度線,所述調節槽的側面設有等距分布的卡槽,所述卡槽的內壁與卡桿的表面接觸連接,刻度線和卡槽便于快速準確的調節下活動管的伸縮位置。
進一步的,所述下活動管和上活動管的一端均設有軸向貫穿的孔洞,且孔洞的內壁設有相同的內螺紋,所述連接管的兩端設有對稱的連接頭,且連接頭的表面設有方向相反的外螺紋,不會使安裝后的連接管發生扭曲。
進一步的,所述連接頭的表面固定套接有防滑套,所述防滑套的形狀為多邊形,所述下活動管和上活動管的端面與防滑套的端面接觸擠壓,防滑套便于通過扳手裝拆連接頭。
進一步的,所述調節管的一端設有軸向貫穿的調節孔,所述調節孔的內壁通過螺紋連接有防脫套,所述防脫套的一端設有連接部,防脫套具有限位防脫的作用。
進一步的,所述連接部的表面設有外螺紋,所述防脫套的中心位置設有通孔,所述防脫套的形狀為多邊形。
進一步的,所述連接管采用波紋管或軟管制成,所述連接管的表面設有耐腐蝕絕緣膠套。
進一步的,所述卡桿的表面通過螺紋連接有定位旋鈕,所述定位旋鈕的側面設有防滑凸塊。
進一步的,所述軸座的表面設有調節孔,所述調節孔的內壁套接有銷桿,便于調節夾座的傾斜角度。
進一步的,所述夾桿的一端固定連接有固定旋鈕。
相比于現有技術,本發明的優點在于:
(1)本發明通過設置的上活動管、下活動管以及軟性連接管,不僅方便曝氣裝置升降高度的調節,而且使得管道內部處于密封狀態,便于氣管和電路的排布和保護,大大的提高了曝氣裝置的使用穩定性。
(2)本發明通過調節管設置的調節槽和卡槽以及卡桿,方便使用者輕松快速的調節曝氣裝置的升降高度,提高了其調節便捷性和準確性。
(發明人:胡金武;潘飛;王健;高衛兵)






