公布日:2024.02.27
申請日:2023.12.21
分類號:C02F3/02(2023.01)I
摘要
本發明公開了一種污水處理曝氣池,本發明涉及污水處理技術領域,本污水處理曝氣池,包括池體和池體底部安裝的曝氣管,所述池體的內側安裝有增泡組件,池體上安裝與其活動連接的復合吸渣組件,所述復合吸渣組件包括吸渣橋、伺服電機、滾輪、橫軸、第一錐齒輪、第二錐齒輪、復合軸和吸渣管,第二錐齒輪底端安裝同軸心的復合軸,復合軸伸入到吸渣管的內側,吸渣管的頂端與吸渣橋相固定,復合軸的底端與增泡組件活動連接,其中增泡組件增加曝氣氣泡數量的同時,復合吸渣組件可以對污水表面產生的泡沫和浮渣進行回收,避免大量泡沫和浮渣覆蓋在污水表面造成大氣無法與污水直接接觸的情況。

權利要求書
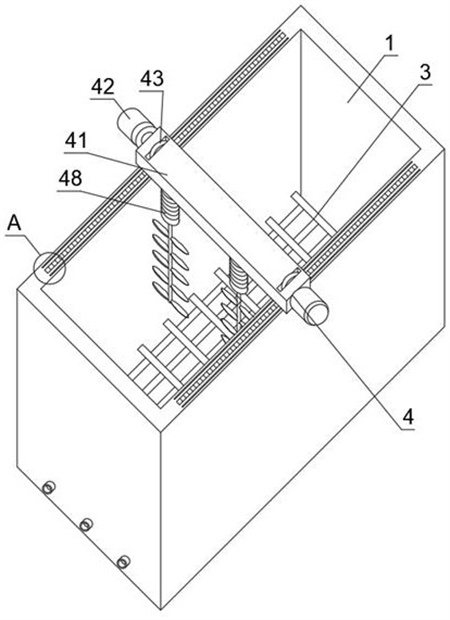
1.一種污水處理曝氣池,包括池體(1)和池體(1)底部安裝的曝氣管(2),其特征在于:所述池體(1)的內側安裝有增泡組件(3),池體(1)上安裝與其活動連接的復合吸渣組件(4),所述復合吸渣組件(4)包括吸渣橋(41)、伺服電機(42)、滾輪(43)、橫軸(44)、第一錐齒輪(45)、第二錐齒輪(46)、復合軸(47)和吸渣管(48),橫置的伺服電機(42)安裝在吸渣橋(41)的端部,伺服電機(42)輸出端連接的橫軸(44)伸入到吸渣橋(41)的內腔中并與其活動連接,橫軸(44)上安裝有滾輪(43)和第一錐齒輪(45),所述滾輪(43)的外壁設有均勻分布的齒塊,池體(1)的上邊沿開設有滾珠軌道(101)和長條齒槽(102),滾珠軌道(101)在長條齒槽(102)的兩側對稱分布,長條齒槽(102)與滾輪(43)相配合,滾珠軌道(101)與吸渣橋(41)底面預設的滾珠活動連接,其中第一錐齒輪(45)與第二錐齒輪(46)相配合,第二錐齒輪(46)搭接在吸渣管(48)上,第二錐齒輪(46)底端安裝同軸心的復合軸(47),復合軸(47)伸入到吸渣管(48)的內側,吸渣管(48)的頂端與吸渣橋(41)相固定,復合軸(47)的底端與增泡組件(3)活動連接;所述增泡組件(3)包括橫桿(31)和擋條(32),橫桿(31)的兩端與池體(1)內壁活動連接,橫桿(31)的底面安裝均勻分布的擋條(32),擋條(32)位于曝氣管(2)的正上方;所述復合軸(47)包括豎軸(471)、螺旋扇片(472)和攪拌槳(473),豎軸(471)的底端呈半球狀,豎軸(471)的底端與橫桿(31)活動連接,豎軸(471)的頂端連接第二錐齒輪(46)底面中心,豎軸(471)貫穿吸渣管(48),豎軸(471)的外壁安裝螺旋扇片(472)和攪拌槳(473),螺旋扇片(472)位于攪拌槳(473)的上方,螺旋扇片(472)的邊緣與吸渣管(48)內壁活動連接,所述吸渣管(48)的底邊緣與污水液面存在2-3厘米的間隙,攪拌槳(473)伸入到污水液面以下;所述橫桿(31)的端部連接有彈片(34),橫桿(31)的豎向剖面呈拱形,橫桿(31)通過彈片(34)連接池體(1)的內側壁;所述吸渣管(48)包括豎管(481)、過渡柱(482)、第一橫支撐(483)和第二橫支撐(484),過渡柱(482)的頂端與吸渣橋(41)固定連接,過渡柱(482)的底端連接豎管(481),豎管(481)的外壁安裝有限流環(485),豎管(481)的內腔中安裝第一橫支撐(483)和第二橫支撐(484),第一橫支撐(483)和第二橫支撐(484)均與復合軸(47)活動連接;所述第一橫支撐(483)的上表面安裝有環狀分布的滾珠,第一橫支撐(483)通過滾珠連接第二錐齒輪(46);所述限流環(485)的外部輪廓呈塔型,限流環(485)上開設有漏水孔(4851),漏水孔(4851)的頂端安裝有擋渣網(4852)。
2.根據權利要求1所述的一種污水處理曝氣池,其特征在于:所述擋條(32)的豎向截面呈等腰三角形,擋條(32)的內側壁上安裝均勻分布的三角擋板(33)。
3.根據權利要求1所述的一種污水處理曝氣池,其特征在于:所述吸渣橋(41)上開設有矩形通孔,滾輪(43)置于此矩形通孔的內側,滾輪(43)和吸渣橋(41)均與池體(1)的上邊沿活動連接。
發明內容
針對現有技術的不足,本發明提供了一種污水處理曝氣池,解決了現有曝氣池水面布滿泡沫影響氧的傳遞和污水與氣泡接觸面積小的問題。
為實現以上目的,本發明通過以下技術方案予以實現:
一種污水處理曝氣池,包括池體和池體底部安裝的曝氣管,所述池體的內側安裝有增泡組件,池體上安裝與其活動連接的復合吸渣組件,所述復合吸渣組件包括吸渣橋、伺服電機、滾輪、橫軸、第一錐齒輪、第二錐齒輪、復合軸和吸渣管,橫置的伺服電機安裝在吸渣橋的端部,伺服電機輸出端連接的橫軸伸入到吸渣橋的內腔中并與其活動連接,橫軸上安裝有滾輪和第一錐齒輪,其中第一錐齒輪與第二錐齒輪相配合,第二錐齒輪搭接在吸渣管上,第二錐齒輪底端安裝同軸心的復合軸,復合軸伸入到吸渣管的內側,吸渣管的頂端與吸渣橋相固定,復合軸的底端與增泡組件活動連接;
所述增泡組件包括橫桿和擋條,橫桿的兩端與池體內壁活動連接,橫桿的底面安裝均勻分布的擋條;其中曝氣池運行時,池體底部的曝氣管釋放出大量的空氣形成向上涌動的氣泡,增加曝氣池內側污水的溶解氧含量,從而提高氧化速率,加速微生物降解,加快污水處理速度,增泡組件可以將曝氣管釋放出氣泡進行再一次分流,增加曝氣的氣泡數量,能增加曝氣與污水的接觸面積,提高氧化速率,在增泡組件增加曝氣氣泡數量的同時,復合吸渣組件可以對污水表面產生的泡沫和浮渣進行回收,避免大量泡沫和浮渣覆蓋在污水表面造成大氣無法與污水直接接觸的情況,在復合吸渣組件吸附污水表面泡沫和浮渣過程中,復合吸渣組件還能對污水進行攪拌,間接的提高氧化速率,復合吸渣組件的最低端還能規律的與增泡組件接觸,使得增泡組件發生局部振動,增泡組件的局部振動能將其表面附著的小部分氣泡抖散,并釋放到污水中。
優選的,所述擋條的豎向截面呈等腰三角形,擋條的內側壁上安裝均勻分布的三角擋板,擋條位于曝氣管曝氣管的正上方。
優選的,所述復合軸包括豎軸、螺旋扇片和攪拌槳,豎軸的底端呈半球狀,豎軸的底端與橫桿活動連接,豎軸的頂端連接第二錐齒輪底面中心,豎軸貫穿吸渣管,豎軸的外壁安裝螺旋扇片和攪拌槳,螺旋扇片位于攪拌槳的上方,螺旋扇片的邊緣與吸渣管內壁活動連接。
優選的,所述吸渣管的底邊緣與污水液面存在-厘米的間隙,攪拌槳伸入到污水液面以下。
優選的,所述橫桿的端部連接有彈片,橫桿的豎向剖面呈拱形,橫桿通過彈片連接池體的內側壁。
優選的,所述吸渣管包括豎管、過渡柱、第一橫支撐和第二橫支撐,過渡柱的頂端與吸渣橋固定連接,過渡柱的底端連接豎管,豎管的外壁安裝有限流環,豎管的內腔中安裝第一橫支撐和第二橫支撐,第一橫支撐和第二橫支撐均與復合軸活動連接。
優選的,所述第一橫支撐的上表面安裝有環狀分布的滾珠,第一橫支撐通過滾珠連接第二錐齒輪。
優選的,所述限流環的外部輪廓呈塔型,限流環上開設有漏水孔,漏水孔的頂端安裝有擋渣網。
優選的,所述吸渣橋上開設有矩形通孔,滾輪置于此矩形通孔的內側,滾輪和吸渣橋均與池體的上邊沿活動連接。
優選的,所述滾輪的外壁設有均勻分布的齒塊,池體的上邊沿開設有滾珠軌道和長條齒槽,滾珠軌道在長條齒槽的兩側對稱分布,長條齒槽與滾輪相配合,滾珠軌道與吸渣橋底面預設的滾珠活動連接。
本發明提供了一種污水處理曝氣池,與現有技術相比具備以下有益效果:
該污水處理曝氣池,增泡組件可以將曝氣管釋放出氣泡進行再一次分流,增加曝氣的氣泡數量,其中曝氣管釋放出氣泡就能在擋條的內腔中快速聚集,隨著氣泡的增多,氣泡順著擋條的邊緣向兩側溢出,這樣就相當于一個氣泡經過擋條過渡后會分成兩個更小的氣泡,氣泡進行了分流,增加曝氣的氣泡數量,能增加曝氣與污水的接觸面積。
該污水處理曝氣池,在增泡組件增加曝氣氣泡數量的同時,復合吸渣組件可以對污水表面產生的泡沫和浮渣進行回收,避免大量泡沫和浮渣覆蓋在污水表面造成大氣無法與污水直接接觸的情況,其中第二錐齒輪帶動豎軸、螺旋扇片和攪拌槳一起轉動,螺旋扇片轉動會使得吸渣管底邊緣吸入泡沫和浮渣,并將泡沫和浮渣進行提升,接著泡沫和浮渣從吸渣管頂部溢出,泡沫會逐漸消失,浮渣在吸渣管的外壁的限流環暫時積留,等待后續統一清理。
該污水處理曝氣池,在復合吸渣組件吸附污水表面泡沫和浮渣過程中,復合吸渣組件還能對污水進行攪拌,間接的提高氧化速率,復合吸渣組件的最低端還能規律的與增泡組件接觸,使得增泡組件發生局部振動,增泡組件的局部振動能將其表面附著的小部分氣泡抖散,并釋放到污水中。
(發明人:葛海杰;羅加永)






