公布日:2024.02.06
申請日:2023.11.23
分類號:B01D33/29(2006.01)I;B01D33/46(2006.01)I;B01D33/44(2006.01)I;B01D33/54(2006.01)I;B01D33/76(2006.01)I;C02F1/00(2023.01)I;C02F1/52(2023.01)I;
C02F103/34(2006.01)N
摘要
本發明公開了一種具有污泥回收功能的生物制藥污水凈化裝置及方法,裝置包括儲水倉,以及設置在儲水倉內部的集泥組件;儲水倉內水平設置有隔板,隔板將儲水倉自上至下分隔為污泥處理腔、后處理腔;集泥組件包括與污泥處理腔內壁上設有的橫向滑槽滑動連接的過濾框,兩組分別設置在污泥處理腔兩側內壁的驅動裝置,以及設置在過濾框內部的刮泥組件;方法包括S1、過濾和S2、集泥;本發明通過驅動裝置與刮泥組件的協同作用,利用第一轉軸與第二轉軸的差速轉動實現敲擊筒對過濾框底部的振動,有效加速了污水中污泥雜質的沉淀,同時減少過濾框框體內壁污泥的附著,從而對污泥進行更高效的回收處理。

權利要求書
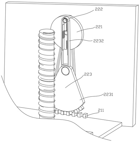
1.一種具有污泥回收功能的生物制藥污水凈化裝置,其特征在于,包括儲水倉(1),以及設置在所述儲水倉(1)內部的集泥組件(2);所述儲水倉(1)內水平設置有隔板(11),所述隔板(11)將所述儲水倉(1)自上至下分隔為污泥處理腔(12)、后處理腔(13);所述集泥組件(2)包括與所述污泥處理腔(12)內壁上設有的橫向滑槽滑動連接的過濾框(21),兩組分別設置在所述污泥處理腔(12)兩側內壁且用于驅動所述過濾框(21)擺動的驅動裝置(22),以及設置在所述過濾框(21)內部的刮泥組件(23);所述過濾框(21)靠近驅動裝置(22)的兩側均設有齒塊(211);所述驅動裝置(22)包括設置在所述污泥處理腔(12)側壁的轉動盤(221),固定且偏心設置在所述轉動盤(221)上的安裝齒輪(222),以及轉動設置在所述污泥處理腔(12)側壁的驅動件(223);所述驅動件(223)包括能夠與所述齒塊(211)嚙合傳動且通過軸桿與污泥處理腔(12)側壁轉動連接的扇形齒輪(2231),以及設置在位于軸桿一側的所述扇形齒輪(2231)上的導槽(2232),所述導槽(2232)內兩側均設有傳動板,兩個所述傳動板上交錯設有傳動齒條;所述安裝齒輪(222)滑動設置在所述導槽(2232)內部且與所述傳動齒條嚙合;所述污泥處理腔(12)側壁設有用于驅動所述轉動盤(221)轉動的第一電機;所述刮泥組件(23)包括兩個貫穿所述過濾框(21)底部的第二螺桿(231),設置在兩個所述第二螺桿(231)上且與所述過濾框(21)內壁接觸的刮泥板(232),設置在所述過濾框(21)底部的第一錐齒輪(233),與所述污泥處理腔(12)側壁上設有的橫向滑槽滑動連接的轉動輪(234),兩端對應與兩個所述轉動輪(234)連接的第一轉軸(235),套設在所述第一轉軸(235)上的第二轉軸(236),以及兩個套設在所述第二轉軸(236)上且與對應的第一錐齒輪(233)嚙合的第二錐齒輪(237);第二螺桿(231)下端貫穿過濾框(21)并與對應的第一錐齒輪(233)固定連接,所述第一轉軸(235)與所述轉動盤(221)、以及設置在所述污泥處理腔(12)外壁上的第一張緊輪通過第一傳動帶連接;所述安裝齒輪(222)的轉動軸貫穿所述轉動盤(221)并與所述第二轉軸(236)、以及設置在所述污泥處理腔(12)內壁上的第二張緊輪通過第二傳動帶連接;所述第二轉軸(236)中部具有與過濾框(21)接觸的敲擊筒,所述敲擊筒內壁周向設有第一撞擊塊(2361),所述第一轉軸(235)上周向設有能夠與所述第一撞擊塊(2361)接觸的第二撞擊塊(2362),所述第二撞擊塊(2362)的中部與所述第一轉軸(235)通過扭簧軸鉸接;所述刮泥板(232)上設有進水口;所述后處理腔(13)的一側設有出水口。
2.如權利要求1所述的一種具有污泥回收功能的生物制藥污水凈化裝置,其特征在于,所述集泥組件(2)上設置有防堵塞組件(3),所述防堵塞組件(3)用于對所述集泥組件(2)的濾孔清理。
3.如權利要求2所述的一種具有污泥回收功能的生物制藥污水凈化裝置,其特征在于,所述防堵塞組件(3)包括兩組分別沿所述過濾框(21)擺動方向且貼合設置在所述過濾框(21)內壁上的內側式清理組件(32),以及兩組分別設置在所述污泥處理腔(12)其余兩側內壁的外側式清理組件(31);所述外側式清理組件(31)包括第一板體(311),以及若干個與所述過濾框(21)的濾孔一一對應的凸起(312);所述內側式清理組件(32)包括第二板體(321),設置在所述第二板體(321)上且與所述過濾框(21)的濾孔一一對應的開孔(322),多個一一對應設置在所述開孔(322)上且利用刮泥板(232)觸發對濾孔進行清堵的清堵組件(323),以及多組橫向設置在每兩個相鄰開孔(322)之間的第二板體(321)上且利用刮泥板(232)觸發向過濾框(21)內補加藥液的加藥組件(324);所述第二板體(321)與所述刮泥板(232)滑動接觸。
4.如權利要求3所述的一種具有污泥回收功能的生物制藥污水凈化裝置,其特征在于,所述清堵組件(323)包括設置在第二板體(321)上的弧形氣囊(3231),以及設置在所述開孔(322)內壁上的彎折型氣囊(3232);所述弧形氣囊(3231)內置有彈簧,所述弧形氣囊(3231)與所述彎折型氣囊(3232)通過管道連通。
5.如權利要求3所述的一種具有污泥回收功能的生物制藥污水凈化裝置,其特征在于,所述加藥組件(324)包括條形藥囊(3241),以及設置在所述第二板體(321)上且與各個所述條形藥囊(3241)進液口分別通過管道連通的加藥口(3242),所述條形藥囊(3241)上設有出液口,且條形藥囊(3241)橫截面為弧形。
6.如權利要求1所述的一種具有污泥回收功能的生物制藥污水凈化裝置,其特征在于,過濾框(21)的底板一側底部滑動設有擋泥板(212),底板上滑動設有推泥件(213),所述底板靠近擋泥板(212)的一側設有按壓開關(214),所述按壓開關(214)用于控制所述擋泥板(212)的開合;過濾框(21)底板上設有用于驅動推泥件(213)滑動的第二電機,以及用于驅動所述擋泥板(212)滑動的第三電機;按壓開關(214)與第三電機連接。
7.如權利要求6所述的一種具有污泥回收功能的生物制藥污水凈化裝置,其特征在于,后處理腔(13)由沿豎直方向設置的擋板(130)分隔為儲泥腔(131)、排水腔(132);所述隔板(11)與儲泥腔(131)連通的一側設有矩形開孔,與排水腔(132)連通的一側設有進水孔,所述底板與所述矩形開孔之間設有矩形軟管(1311)。
8.如權利要求1所述的一種具有污泥回收功能的生物制藥污水凈化裝置,其特征在于,所述刮泥板(232)上設有進水口;所述后處理腔(13)的一側設有出水口。
9.如權利要求1~8任意一項所述的一種具有污泥回收功能的生物制藥污水凈化裝置的方法,其特征在于,包括以下步驟:S1、過濾將待處理的制藥污水通入過濾框(21),然后啟動驅動裝置(22)上的轉動盤(221)發生轉動,使得安裝齒輪(222)在導槽(2232)內發生偏移,帶動驅動件(223)的底部發生擺動,使得扇形齒輪(2231)與過濾框(21)上的齒塊(211)嚙合傳動,帶動過濾框(21)水平擺動,加快制藥污水中污泥的沉淀;并使得制藥污水沿出水口排出;S2、集泥轉動盤(221)在發生轉動的同時,在第一傳動帶的作用下,帶動與所述轉動輪(234)連接的第一轉軸(235)發生轉動,同時,安裝齒輪(222)沿導槽(2232)運動的過程中使得安裝齒輪(222)實現正反向往復自轉,在第二傳動帶的作用下,使得第二轉軸(236)、第二錐齒輪(237)發生轉動,從而使得與第二錐齒輪(237)嚙合的第一錐齒輪(233)發生轉動,進一步帶動第二螺桿(231)進行轉動,使得刮泥板(232)在過濾框(21)內部往復運動,以實現對過濾框(21)內壁污泥的清理收集,同時根據第一轉軸(235)、第二轉軸(236)之間的差速運動,實現敲擊筒的高頻振動,進一步加快廢水中污泥的沉淀,從而對污泥收集。
發明內容
為解決上述技術問題,本發明提供了一種具有污泥回收功能的生物制藥污水凈化裝置及方法。
本發明的技術方案是:一種具有污泥回收功能的生物制藥污水凈化裝置,包括儲水倉,以及設置在所述儲水倉內部的集泥組件;
所述儲水倉內水平設置有隔板,所述隔板將所述儲水倉自上至下分隔為污泥處理腔、后處理腔;
所述集泥組件包括與所述污泥處理腔內壁上設有的橫向滑槽滑動連接的過濾框,兩組分別設置在所述污泥處理腔兩側內壁且用于驅動所述過濾框擺動的驅動裝置,以及設置在所述過濾框內部的刮泥組件;
所述過濾框靠近驅動裝置的兩側均設有齒塊;
所述驅動裝置包括設置在所述污泥處理腔側壁的轉動盤,固定且偏心設置在所述轉動盤上的安裝齒輪,以及轉動設置在所述污泥處理腔側壁的驅動件;所述驅動件包括能夠與所述齒塊嚙合傳動且通過軸桿與污泥處理腔側壁轉動連接的扇形齒輪,以及設置在位于軸桿一側的所述扇形齒輪上的導槽,所述導槽內兩側均設有傳動板,兩個所述傳動板上交錯設有傳動齒條;所述安裝齒輪滑動設置在所述導槽內部且與所述傳動齒條嚙合;所述污泥處理腔側壁設有用于驅動所述轉動盤轉動的第一電機;
所述刮泥組件包括兩個貫穿所述過濾框底部的第二螺桿,設置在兩個所述第二螺桿上且與所述過濾框內壁接觸的刮泥板,設置在所述過濾框底部的第一錐齒輪,與所述污泥處理腔側壁上設有的橫向滑槽滑動連接的轉動輪,兩端對應與兩個所述轉動輪連接的第一轉軸,套設在所述第一轉軸上的第二轉軸,以及兩個套設在所述第二轉軸上且與對應的第一錐齒輪嚙合的第二錐齒輪;第二螺桿下端貫穿過濾框并與對應的第一錐齒輪固定連接,所述第一轉軸與所述轉動盤、以及設置在所述污泥處理腔外壁上的第一張緊輪通過第一傳動帶連接;所述安裝齒輪的轉動軸貫穿所述轉動盤并與所述第二轉軸、以及設置在所述污泥處理腔內壁上的第二張緊輪通過第二傳動帶連接;
所述第二轉軸中部具有與過濾框接觸的敲擊筒,所述敲擊筒內壁周向設有第一撞擊塊,所述第一轉軸上周向設有能夠與所述第一撞擊塊接觸的第二撞擊塊,所述第二撞擊塊的中部與所述第一轉軸通過扭簧軸鉸接;
所述刮泥板上設有進水口;所述后處理腔的一側設有出水口;
說明:上述設置能夠通過驅動裝置帶動過濾框擺動,增加污泥顆粒之間的碰撞和摩擦,使顆粒更容易聚集成更大的絮狀體,進一步加速污水中污泥雜質的沉淀,而通過驅動裝置與刮泥組件的連接關系實現在提升污水過濾效率的同時減少過濾框框體內壁污泥的附著,從而對污泥進行更高效的回收處理,進一步提升裝置的處理效率;第二撞擊塊與第一轉軸通過扭簧軸鉸接能夠同時利用第二撞擊塊的擺動以及第二轉軸在往復轉動的過程中,與第一轉軸上的第二撞擊塊更高頻次的撞擊,利用第一轉軸與第二轉軸的差速運動相較于直接利用第一轉軸運動過程中與過濾框底部的撞擊能夠通過敲擊筒的高頻次震動有效提升裝置對于廢水中污泥沉淀的效率。
進一步地,所述集泥組件上設置有防堵塞組件,所述防堵塞組件用于對所述集泥組件的濾孔清理;
說明:防堵塞組件能夠有效避免過濾框表面濾孔被污泥堵塞,提升過濾框的工作效率。
更進一步地,所述防堵塞組件包括兩組分別沿所述過濾框擺動方向且貼合設置在所述過濾框內壁上的內側式清理組件,以及兩組分別設置在所述污泥處理腔其余兩側內壁的外側式清理組件;
所述外側式清理組件包括第一板體,以及若干個與所述過濾框的濾孔一一對應的凸起;
所述內側式清理組件包括第二板體,設置在所述第二板體上且與所述過濾框的濾孔位置一一對應的開孔,多個一一對應設置在所述開孔上且利用刮泥板觸發對濾孔進行清堵的清堵組件,以及多組橫向設置在每兩個相鄰開孔之間的第二板體上且利用刮泥板觸發向過濾框內補加藥液的加藥組件;所述第二板體與所述刮泥板滑動接觸;
說明:通過分別設置外側式清潔組件與內側式清潔組件能夠根據過濾框的設置位置實現高效地濾孔清潔,利用過濾框的水平往復運動使得外側式清潔組件對過濾框兩側的濾孔進行清堵,并且通過刮泥板在豎直向的往復運動能夠實現對清堵組件、加藥組件的觸發作用,利用刮泥板在往復運動過程中更高頻次的對加藥組件、清堵組件進行觸發,從而起到更高效的絮凝作用以及高效的清堵作用,進一步改善污泥的回收效率。
更進一步地,所述清堵組件包括設置在第二板體上的弧形氣囊,以及設置在所述開孔內壁上的彎折型氣囊;所述弧形氣囊內置有彈簧,所述弧形氣囊與所述彎折型氣囊通過管道連通;
說明:上述設置能夠通過刮泥板的上下往復運動對弧形氣囊進行擠壓,從而實現對彎折型氣囊的驅動作用,進一步實現對過濾框表面濾孔的清潔,然后在彈簧的作用力下,弧形氣囊恢復,此時彎折型氣囊收縮在開孔內側,不影響過濾框對污水的過濾作用,使得過濾框的過濾更高效。
更進一步地,所述加藥組件包括條形藥囊,設置在所述第二板體上且與各個所述條形藥囊進液口分別通過管道連通的加藥口,所述條形藥囊上設有出液口,且條形藥囊橫截面為弧形;
說明:上述設置通過將條形藥囊間隔分布在第二板體上,以利用刮泥板的往復運動對條形藥囊進行加壓,利用刮泥板的高頻率移動,使藥液能夠更多次少量的添加在過濾框內部,從而提高藥液的分散效果,進一步提高處理效果,促進絮凝,從而實現對污泥的回收效果。
進一步地,過濾框的底板一側的底部滑動設有擋泥板,底板上滑動設有推泥件,所述底板靠近擋泥板的一側設有按壓開關,所述按壓開關用于控制所述擋泥板的開合;過濾框底板上設有用于驅動推泥件滑動的第二電機,以及用于驅動所述擋泥板滑動的第三電機;按壓開關與第三電機連接;
說明:上述設置能夠通過驅動推泥件對過濾框底板表面的污泥進行擠壓處理,進一步通過擋泥板的開合實現對過濾框內部污泥的收集存儲。
更進一步地,后處理腔由沿豎直方向設置的擋板分隔為儲泥腔、排水腔;
所述隔板與儲泥腔連通的一側設有矩形開孔,與排水腔連通的一側設有進水孔,所述底板與所述矩形開孔之間設有矩形軟管;
說明:上述設置針對發生擺動的過濾框也能夠做到有效輸送,從而實現泥水分離。
本發明還提供了一種具有污泥回收功能的生物制藥污水凈化裝置的使用方法,包括以下步驟:
S1、過濾
將待處理的制藥污水通入過濾框,然后啟動驅動裝置上的轉動盤發生轉動,使得安裝齒輪在導槽內發生偏移,帶動驅動件的底部發生擺動,使得扇形齒輪與過濾框上的齒塊嚙合傳動,帶動過濾框水平擺動,加快制藥污水中污泥的沉淀;并使得制藥污水沿出水口排出;
S2、集泥
轉動盤在發生轉動的同時,在第一傳動帶的作用下,帶動與所述轉動輪連接的第一轉軸發生轉動,同時,安裝齒輪沿導槽運動的過程中使得安裝齒輪實現正反向往復自轉,在第二傳動帶的作用下,使得第二轉軸、第二錐齒輪發生轉動,從而使得與第二錐齒輪嚙合的第一錐齒輪發生轉動,進一步帶動第二螺桿進行轉動,使得刮泥板在過濾框內部往復運動,以實現對過濾框內壁污泥的清理收集,同時根據第一轉軸、第二轉軸之間的差速運動,實現敲擊筒的高頻振動,進一步加快廢水中污泥的沉淀,從而對污泥收集。
本發明的有益效果是:
(1)本發明通過驅動裝置帶動過濾框擺動,有效加速了污水中污泥雜質的沉淀,而通過驅動裝置與刮泥組件的協同作用,利用第一轉軸與第二轉軸的差速轉動使得敲擊筒實現對過濾框底部的振動作用,在有效提升污水過濾效率的同時減少過濾框框體內壁污泥的附著,從而對污泥進行更高效的回收處理,進一步提升裝置的處理效率。
(2)本發明通過防堵塞組件對過濾框表面的濾孔進行清潔處理,通過外側式清理組件的第一氣囊組與內側式清理組件的協同作用,實現對過濾框表面濾孔的清潔作用;利用刮泥組件中刮泥板的往復運動實現對內側式清理組件以及加藥組件的高效觸發,進一步對過濾框的濾孔進行清潔,并實現污泥的高效回收。
(3)本發明通過在底板上設置推泥件對過濾框底板表面的污泥進行擠壓處理,并在靠近擋泥板處設有按壓開關,當推泥件將污泥推送至擋泥板上方時,擋泥板打開,從而通過擋泥板的開合實現對過濾框內部污泥的收集存儲。
(發明人:余樂芳;張國才)






