公布日:2024.02.02
申請日:2023.12.28
分類號:B01D29/68(2006.01)I;B01D29/64(2006.01)I;B01D29/60(2006.01)I;B01D35/02(2006.01)I
摘要
本發明涉及關于污水處理設備技術領域的一種反沖洗式下水道污水過濾閥。為了解決污水過濾閥濾網容易堵塞的問題,本發明提供了一種反沖洗式下水道污水過濾閥。包括有緩沖殼,所述緩沖殼固接并連通有第一固定管和第二固定管,所述第一固定管和所述第二固定管呈鏡像分布,所述第一固定管和所述第二固定管均固接有導液殼,靠近所述第一固定管的所述導液殼內滑動連接有第一滑動殼,靠近所述第二固定管的所述導液殼內滑動連接有第二滑動殼,述緩沖殼滑動連接有與所述第二固定管配合的第一過濾板。本發明通過第一滑動殼和第二滑動殼的移動控制水流的流動路徑,進而達到對第一過濾板上堆積雜質進行反沖洗的效果,提高了裝置的過濾效率。

權利要求書
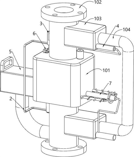
1.一種反沖洗式下水道污水過濾閥,其特征在于:包括有緩沖殼(101),所述緩沖殼(101)固接并連通有第一固定管(102)和第二固定管(1021),所述第一固定管(102)和所述第二固定管(1021)呈鏡像分布,所述第一固定管(102)和所述第二固定管(1021)均固接有導液殼(103),鏡像分布的所述導液殼(103)內之間連通有第一連通管(104),靠近所述第一固定管(102)的所述導液殼(103)內滑動連接有第一滑動殼(105),所述第一滑動殼(105)與所述第一固定管(102)配合,靠近所述第二固定管(1021)的所述導液殼(103)內滑動連接有第二滑動殼(106),所述第二滑動殼(106)與所述第二固定管(1021)配合,所述第二滑動殼(106)與對應的所述導液殼(103)之間固接有鏡像分布的固定拉簧,所述緩沖殼(101)滑動連接有與所述第二固定管(1021)配合的第一過濾板(107),所述第二固定管(1021)密封滑動連接有滑動彎桿(108),所述滑動彎桿(108)滑動連接有與所述第一過濾板(107)遠離所述第二滑動殼(106)一側轉動連接的滑動柱(109),所述滑動柱(109)設有與所述第一過濾板(107)配合的固定塊,所述緩沖殼(101)設有反沖控制機構(2)和殘渣收集機構(5)。
2.根據權利要求1所述的一種反沖洗式下水道污水過濾閥,其特征在于:所述滑動彎桿(108)和所述滑動柱(109)相對滑動的距離等于所述第一過濾板(107)的厚度,用于保證所述第一過濾板(107)可以進行偏轉。
3.根據權利要求1所述的一種反沖洗式下水道污水過濾閥,其特征在于:所述反沖控制機構(2)包括有第一儲液筒(201),所述第一儲液筒(201)固接于所述緩沖殼(101)靠近所述第二固定管(1021)的一側,所述第一儲液筒(201)內密封滑動連接有與所述滑動彎桿(108)固接的第一活塞桿(202),所述第一儲液筒(201)連通有第一導液管(203),所述第一固定管(102)設有用于對其進行封堵的封堵組件(3),所述緩沖殼(101)靠近所述第一固定管(102)的一側設有用于控制反沖洗水流導向的污水導向組件(4)。
4.根據權利要求3所述的一種反沖洗式下水道污水過濾閥,其特征在于:所述封堵組件(3)包括有第二儲液筒(301),所述第二儲液筒(301)固接于所述第一固定管(102)的外壁,所述第二儲液筒(301)與所述第一導液管(203)連通,所述第二儲液筒(301)密封滑動連接有第二活塞桿(302),所述第二活塞桿(302)固接有固定板(303),所述第一固定管(102)靠近所述緩沖殼(101)的一側滑動連接有周向均勻分布的固定支桿(3031),周向均勻分布的所述固定支桿(3031)共同固接有與所述緩沖殼(101)配合的滑動盤(304),周向均勻分布的所述固定支桿(3031)與所述第一固定管(102)之間均固接有固定拉簧,靠近所述第二活塞桿(302)的所述固定支桿(3031)設有與所述固定板(303)配合的凹槽。
5.根據權利要求4所述的一種反沖洗式下水道污水過濾閥,其特征在于:靠近所述第二活塞桿(302)的所述固定支桿(3031)上凹槽的長度小于所述固定板(303)的移動距離,用于保證所述滑動盤(304)對所述第一固定管(102)的封堵。
6.根據權利要求4所述的一種反沖洗式下水道污水過濾閥,其特征在于:所述污水導向組件(4)包括有第一固定筒(401),所述第一固定筒(401)固接于所述緩沖殼(101)靠近所述第一固定管(102)的一側,所述第一固定筒(401)密封滑動連接有與所述滑動盤(304)配合的第三活塞桿(402),所述第三活塞桿(402)插入所述緩沖殼(101)內,所述第一固定筒(401)連通有第二導液管(403),靠近所述第一固定管(102)一側的所述導液殼(103)固接有與所述第二導液管(403)連通的第二固定筒(404),所述第二固定筒(404)密封滑動連接有第四活塞桿(405),所述第二固定筒(404)與所述第四活塞桿(405)之間固接有彈簧,所述第四活塞桿(405)穿透對應的所述導液殼(103)并與所述第一滑動殼(105)固接。
7.根據權利要求6所述的一種反沖洗式下水道污水過濾閥,其特征在于:所述殘渣收集機構(5)包括有固定殼(501),所述固定殼(501)固接于所述緩沖殼(101),所述固定殼(501)內設有通孔,所述固定殼(501)的通孔與所述緩沖殼(101)連通,所述固定殼(501)遠離所述緩沖殼(101)的一側滑動連接有密封板(502),所述密封板(502)與所述固定殼(501)的通孔配合,所述固定殼(501)的通孔連通有第二連通管(503),所述第二固定管(1021)相對于所述第二滑動殼(106)遠離所述第一過濾板(107)的一側與所述第二連通管(503)連通,所述固定殼(501)的通孔內轉動連接有過濾筒(504),所述第一滑動殼(105)固接有與所述第一固定管(102)配合的第二過濾板(505),所述固定殼(501)設有用于控制其連通的收集控制組件(6)。
8.根據權利要求7所述的一種反沖洗式下水道污水過濾閥,其特征在于:所述收集控制組件(6)包括有轉動板(601),所述轉動板(601)轉動連接于所述固定殼(501)靠近所述緩沖殼(101)的一側,所述固定殼(501)與所述轉動板(601)的轉動連接處設有扭簧,所述轉動板(601)設有盲孔,所述固定殼(501)設有連接孔,所述固定殼(501)的連接孔內滑動連接有與所述轉動板(601)盲孔配合的限位塊(602),所述限位塊(602)與所述固定殼(501)之間固接有彈簧,所述固定殼(501)的連接孔連通有第一導流管(603),所述第一導流管(603)插入所述緩沖殼(101),所述緩沖殼(101)靠近所述第一固定管(102)的一側固接有固定彎塊(604),所述緩沖殼(101)靠近所述第一固定管(102)的一側密封滑動連接有與所述第一導流管(603)連通的滑動筒(605),所述固定彎塊(604)與所述滑動筒(605)之間固接有彈簧,所述滑動筒(605)密封滑動連接有與所述滑動盤(304)固接的第一滑動件(606)。
9.根據權利要求8所述的一種反沖洗式下水道污水過濾閥,其特征在于:還包括有纖維清理機構(7),所述纖維清理機構(7)用于清理所述第一過濾板(107)上的纖維毛發,所述纖維清理機構(7)設置于靠近所述第二固定管(1021)一側的所述導液殼(103),所述纖維清理機構(7)包括有第三固定筒(701),所述第三固定筒(701)固接于靠近所述第二固定管(1021)一側的所述導液殼(103),所述第三固定筒(701)密封滑動連接有與所述第二滑動殼(106)固接的第二滑動件(702),所述第二滑動件(702)穿透對應的所述導液殼(103),所述第三固定筒(701)連通有第二導流管(703),所述緩沖殼(101)靠近所述第二固定管(1021)的一側固接有與所述第二導流管(703)連通的第四固定筒(704),所述第四固定筒(704)密封滑動連接有第三滑動件(705),所述第三滑動件(705)插入所述緩沖殼(101),所述緩沖殼(101)靠近所述第二固定管(1021)的一側滑動連接有滑動框(706),所述滑動框(706)與所述緩沖殼(101)之間固接有鏡像分布的彈簧,所述滑動框(706)轉動連接有轉動軸(707),所述轉動軸(707)與所述第三滑動件(705)配合,所述轉動軸(707)滑動連接有滑動架(708),所述滑動架(708)與所述轉動軸(707)之間固接有鏡像分布的固定拉簧,所述滑動架(708)遠離所述轉動軸(707)的一側設有均勻分布的硬毛刷,所述滑動架(708)均勻分布的硬毛刷與所述第一過濾板(107)配合,所述滑動框(706)設有用于控制所述滑動架(708)偏轉的清理擺動組件(8)。
10.根據權利要求9所述的一種反沖洗式下水道污水過濾閥,其特征在于:所述清理擺動組件(8)包括有鏡像分布的弧形桿(801),鏡像分布的所述弧形桿(801)均固接于所述滑動框(706)上,鏡像分布的所述弧形桿(801)共同與所述轉動軸(707)滑動連接,所述滑動框(706)與所述轉動軸(707)之間固接有鏡像分布的復位拉簧(802),所述緩沖殼(101)靠近所述滑動框(706)的一側固接有與所述滑動架(708)配合的限位架(803)。
發明內容
為了解決污水過濾閥濾網容易堵塞的問題,本發明提供了一種反沖洗式下水道污水過濾閥。
本發明的技術方案是:一種反沖洗式下水道污水過濾閥,包括有緩沖殼,所述緩沖殼固接并連通有第一固定管和第二固定管,所述第一固定管和所述第二固定管呈鏡像分布,所述第一固定管和所述第二固定管均固接有導液殼,鏡像分布的所述導液殼內之間連通有第一連通管,靠近所述第一固定管的所述導液殼內滑動連接有第一滑動殼,所述第一滑動殼與所述第一固定管配合,靠近所述第二固定管的所述導液殼內滑動連接有第二滑動殼,所述第二滑動殼與所述第二固定管配合,所述第二滑動殼與對應的所述導液殼之間固接有鏡像分布的固定拉簧,所述緩沖殼滑動連接有與所述第二固定管配合的第一過濾板,所述第二固定管密封滑動連接有滑動彎桿,所述滑動彎桿滑動連接有與所述第一過濾板遠離所述第二滑動殼一側轉動連接的滑動柱,所述滑動柱設有與所述第一過濾板配合的固定塊,所述緩沖殼設有反沖控制機構和殘渣收集機構。
更為優選的是,所述滑動彎桿和所述滑動柱相對滑動的距離等于所述第一過濾板的厚度,用于保證所述第一過濾板可以進行偏轉。
更為優選的是,所述反沖控制機構包括有第一儲液筒,所述第一儲液筒固接于所述緩沖殼靠近所述第二固定管的一側,所述第一儲液筒內密封滑動連接有與所述滑動彎桿固接的第一活塞桿,所述第一儲液筒連通有第一導液管,所述第一固定管設有用于對其進行封堵的封堵組件,所述緩沖殼靠近所述第一固定管的一側設有用于控制反沖洗水流導向的污水導向組件。
更為優選的是,所述封堵組件包括有第二儲液筒,所述第二儲液筒固接于所述第一固定管的外壁,所述第二儲液筒與所述第一導液管連通,所述第二儲液筒密封滑動連接有第二活塞桿,所述第二活塞桿固接有固定板,所述第一固定管靠近所述緩沖殼的一側滑動連接有周向均勻分布的固定支桿,周向均勻分布的所述固定支桿共同固接有與所述緩沖殼配合的滑動盤,周向均勻分布的所述固定支桿與所述第一固定管之間均固接有固定拉簧,靠近所述第二活塞桿的所述固定支桿設有與所述固定板配合的凹槽。
更為優選的是,靠近所述第二活塞桿的所述固定支桿上凹槽的長度小于所述固定板的移動距離,用于保證所述滑動盤對所述第一固定管的封堵。
更為優選的是,所述污水導向組件包括有第一固定筒,所述第一固定筒固接于所述緩沖殼靠近所述第一固定管的一側,所述第一固定筒密封滑動連接有與所述滑動盤配合的第三活塞桿,所述第三活塞桿插入所述緩沖殼內,所述第一固定筒連通有第二導液管,靠近所述第一固定管一側的所述導液殼固接有與所述第二導液管連通的第二固定筒,所述第二固定筒密封滑動連接有第四活塞桿,所述第二固定筒與所述第四活塞桿之間固接有彈簧,所述第四活塞桿穿透對應的所述導液殼并與所述第一滑動殼固接。
更為優選的是,所述殘渣收集機構包括有固定殼,所述固定殼固接于所述緩沖殼,所述固定殼內設有通孔,所述固定殼的通孔與所述緩沖殼連通,所述固定殼遠離所述緩沖殼的一側滑動連接有密封板,所述密封板與所述固定殼的通孔配合,所述固定殼的通孔連通有第二連通管,所述第二固定管相對于所述第二滑動殼遠離所述第一過濾板的一側與所述第二連通管連通,所述固定殼的通孔內轉動連接有過濾筒,所述第一滑動殼固接有與所述第一固定管配合的第二過濾板,所述固定殼設有用于控制其連通的收集控制組件。
更為優選的是,所述收集控制組件包括有轉動板,所述轉動板轉動連接于所述固定殼靠近所述緩沖殼的一側,所述固定殼與所述轉動板的轉動連接處設有扭簧,所述轉動板設有盲孔,所述固定殼設有連接孔,所述固定殼的連接孔內滑動連接有與所述轉動板盲孔配合的限位塊,所述限位塊與所述固定殼之間固接有彈簧,所述固定殼的連接孔連通有第一導流管,所述第一導流管插入所述緩沖殼,所述緩沖殼靠近所述第一固定管的一側固接有固定彎塊,所述緩沖殼靠近所述第一固定管的一側密封滑動連接有與所述第一導流管連通的滑動筒,所述固定彎塊與所述滑動筒之間固接有彈簧,所述滑動筒密封滑動連接有與所述滑動盤固接的第一滑動件。
更為優選的是,還包括有纖維清理機構,所述纖維清理機構用于清理所述第一過濾板上的纖維毛發,所述纖維清理機構設置于靠近所述第二固定管一側的所述導液殼,所述纖維清理機構包括有第三固定筒,所述第三固定筒固接于靠近所述第二固定管一側的所述導液殼,所述第三固定筒密封滑動連接有與所述第二滑動殼固接的第二滑動件,所述第二滑動件穿透對應的所述導液殼,所述第三固定筒連通有第二導流管,所述緩沖殼靠近所述第二固定管的一側固接有與所述第二導流管連通的第四固定筒,所述第四固定筒密封滑動連接有第三滑動件,所述第三滑動件插入所述緩沖殼,所述緩沖殼靠近所述第二固定管的一側滑動連接有滑動框,所述滑動框與所述緩沖殼之間固接有鏡像分布的彈簧,所述滑動框轉動連接有轉動軸,所述轉動軸與所述第三滑動件配合,所述轉動軸滑動連接有滑動架,所述滑動架與所述轉動軸之間固接有鏡像分布的固定拉簧,所述滑動架遠離所述轉動軸的一側設有均勻分布的硬毛刷,所述滑動架均勻分布的硬毛刷與所述第一過濾板配合,所述滑動框設有用于控制所述滑動架偏轉的清理擺動組件。
更為優選的是,所述清理擺動組件包括有鏡像分布的弧形桿,鏡像分布的所述弧形桿均固接于所述滑動框上,鏡像分布的所述弧形桿共同與所述轉動軸滑動連接,所述滑動框與所述轉動軸之間固接有鏡像分布的復位拉簧,所述緩沖殼靠近所述滑動框的一側固接有與所述滑動架配合的限位架。
本發明的有益效果為:1、本發明通過第一滑動殼和第二滑動殼的移動控制水流的流動路徑,進而達到對第一過濾板上堆積雜質進行反沖洗的效果,提高了裝置的過濾效率。
2、本發明利用封堵組件中固定板和滑動盤的移動控制裝置內部水流的壓力,使進行反沖洗的水流對第一過濾板進行持續高效的清理,保證了第一過濾板清理的效果,延長了過濾介質的使用壽命。
3、通過污水導向組件中的第四活塞桿與第一滑動殼的同步移動,控制進行反沖洗的時間,保證反沖洗效果的同時避免了長時間反沖洗對裝置正常過濾效率的降低。
4、通過纖維清理機構中的轉動軸與滑動架的相對滑動,使滑動架能夠有效收集第一過濾板上堆積的毛發和纖維,保證了反沖洗的效果。
5、通過清理擺動組件中的復位拉簧和限位架控制滑動架的偏轉,使水流將毛發和纖維及時帶走,避免了毛發和纖維在滑動架上堆積降低其清理作用。
(發明人:劉國青)






