公布日:2024.01.16
申請日:2023.12.14
分類號:C02F3/30(2023.01)I;C02F7/00(2006.01)I
摘要
本發明公開了一種高寒地區節能污水處理裝置,涉及污水處理技術領域,包括通過管道依次連通設置的反應池以及降解池,降解池內設置有濾料層,降解池內插設有垂直布氣管,垂直布氣管位于濾料層的底部設置有水平布氣管,垂直布氣管的頂部連接有風車裝置,風車裝置能夠在風力的吹動下旋轉,并在垂直布氣管內形成正壓或負壓,反應池內轉動設置有攪拌件,攪拌件與風車裝置通過傳動組件傳動連接。本發明通過風力、風車裝置能夠實現對攪拌件的驅動旋轉,從而使得反應池內的污水能夠處于流動狀態,而不易發生冰凍。因此,水流無需長期保持流通狀態,污水的濃度變化較低。

權利要求書
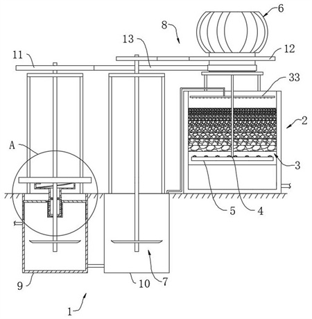
1.一種高寒地區節能污水處理裝置,其特征是:包括通過管道依次連通設置的反應池(1)以及降解池(2),所述降解池(2)內設置有濾料層(3),所述降解池(2)內插設有垂直布氣管(4),所述垂直布氣管(4)位于所述濾料層(3)的底部設置有水平布氣管(5),所述垂直布氣管(4)的頂部連接有風車裝置(6),所述風車裝置(6)能夠在風力的吹動下旋轉,并在所述垂直布氣管(4)內形成正壓或負壓,所述反應池(1)內轉動設置有攪拌件(7),所述攪拌件(7)與所述風車裝置(6)通過傳動組件(8)傳動連接;所述反應池(1)包括厭氧池(9);所述厭氧池(9)的頂部還轉動設置有動力軸(15),所述動力軸(15)與對應的所述攪拌件(7)之間設置有蓄能組件(16);所述蓄能組件(16)包括連接于所述動力軸(15)的蓄能單元(18)以及連接于對應的所述攪拌件(7)的傳遞單元(19),所述蓄能單元(18)包括扭簧(20)以及棘輪棘爪組件(21),所述傳遞單元(19)包括設置在所述攪拌件(7)上的齒輪三(22)以及設置在所述動力軸(15)上的齒狀結構(23),所述齒輪三(22)包括主體(24)以及沿周向彈動設置在所述主體(24)的側壁上的齒單元(25),所述齒單元(25)的一側設置有斜面(26),所述齒輪三(22)能夠嚙合于所述齒狀結構(23),所述棘輪棘爪組件(21)包括棘輪棘爪單元(27)以及電磁鐵二(28),所述電磁鐵二(28)通電能夠驅使棘爪從棘輪上脫出;所述動力軸(15)為中空結構,所述攪拌件(7)的轉動軸同軸穿入所述動力軸(15)內,所述齒狀結構(23)設置在所述動力軸(15)的內壁上。
2.根據權利要求1所述的高寒地區節能污水處理裝置,其特征是:所述反應池(1)埋設于土層內。
3.根據權利要求1所述的高寒地區節能污水處理裝置,其特征是:所述濾料層(3)的濾料從上至下粒徑逐漸增大。
4.根據權利要求1-3任一項所述的高寒地區節能污水處理裝置,其特征是:所述反應池(1)設置有兩個,兩個所述反應池(1)沿水流方向依次為所述厭氧池(9)、兼氧池(10),且兩個所述傳動組件(8)的傳動比不同,并能夠使得所述兼氧池(10)內的所述攪拌件(7)的轉速大于所述厭氧池(9)內的所述攪拌件(7)的轉速。
5.根據權利要求4所述的高寒地區節能污水處理裝置,其特征是:所述傳動組件(8)包括連接于所述攪拌件(7)的轉動軸的齒輪一(11)、連接于所述風車裝置(6)的轉動軸的齒輪二(12),所述齒輪一(11)與所述齒輪二(12)之間傳動連接有傳動帶(13)。
6.根據權利要求4所述的高寒地區節能污水處理裝置,其特征是:所述厭氧池(9)的頂部密封滑動設置有壓水板(14),所述動力軸(15)與所述壓水板(14)之間設置有動力組件(17),當所述蓄能組件(16)釋能時,所述動力軸(15)旋轉并能夠通過所述動力組件(17)驅動所述壓水板(14)在豎向上的滑動。
7.根據權利要求6所述的高寒地區節能污水處理裝置,其特征是:所述動力軸(15)的側壁上螺旋開設有動力槽(29),所述動力組件(17)包括沿徑向彈動設置于所述壓水板(14)的傳動桿(30),所述壓水板(14)上還對應設置有電磁鐵一(31),所述電磁鐵一(31)通電能夠將所述傳動桿(30)推入至所述動力槽(29)內,所述壓水板(14)上還設置有復位彈簧(32)。
發明內容
本發明的目的在于克服現有技術的不足,提供一種高寒地區節能污水處理裝置。
本發明的目的是通過以下技術方案來實現的:
一種高寒地區節能污水處理裝置,包括通過管道依次連通設置的反應池以及降解池,所述降解池內設置有濾料層,所述降解池內插設有垂直布氣管,所述垂直布氣管位于所述濾料層的底部設置有水平布氣管,所述垂直布氣管的頂部連接有風車裝置,所述風車裝置能夠在風力的吹動下旋轉,并在所述垂直布氣管內形成正壓或負壓,所述反應池內轉動設置有攪拌件,所述攪拌件與所述風車裝置通過傳動組件傳動連接。
所述反應池埋設于土層內。
所述濾料層的濾料從上至下粒徑逐漸增大。
所述反應池設置有兩個,兩個所述反應池沿水流方向依次為厭氧池、兼氧池,且兩個所述傳動組件的傳動比不同,并能夠使得所述兼氧池內的所述攪拌件的轉速大于所述厭氧池內的所述攪拌件的轉速。
所述傳動組件包括連接于所述攪拌件的轉動軸的齒輪一、連接于所述風車裝置的轉動軸的齒輪二,所述齒輪一與所述齒輪二之間傳動連接有傳動帶。
所述厭氧池的頂部密封滑動設置有壓水板,所述厭氧池的頂部還轉動設置有動力軸,所述動力軸與對應的所述攪拌件之間設置有蓄能組件,所述動力軸與所述壓水板之間設置有動力組件,當所述蓄能組件釋能時,所述動力軸旋轉并能夠通過所述動力組件驅動所述壓水板在豎向上的滑動。
所述蓄能組件包括連接于所述動力軸的蓄能單元以及連接于對應的所述攪拌件的傳遞單元,所述蓄能單元包括扭簧以及棘輪棘爪組件,所述傳遞單元包括設置在所述攪拌件上的齒輪三以及設置在所述動力軸上的齒狀結構,所述齒輪三包括主體以及沿周向彈動設置在所述主體的側壁上的齒單元,所述齒單元的一側設置有斜面,所述齒輪三能夠嚙合于所述齒狀結構,所述棘輪棘齒組件包括棘輪棘爪單元以及電磁鐵二,所述電磁鐵二通電能夠驅使棘爪從所述棘輪上脫出。
所述動力軸的側壁上螺旋開設有動力槽,所述動力組件包括沿徑向彈動設置于所述壓水板的傳動桿,所述壓水板上還對應設置有電磁鐵一,所述電磁鐵一通電能夠將所述傳動桿推入至所述動力槽內,所述壓水板上還設置有復位彈簧。
所述動力軸為中空結構,所述攪拌件的轉動軸同軸穿入所述動力軸內,所述齒狀結構設置在所述動力軸的內壁上。
本發明的有益效果是:
1、通過風車裝置、垂直布氣管以及水平布氣管能夠過自然壓力差實現復氧,使得降解池具有好氧、厭氧交替功能,從而有效去除污水中COD,氨氮等污染物。
2、本發明通過風力、風車裝置能夠實現對攪拌件的驅動旋轉,從而使得反應池內的污水能夠處于流動狀態,而不易發生冰凍。因此,水流無需長期保持流通狀態,污水的濃度變化較低。
3、通過對兩個傳動組件的傳動比的設置,使得厭氧池內的攪拌件轉速小于兼氧池內的攪拌件的轉速,如此厭氧池內可形成污水厭氧處理環境,兼氧池內則更易形成污水兼氧處理環境,污水處理的效率以及可靠性得到提高。
4、通過動力軸、壓水板、蓄能組件以及動力組件的配合能夠實現厭氧池的自動出水以及進水,并且蓄能組件可以對風力驅動旋轉的攪拌件的旋轉力進行蓄能,并為壓水板的抽吸動作提供動力,以此實現了壓水板的無需額外設置動力源的抽吸作業,因此本發明的污水處理裝置更具節能性。
(發明人:佟洪金;陳杰;蔣廈;辜昊;紀昱彤;林茂;鮑林林;許冠東)






