公布日:2024.12.20
申請日:2023.09.19
分類號:C02F3/32(2023.01)I
摘要
本發明涉及一種下行式潛流人工濕地排泥系統,包括從上至下依次布置的種植層、布水管、填料層和反滲透層,反滲透層的下方布置進行泥水分離的集泥-排水層。有益效果為:布水管將微污染水均勻布置于填料層上,經填料層處理以后流向反滲透層,而從反滲透層所流出的污水再進入集泥-排水層,反滲透層可以濾除大粒徑填料,以免大粒徑填料掉落到集泥-排水層,起到反濾作用,從而一定程度上防止堵塞集泥-排水層,集泥-排水層實現對下行式潛流人工濕地泥水分離,污泥逐步沉淀在底部,而除泥后的凈化水則排出人工濕地,以確保出水水質更優。

權利要求書
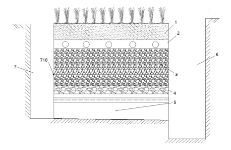
1.一種下行式潛流人工濕地排泥系統,其特征在于,包括從上至下依次布置的種植層(1)、布水管(2)、填料層(3)和反滲透層(4),所述反滲透層(4)的下方布置進行泥水分離的集泥-排水層(5)。
2.根據權利要求1所述的一種下行式潛流人工濕地排泥系統,其特征在于,所述集泥-排水層(5)包括:設置在反滲透層(4)下方的排水篦子(540),所述排水篦子(540)下方的墊層(510)上沿排水方向并排設置多個分流裝置(530),相鄰兩個分流裝置(530)之間以及分流裝置(530)與人工濕地的外墻之間形成排泥通道(570)。
3.根據權利要求1或2所述的一種下行式潛流人工濕地排泥系統,其特征在于,所述分流裝置(530)包括:沿排水方向布置的斜板(531),所述斜板(531)為中間高、兩側低的形狀,所述斜板(531)下方沿其長度方向布置至少兩塊豎板(532),相鄰兩塊豎板(532)之間形成排水通道(534),所述豎板(532)的上端與所述斜板(531)相連,所述豎板(532)與所述斜板(531)的交界處具有多個進水口(533),所述進水口(533)高于所述斜板(531)兩側邊沿;所述豎板(532)的下端與所述墊層(510)相連。
4.根據權利要求1或2或3所述的一種下行式潛流人工濕地排泥系統,其特征在于,所述集泥-排水層(5)還包括:墻體(520),所述墊層(510)上沿排水方向設置多道對排水篦子(540)進行支撐的墻體(520),所述墻體(520)與豎板(532)的長度相同,所述分流裝置(530)和所述墻體(520)相間分布,所述墻體(520)與所述分流裝置(530)之間形成排泥通道(570)。
5.根據權利要求3所述的一種下行式潛流人工濕地排泥系統,其特征在于,所述斜板(531)的兩側與垂直方向夾角為45°-60°,所述斜板(531)的迎水面采用摩擦系數小的光面塑料板。
6.根據權利要求4所述的一種下行式潛流人工濕地排泥系統,其特征在于,所述墊層(510)沿墻體(520)長度方向向下傾斜,在所述墊層(510)低的一端的外側設有檢查井(6),所述檢查井(6)的井底低于所述墊層(510),所述排泥通道(570)與所述檢查井(6)連通。
7.根據權利要求6所述的一種下行式潛流人工濕地排泥系統,其特征在于:所述集泥-排水層(5)還包括:布置在排泥通道(570)內的排泥板(550),以及用于驅動排泥板(550)在排泥通道(570)內移動以將排泥通道(570)內的底泥刮入檢查井(6)中的動力機構(560),所述墻體(520)和豎板(532)平行分布;所述排泥板(550)的高度低于所述豎板(532)上的進水口(533)所在高度,所述排泥板(550)上均勻分布濾水孔(551)。
8.根據權利要求7所述的一種下行式潛流人工濕地排泥系統,其特征在于,所述動力機構(560)包括:兩道沿排泥通道(570)長度方向平行布置且分別貼著墻體(520)和豎板(532)的支撐墻(561),所述支撐墻(561)的長度分別與墻體(520)和豎板(532)的長度相同,所述支撐墻(561)的高度低于所述豎板(532)上的進水口(533)所在高度;每道支撐墻(561)頂部均布置活動滾輪(562),所述墻體(520)和豎板(532)的側面沿支撐墻(561)的長度方向分別設置軌道,所述軌道中的固定節點(566)通過連接軸(565)與滾輪(562)的中心軸承相連接,所述固定節點(566)與連接桿(564)的一端相連接,所述連接桿(564)的另一端通過活頁與排泥板(550)上端相連接,所述排泥板(550)繞活頁可沿其移動方向前后翻動;所述動力機構(560)還包括:兩套第一牽引機構和一套第二牽引機構;在排泥時,排泥板(550)在排泥通道(570)內呈豎直狀態,并由第一牽引機構和第二牽引機構配合動作,以驅使排泥板(550)以豎直狀態在排泥通道(570)內向檢查井(6)方向移動并完成單次排泥;在單次排泥動作結束以后,由第二牽引機構帶動排泥板(550)動作,以使排泥板(550)從豎直狀態翻動為水平狀態;由第一牽引機構和第二牽引機構再配合動作,以使排泥板(550)以水平狀態返回原點,并待排泥板(550)返回原點后再通過第二牽引機構將排泥板(550)從水平狀態調整為豎直狀態。
9.根據權利要求8所述的一種下行式潛流人工濕地排泥系統,其特征在于,所述軌道包括:支撐桿(563),所述墻體(520)或豎板(532)上沿其滾輪(562)的移動方向開設導軌槽(567),所述支撐桿(563)為T型桿,所述支撐桿(563)的T型端與導軌槽(567)滑動配合,所述支撐桿(563)的T型端與導軌槽(567)之間設有活動球(568),所述支撐桿(563)與固定節點(566)相連,所述固定節點(566)通過連接軸(565)與滾輪(562)的中心軸承相連。
10.根據權利要求9所述的一種下行式潛流人工濕地排泥系統,其特征在于,在所述墊層(510)高的一端的外側設有檢修井(7),所述檢修井(7)在與集泥-排水層(5)重合的區域設置活頁開門,所述檢修井(7)的墻壁上在與填料層(3)重合的區域沿豎向設置玻璃液位觀察窗(710)。
發明內容
本發明所要解決的技術問題是提供一種下行式潛流人工濕地排泥系統,以克服上述現有技術中的不足。
本發明解決上述技術問題的技術方案如下:一種下行式潛流人工濕地排泥系統,包括從上至下依次布置的種植層、布水管、填料層和反滲透層,反滲透層的下方布置進行泥水分離的集泥-排水層。
在上述技術方案的基礎上,本發明還可以做如下改進。
進一步,集泥-排水層包括:設置在反滲透層下方的排水篦子,排水篦子下方的墊層上沿排水方向并排設置多個分流裝置,相鄰兩個分流裝置之間以及分流裝置與人工濕地的外墻之間形成排泥通道。
進一步,分流裝置包括:沿排水方向布置的斜板,斜板為中間高、兩側低的形狀,斜板下方沿其長度方向布置至少兩塊豎板,相鄰兩塊豎板之間形成排水通道,豎板的上端與斜板相連,豎板與斜板的交界處具有多個進水口,進水口高于斜板兩側邊沿;豎板的下端與墊層相連。
進一步,集泥-排水層還包括:墻體,墊層上沿排水方向設置多道對排水篦子進行支撐的墻體,墻體與豎板的長度相同,分流裝置和墻體相間分布,墻體與分流裝置之間形成排泥通道。
進一步,斜板的兩側與垂直方向夾角為45°-60°,斜板的迎水面采用摩擦系數小的光面塑料板。
進一步,墊層沿墻體長度方向向下傾斜,在墊層低的一端的外側設有檢查井,檢查井的井底低于墊層,排泥通道與檢查井連通。
進一步,集泥-排水層還包括:布置在排泥通道內的排泥板,以及用于驅動排泥板在排泥通道內移動以將排泥通道內的底泥刮入檢查井中的動力機構,墻體和豎板平行分布;排泥板的高度低于豎板上的進水口所在高度,排泥板上均勻分布濾水孔。
進一步,動力機構包括:兩道沿排泥通道長度方向平行布置且分別貼著墻體和豎板的支撐墻,支撐墻的長度分別與墻體和豎板的長度相同,支撐墻的高度低于豎板上的進水口所在高度;每道支撐墻頂部均布置活動滾輪,墻體和豎板的側面沿支撐墻的長度方向分別設置軌道,軌道中的固定節點通過連接軸與滾輪的中心軸承相連接,固定節點與連接桿的一端相連接,連接桿的另一端通過活頁與排泥板上端相連接,排泥板繞活頁可沿其移動方向前后翻動;動力機構還包括:兩套第一牽引機構和一套第二牽引機構;
在排泥時,排泥板在排泥通道內呈豎直狀態,并由第一牽引機構和第二牽引機構配合動作,以驅使排泥板以豎直狀態在排泥通道內向檢查井方向移動并完成單次排泥;在單次排泥動作結束以后,由第二牽引機構帶動排泥板動作,以使排泥板從豎直狀態翻動為水平狀態;由第一牽引機構和第二牽引機構再配合動作,以使排泥板以水平狀態返回原點,并待排泥板返回原點后再通過第二牽引機構將排泥板從水平狀態調整為豎直狀態。
更進一步,軌道包括:支撐桿,墻體或豎板上沿其滾輪的移動方向開設導軌槽,支撐桿為T型桿,支撐桿的T型端與導軌槽滑動配合,支撐桿的T型端與導軌槽之間設有活動球,支撐桿與固定節點相連,固定節點通過連接軸與滾輪的中心軸承相連。
進一步,在墊層高的一端的外側設有檢修井,檢修井在與集泥-排水層重合的區域設置活頁開門,檢修井的墻壁上在與填料層重合的區域沿豎向設置玻璃液位觀察窗。
本發明的有益效果是:
1)布水管將微污染水均勻布置于填料層上,經填料層處理以后流向反滲透層,而從反滲透層所流出的污水再進入集泥-排水層,反滲透層可以濾除大粒徑填料,以免大粒徑填料掉落到集泥-排水層,起到反濾作用,從而一定程度上防止堵塞集泥-排水層,集泥-排水層則再實現對下行式潛流人工濕地泥水分離,污泥逐步沉淀在底部,而除泥后的凈化水則排出人工濕地,以確保出水水質更優;
2)集泥-排水層中的排水篦子一方面用以支撐種植層、布水管、填料層和反滲透層,另一方面在污水經過時可以阻擋大粒徑填料往下落,微生物脫落物、顆粒物、懸浮固體等污泥逐步在排泥通道沉積,在排泥通道內形成底泥,凈化水則經過進水口后進入排水通道,利用重力作用和水動力學原理實現泥水分離,不耗能,不產生任何污染物質,出水水質更優;潛流人工濕地正常運行,不需要額外動力,僅在排泥和反沖洗時需要少量動力,將極大助力下行式潛流人工濕地減碳降耗、提質增效,即清潔無污染,低動力運行;
3)在出水水量減小、水質明顯變差時,通過反沖洗實現對集泥-排水層的維護,排泥通道、排水通道、分流裝置是污泥較容易聚集的部位,通過反沖洗可將淤塞污染物通過水流作用,由排泥通道排出濕地,解除集泥-排水層淤堵風險,保障集泥-排水層正常的集泥、排泥、集水、排水功能,保證濕地的正常運轉和水質達標,通過反沖洗使排泥通道、排水通道具有一定耐久性,此外,整個集泥-排水層整體高度一般為25cm-35cm,相較于常規排水層,高度略大,但由于整個系統占地面積較大,穩定性好,因此,可以不使用細沙緩沖層,使得整個下行式潛流人工濕地的高度與常規高度相當,不額外占地;
4)集泥-排水層中的墻體可以減少排水篦子壓力負荷和施工難度,保障人工濕地安全有效運行,而斜板的兩側與垂直方向夾角為45°-60°,斜板的迎水面采用摩擦系數小的光面塑料板,便于落在斜板上的污泥滑落到排泥通道;
5)由于墊層沿墻體長度方向向下傾斜,以及檢查井的井底低于墊層,因此,便于收集排泥通道內的污泥,且可以避免污泥回流到排泥通道內,定期通過檢查井查看排泥通道集泥情況,以適時排出所收集的污泥,通過收集污泥,定期排泥,緩解濕地堵塞,延長濕地使用壽命,此外,墊層沿墻體長度方向向下傾斜,進入排水通道內的凈化水也便于外排;
6)在排泥通道內沉積一定厚度的底泥以后,通過動力機構驅動排泥板在排泥通道內移動以將排泥通道內含水率較低的底泥刮入檢查井中,檢查井中的污泥可以采用排泥泵排出,然后用專用泵將含水率較高的底泥抽出,最后,定期對排泥通道進行反沖洗,以緩解出水口堵塞,并將上述排泥泵和專用泵難以排出的底泥(如墻壁、排泥通道底部、拐角處等)通過反沖洗稀釋排出,多項措施并舉,確保排泥高效率,及時將濕地底泥排出,有效緩解濕地堵塞,讓排泥板最高處與進水口之間富余一定距離,以確保污泥不會經進水口進入排水通道,此外,排泥板上均勻分布濾水孔,可過濾掉含水率較高的泥水,同時減小排泥板運動阻力;
7)檢修井在與集泥-排水層重合的區域設置活頁開門,平時處于關閉狀態,在需要更換定滑輪的時候打開活頁開門,對內部定滑輪進行更換;通過玻璃液位觀察窗能看到下行式潛流人工濕地液位情況,通過液位的升降及升降速度可以知道人工濕地的堵塞狀況,以便及時進行停床整修或排泥,為人工濕地停床整修和排泥時間提供有利參考,使潛流人工濕地能正常運行,避免堵塞和污染物去除率下降;
8)前期投資成本稍高于常規下行式潛流人工濕地,但是集泥-排水層優秀的泥水分離、排泥、反沖洗功能可保障較優的出水水質,極大降低濕地堵塞概率,能提供更優的工程品質,且解決運維成本,長期來看,成本低于常規下行式潛流人工濕地,性價比高。
(發明人:蘇苑君;謝舒婷;劉爽;張銳;王躍昌)






