在日常的廢水處理中,用于提升污泥的方法很多,常用的有污泥提升泵、螺旋式出泥機等吸泥機械,但存在的主要缺點有一下幾個方面:一是消耗動力大;二是吸提泥效率低;三是裝置投資多;四是運行費用高。為了克服上述不足,下面重點介紹一種分離提取污泥方法及處理裝置的創新研究。
一、污泥分離方法
當自動調節加藥管上的加藥控制閥,向來自排泥系統的排泥管中注入適量的絮凝劑,污泥通過污泥分配管自上而下流入裝置本體底部進行絮凝反應,水與泥得到迅速分離,使絮凝污泥由上而下沉淀濃縮,上清水由下而上流入環形溢水堰,經回流管回流至污水處理系統。
二、污泥提取方法
(1)當自動調節壓縮空氣管上配置的空氣電控閥,其氣壓在克服吸泥管內向上輸送污泥的自重與位能及管內摩擦阻力,使吸泥管下端管內形成真空狀態,氣與泥經氣液射流器引吸,濃縮污泥從吸泥管下管口吸入至上管口排出,經擋泥帽阻擋后落到裝置本體的上部分儲存池內,經濃污泥管排入下一道機械脫水工序。
(2)分離提取污泥方法的裝置,所述裝置本體內設有隔板、且隔板的上部分為濃縮污泥儲存池,下部分為污泥絮凝沉淀池,所述隔板上還設有安裝孔,所述隔板下方設置的環形溢水堰與回流管連接,所述環形溢水堰下方設置的污泥分配管與排泥管連接,所述排泥管上還設有加藥控制閥,所述裝置本體內置中設置的吸泥管的上管口上設有擋泥帽、下管口內設有氣液射流器,所述吸泥管與壓縮空氣管平行豎立敷設并分別穿過隔板,所述壓縮空氣管下端彎管管口從吸泥管下端管口內進入、且管口置中向上,所述壓縮空氣管和氣液射流器的管口中心與吸泥管的管口中心保持同一軸線,所述壓縮空氣管上還配置空氣電控閥。
(3)這種分離提取污泥方法的裝置,本體可采用立式的圓型或方形的鋼砼澆制或碳鋼板材焊制,距其底板向上0.5m~1.5m部分可制成錐體、且錐角為40°~60°,所述裝置本體可采用單個或多個單體組合并聯建設使用。
三、具體實施方法
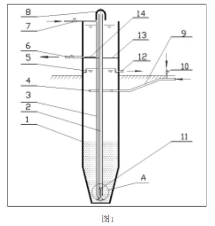
(1)某印染有限公司在污水處理系統中原有排放的稀污泥100T/d,含水量高達95%以上,經投加某絮凝劑,流入污泥池中自然沉淀,然后用污泥提升泵抽吸至濃縮污泥儲存池,不但抽吸效果差,污泥含水率高,嚴重影響機械脫水效率,而且上清液中帶走的污泥含量高,增加了污水處理的重復處理負荷,導致動力消耗大,運行成本高。采用如圖1、圖2所示的分離提取污泥的方法及裝置,包括裝置本體1、吸泥管2、壓縮空氣管3、污泥分配管4、環形溢水堰5、濃污泥管6、空氣電控閥7、擋泥帽8、排泥管9、加藥控制閥10、氣液射流器11、回流管12、隔板13、安裝孔14。該發明便于實施,結構簡單,操作管理,不但污泥濃縮好,提升速度快,而且吸出的污泥含水量低。


(2)在該實施例的廢水處理排泥系統的排泥管9中,經自動調節加藥控制閥10注入適量的絮凝劑,促使污泥顆粒增大,依靠排泥管9的位能及污泥自重,自流入裝置本體1上配置的污泥分配管4中,由上而下勻落于裝置本體1的底部,絮凝污泥在裝置本體1內得以快速沉淀,上清水由下而上流入環形溢水堰5,其出水口與回流管12連接至污水處理系統;通過反應沉淀后的濃縮污泥,經壓縮空氣管3上配置的空氣電控閥7自動調節開度,氣源從壓縮空氣管3中由上而下注入吸泥管2下端管口處,經氣液射流器11,從吸泥管2上口引出,被擋泥帽8阻攔后,落入裝置本體1內設有隔板13并置安裝孔14的上部分儲存池內儲存,經濃污泥管6排入下一道機械脫水工序中。
(3)為了使實施例充分利用壓縮空氣,提高濃縮污泥的抽吸效率,所采用的壓縮空氣壓力,克服吸泥管2中向上輸送污泥的自重與位能及管內摩擦阻力等力,在壓縮空氣管3內的空氣作用下,使吸泥管2下端管內迅速形成真空狀態,氣與泥經氣液射流器11引射,加快管內上升流速,使濃縮污泥從吸泥管2下口快速吸入,由下而上的從上口排出。
(4)本實施例的壓縮空氣管3的管口置于吸泥管2下端口處,彎曲的壓縮空氣管3下端管口從吸泥管2下端管口進入,管口置中向上,置于距氣液射流器11出口端面之下200mm處,使壓縮空氣管3和氣液射流器11的管口中心與吸泥管2管口中心保持同一軸線,材料可用不銹鋼或碳鋼。
(5)本實施例的裝置本體1可采用立式的圓型或方形的鋼砼澆制或碳鋼板材焊制。裝置制造時,距裝置本體1底板向上0.5m~1.5m部分可制成錐體,其錐角為40°~60°,這樣有利于污泥沉淀時向池底中心處匯集;裝置本體1中間設一隔板13并置安裝孔14,上部分為濃縮污泥儲存池,下部分為污泥凝絮沉淀池,隔板13下方設有環形溢水堰設有環形溢水堰5,再下方設有穿孔的污泥分配管4,其裝置容積由污泥濃縮處理量而確定,可采用單個或多個單體并聯組合建設使用。
四、結束語
這種分離提取污泥方法及處理裝置,可以廣泛適用于工業廢水和生活廢水的污泥濃縮及提取的工程中,并能將廢水處理系統產生的污泥,通過適量投藥絮凝、濃縮分離、利用氣提方式,進行一體化組合將濃縮污泥有效提取,建設容易,節能省費,應用空間很大。(來源:紹興市柯橋區環境保護監測站)


