申請日2015.07.07
公開(公告)日2015.11.18
IPC分類號C02F1/52
摘要
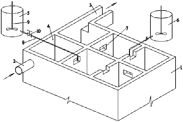
本實用新型公開了一種中密度纖維板生產線壓機廢水加藥混料裝置,包括加藥混料裝置本體、設置于加藥混料裝置本體兩端的進水管和出水槽、設置于加藥混料裝置本體內部且均勻分布的多個相互獨立的混料池以及設置于加藥混料裝置本體上部的氯化鐵加藥罐和聚丙烯酰胺加藥罐,其中加藥混料裝置本體的進水管與pH調節池相連,加藥混料裝置本體的出水槽與沉淀池相連,相鄰的混料池之間設有高低相間的溢流孔,氯化鐵加藥罐和聚丙烯酰胺加藥罐分別通過加藥管與混料池相通。本實用新型采用無動力格欄攪拌,降低了施藥量,達到了較好的混料效果,有效降低了廢水處理成本。
權利要求書
1.一種中密度纖維板生產線壓機廢水加藥混料裝置,其特征在于包括加藥混料裝置本體、設置于加藥混料裝置本體兩端的進水管和出水槽、設置于加藥混料裝置本體內部且均勻分布的多個相互獨立的混料池以及設置于加藥混料裝置本體上部的氯化鐵加藥罐和聚丙烯酰胺加藥罐,其中加藥混料裝置本體的進水管與pH調節池相連,加藥混料裝置本體的出水槽與沉淀池相連,相鄰的混料池之間設有高低相間的溢流孔,氯化鐵加藥罐和聚丙烯酰胺加藥罐分別通過加藥管與混料池相通。
2.根據權利要求1所述的中密度纖維板生產線壓機廢水加藥混料裝置,其特征在于:所述的氯化鐵加藥罐通過加藥管與加藥混料裝置本體內部前半段中的一個混料池相通,所述的聚丙烯酰胺加藥罐通過加藥管與加藥混料裝置本體內部后半段中的一個混料池相通。
3.根據權利要求1所述的中密度纖維板生產線壓機廢水加藥混料裝置,其特征在于:所述的氯化鐵加藥罐和聚丙烯酰胺加藥罐內部分別設有攪拌裝置,加藥管上設有閥門。
說明書
一種中密度纖維板生產線壓機廢水加藥混料裝置
技術領域
本實用新型屬于中密度纖維板生產廢水處理裝置技術領域,具體涉及一種中密度纖維板生產線壓機廢水加藥混料裝置。
背景技術
在中密度纖維板生產線中,壓機廢水中含有大量的木質素,如果不加以回收利用,不僅會對資源造成浪費,而且會污染環境。目前的壓機廢水加藥混料裝置只是一個較大的初沉池,沒有相應的攪拌混合裝置,混凝劑直接投加于初沉池內,這樣造成了施藥量較大且反應效果不夠理想。
發明內容
本實用新型解決的技術問題是提供了一種結構簡單且混合效果較好的中密度纖維板生產線壓機廢水加藥混料裝置。
本實用新型為解決上述技術問題采用如下技術方案,一種中密度纖維板生產線壓機廢水加藥混料裝置,其特征在于包括加藥混料裝置本體、設置于加藥混料裝置本體兩端的進水管和出水槽、設置于加藥混料裝置本體內部且均勻分布的多個相互獨立的混料池以及設置于加藥混料裝置本體上部的氯化鐵加藥罐和聚丙烯酰胺加藥罐,其中加藥混料裝置本體的進水管與pH調節池相連,加藥混料裝置本體的出水槽與沉淀池相連,相鄰的混料池之間設有高低相間的溢流孔,氯化鐵加藥罐和聚丙烯酰胺加藥罐分別通過加藥管與混料池相通。
進一步限定,所述的氯化鐵加藥罐通過加藥管與加藥混料裝置本體內部前半段中的一個混料池相通,聚丙烯酰胺加藥罐通過加藥管與加藥混料裝置本體內部后半段中的一個混料池相通。
進一步限定,所述的氯化鐵加藥罐和聚丙烯酰胺加藥罐內部分別設有攪拌裝置,加藥管上設有閥門。
本實用新型采用無動力格欄攪拌,降低了施藥量,達到了較好的混料效果,有效降低了廢水處理成本。







