公開(公告)日2015.01.21
IPC分類號C02F9/12
摘要
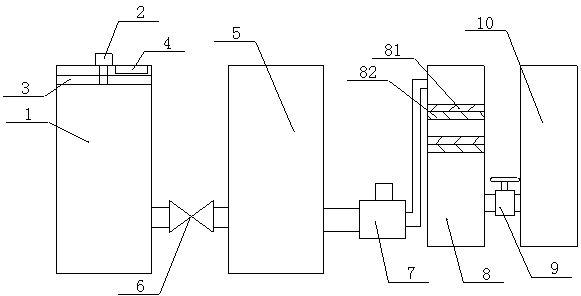
本實用新型涉及廢水處理技術領域,特別涉及一種高效率廢水處理機構,它包含過濾池、驅動電機、濾網機構、消磁清理器、反應池、輸送泵、臭氧泵、電場水處理器、閥門、儲水池,過濾池的上端安裝有蓋板,蓋板上設置有進水口,蓋板的下側設置有濾網機構,濾網機構的中部與驅動電機的轉軸連接,消磁清理器安裝在蓋板的底部,且設置在進水口的一側,過濾池通過管道、輸送泵與反應池連接,反應池通過臭氧泵與電場水處理器連接,水處理器內設置有數個活性炭層與吸附層,水處理器通過管道、閥門與儲水池連接;它提高了工作效率,節省了時間,延長了使用壽命,操作簡便。
權利要求書
1.一種高效率廢水處理機構,其特征在于:它包含過濾池(1)、驅動電機(2)、濾網機構(3)、消磁清理器(4)、反應池(5)、輸送泵(6)、臭氧泵(7)、電場水處理器(8)、閥門(9)、儲水池(10),過濾池(1)的上端安裝有蓋板,蓋板上設置有進水口(1-1),蓋板的下側設置有濾網機構(3),濾網機構(3)的中部與驅動電機(2)的轉軸連接,消磁清理器(4)安裝在蓋板的底部,且設置在進水口(1-1)的一側,過濾池(1)通過管道、輸送泵(6)與反應池(5)連接,反應池(5)通過臭氧泵(7)與電場水處理器(8)連接,水處理器(8)內設置有數個活性炭層(81)與吸附層(82),水處理器(8)通過管道、閥門(9)與儲水池(10)連接。
2.根據權利要求1所述的一種高效率廢水處理機構,其特征在于:所述的濾網機構(3)上設置有十字架,十字架上安裝有帶有磁性的濾網。
說明書
一種高效率廢水處理機構
技術領域
本實用新型涉及廢水處理技術領域,特別涉及一種高效率廢水處理機構。
背景技術
廢水是指居民活動過程中排出的水及徑流雨水的總稱。它包括生活污水、工業廢水和初雨徑流入排水管渠等其它無用水,一般指沒有利用或沒利用價值的水。
廢水處理就是利用物理、化學和生物的方法對廢水進行處理,使廢水凈化,減少污染,以至達到廢水回收、復用,充分利用水資源。
按處理程度,廢水處理(主要是城市生活污水和某些工業廢水)一般可分為三級。
一級處理的任務是從廢水中去除呈懸浮狀態的固體污染物。為此,多采用物理處理法。一般經過一級處理后,懸浮固體的去除率為70%~80%,而生化需氧量(BOD)的去除率只有25%~40%左右,廢水的凈化程度不高。
二級處理的任務是大幅度地去除廢水中的有機污染物 ,以 BOD 為例 ,一般通過 二級處 理后 ,廢水中的 BOD可去除80%~90%,如城市污水處理后水中的 BOD含量可低于30毫克/升。需氧生物處理法的各種處理單元大多能夠達到這種要求。
三級處理的任務是進一步去除二級處理未能去除的污染物,其中包括微生物未能降解的有機物、磷、氮和可溶性無機物。
現有的廢水處理機構其使用壽命短,而且操作復雜,浪費時間,使用不方便。
實用新型內容
本實用新型的目的在于針對現有技術的缺陷和不足,提供一種結構簡單,設計合理、使用方便的一種高效率廢水處理機構,它提高了工作效率,節省了時間,延長了使用壽命,操作簡便。
為實現上述目的,本實用新型采用的技術方案是:
本實用新型所述的一種高效率廢水處理機構,它包含過濾池、驅動電機、濾網機構、消磁清理器、反應池、輸送泵、臭氧泵、電場水處理器、閥門、儲水池,過濾池的上端安裝有蓋板,蓋板上設置有進水口,蓋板的下側設置有濾網機構,濾網機構的中部與驅動電機的轉軸連接,消磁清理器安裝在蓋板的底部,且設置在進水口的一側,過濾池通過管道、輸送泵與反應池連接,反應池通過臭氧泵與電場水處理器連接,水處理器內設置有數個活性炭層與吸附層,水處理器通過管道、閥門與儲水池連接。
所述的濾網機構上設置有十字架,十字架上安裝有帶有磁性的濾網。
采用上述結構后,本實用新型有益效果為:本實用新型所述的一種高效率廢水處理機構,它提高了工作效率,節省了時間,延長了使用壽命,操作簡便。







