申請日2014.11.03
公開(公告)日2015.01.28
IPC分類號C02F9/14
摘要
一種升流式厭氧-生物催化電解耦合強化難降解廢水處理裝置,本發明涉及處理難降解廢水的裝置。本發明要解決現有技術處理有毒廢水效率低、毒性耐受能力弱,并且缺乏穩定性的問題。本裝置由反應器主體、蓋板、布水板、鈦絲、陰極、陽極、參比電極、電阻和電源組成;其中,反應器主體下部的左右兩側各設一個進水口,反應器主體上部的左右兩側各設一個出水口,集氣孔設置在反應器主體的頂端,采樣口設置在反應器主體的正面;布水板、陰極和陽極設置在反應器主體的內部,陽極高于陰極。本發明采用一體式無隔膜厭氧-生物催化電解系統,具有厭氧生物法和生物電化學法的特點,成本低,容積負荷高。本發明裝置用于處理難降解有毒廢水。
權利要求書
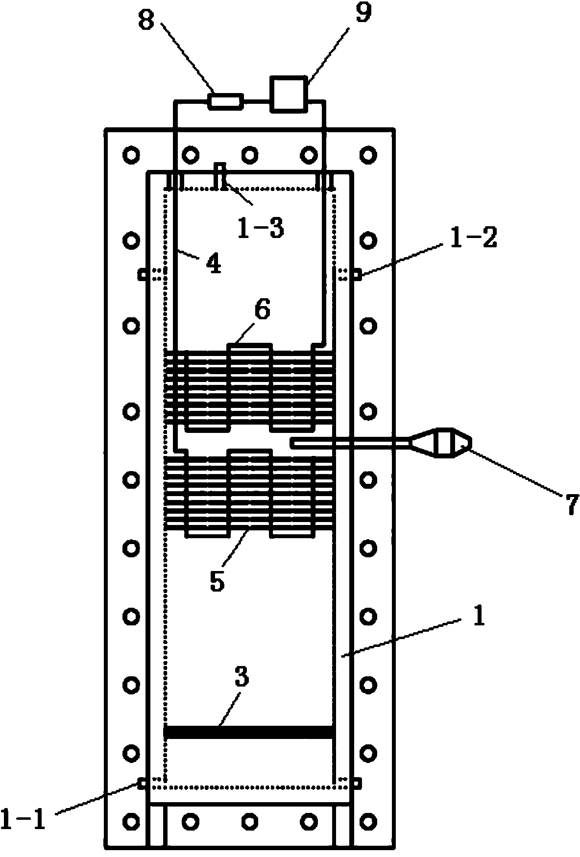
1.一種升流式厭氧-生物催化電解耦合強化難降解廢水處理裝置,其特征在于該裝置 由反應器主體(1)、蓋板(2)、布水板(3)、鈦絲(4)、陰極(5)、陽極(6)、參比電極 (7)、電阻(8)和電源(9)組成;其中,反應器主體(1)下部的左右兩側各設一個進水 口(1-1),反應器主體(1)上部的左右兩側各設一個出水口(1-2),集氣孔(1-3)設置在 反應器主體(1)的頂端,采樣口(1-4)設置在反應器主體(1)的正面;布水板(3)、陰 極(5)和陽極(6)設置在反應器主體(1)的內部,陽極(6)高于陰極(5),布水板(3) 靠近進水口(1-1),陰極(5)、電阻(8)、電源(9)和陽極(6)通過鈦絲(4)依次連接, 參比電極(7)插入反應器主體(1)設置在陰極(5)和陽極(6)之間,蓋板(2)和反應 器主體(1)的四周均設有螺孔,反應器主體(1)和蓋板(2)通過螺釘穿過螺孔組成一體 結構。
2.根據權利要求1所述的一種升流式厭氧-生物催化電解耦合強化難降解廢水處理裝 置,其特征在于陰極(5)由鈦絲(4)串聯8個碳刷組成,刷子的直徑25為mm、長度為 40mm;陽極(6)由鈦絲(4)串聯8個碳刷組成,刷子的直徑為25mm、長度為40mm。
3.根據權利要求1所述的一種升流式厭氧-生物催化電解耦合強化難降解廢水處理裝 置,其特征在于鈦絲(4)的直徑為1mm。
4.根據權利要求1所述的一種升流式厭氧-生物催化電解耦合強化難降解廢水處理裝 置,其特征在于進水口(1-1)、出水口(1-2)、集氣孔(1-3)和采樣口(1-4)的內徑為5mm。
5.根據權利要求1所述的一種升流式厭氧-生物催化電解耦合強化難降解廢水處理裝 置,其特征在于布水板(3)板體設有孔洞。
6.根據權利要求1所述的一種升流式厭氧-生物催化電解耦合強化難降解廢水處理裝 置,其特征在于反應器主體(1)由有機玻璃制成。
說明書
一種升流式厭氧-生物催化電解耦合強化難降解廢水處理裝置
技術領域
本發明涉及處理難降解廢水的裝置。
背景技術
近年來,隨著我國經濟的高速發展,作為經濟支柱的工業行業發展尤為迅猛,由此帶 來的環境問題也愈發嚴重,其中的廢水問題成為環境領域內的研究熱點和難點。工業廢水 主要特定有:來源復雜,水質水量波動大,含有大量有毒性、難生物降解的污染物等。雖 然工業廢水的處理技術經過幾十年、若干代的發展,出現了一批成型的、已廣泛應用的處 理技術,但是仍然難以應對日益增加的高濃度、難降解、具有生物毒性的廢水。缺乏處理 效率高、毒性耐受能力強、穩定可靠的處理技術和工藝設備是環境保護和廢水治理領域的 瓶頸。
傳統的工業廢水處理技術主要包括物理化學法和生物法兩大部分,其中物理化學法雖 然對一些污染物的處理效率極高,但是成本高,操作條件苛刻,需要投加大量的化學藥劑, 產生有毒、有害副產物,易造成二次污染,嚴重限制物理化學法在大規模工業廢水處理中 的應用。生物法,尤其是厭氧生物法是目前普遍采用的工業廢水治理技術,其利用微生物 新陳代謝過程產生的酶將復雜的,難以降解的污染物分解成小分子易生物降解的有機物, 有的微生物可以直接利用復雜有機物作為碳源,用于自身生長;此外,也可以通過馴化微 生物,將廢水中的污染物定向富集回收加以利用;亦可將廢水中的高濃度有機物以甲烷和 氫氣等形式回收作為清潔能源。厭氧生物處理技術具有無需添加化學藥劑,無需曝氣,可 以回收能源,成本低廉等優勢,但是也存在以下不足:
(1)速度慢
厭氧生物反應可以降解水中的大部分污染物,承受較大的進水負荷,但由于厭氧生物 自身新陳代謝過程緩慢,導致工藝水力停留時間長,降解負荷較低,因此,厭氧生物工藝 速度慢,占地面積大,常常需要與好氧或物化工藝聯合來進一步去除厭氧出水中的有機物 (COD)及其它污染物。
(2)調控難度大
生物厭氧降解有機廢水過程非常復雜,常常需要經過較長時間的馴化才能演替出適合 的微生物群落,通過協同作用才能完成對污染物的去除,然而工業廢水水質和水量變化大, 極易形成沖擊負荷,對系統造成不可逆轉的影響。因此,厭氧處理工藝的調控長久以來都 是廢水生物處理的難題。
綜上所述,我們需要對現有的厭氧工藝進行改進,以提高工業廢水的處理效率,強化 廢水中難降解污染物的轉化和去除,降低操控難度,提高工藝穩定性。
生物電化學技術的發展及其應用潛力
微生物產電現象很早就被科學家發現,上世紀九十年代以來,以微生物燃料電池 (MFC)為代表的生物電化學技術因其既能降解廢水中的污染物,同時還能產生電能成 為環境污染治理和能源開發領域競相研究的熱點技術。之后的研究中發現在外加電壓的作 用下,生物電化學系統對廢水中的難降解污染物具有定向轉化能力。生物電化學過程的本 質是:陽極上的嗜電極微生物氧化有機物并通過胞外電子傳遞鏈將電子通過外電路轉移到 陰極,通過微生物的催化和電化學反應去除水中的污染物,如:偶氮染料脫色,抗生素脫 鹵,硝基還原,重金屬還原等。
生物電化學工藝的優勢有:
(1)生物電化學工藝所需的共基質(有機碳源)量顯著低于傳統工藝;
(2)對難降解物質的去除效率高,速率快;
(3)相比傳統的電化學工藝,成本低,條件溫和。
目前,在生物電化學降解偶氮染料,含氯、氟抗生素,硝基芳香烴類污染物處理方面 顯示該工藝具有巨大的應用潛力。但是在研究過程中也發現生物電化學工藝存在一些問 題,如只能利用簡單底物作為電子供體,對成分復雜的污染物作為電子時效能受限明顯。
發明內容
本發明要解決現有技術處理有毒廢水效率低、毒性耐受能力弱,并且缺乏穩定性的問 題,而提供一種升流式厭氧-生物催化電解耦合強化難降解廢水處理裝置。
一種升流式厭氧-生物催化電解耦合強化難降解廢水處理裝置,由反應器主體、蓋板、 布水板、鈦絲、陰極、陽極、參比電極、電阻和電源組成;其中,反應器主體下部的左右 兩側各設一個進水口,反應器主體上部的左右兩側各設一個出水口,集氣孔設置在反應器 主體的頂端,采樣口設置在反應器主體的正面;布水板、陰極和陽極設置在反應器主體的 內部,陽極高于陰極,布水板靠近進水口,陰極、電阻、電源和陽極通過鈦絲依次連接, 參比電極插入反應器主體設置在陰極和陽極之間,蓋板和反應器主體的四周均設有螺孔, 反應器主體和蓋板通過螺釘穿過螺孔組成一體結構。
本發明裝置流態呈升流式,無隔膜,污泥層形成的厭氧區域在下部,生物催化電解系 統的電極置于厭氧污泥層上方;每個電極由8個碳刷串聯而成,分兩排排列,填充裝置的 橫截面,防止短流;鈦絲作為電流收集器伸出反應器,并用熱縮管包裹,避免短路;陽極 預先原位富集具有生物電化學活性的微生物,形成具有穩定產電能力的生物膜后,再于裝 置底部填充厭氧污泥床;
所述的陽極在反應器中原位啟動,富集具有生物電化學活性的生物膜,而后在裝置底 部接種污泥形成耦合工藝系統;本發明裝置處理的難降解廢水為含有偶氮染料(茜素黃) 的廢水,難降解污染物是指復雜的,有生物毒性的,生物降解性差且具有環境污染性的物 質。
本發明升流式厭氧-生物催化電解耦合強化難降解廢水處理裝置,將生物電化學工藝 與傳統的升流式厭氧處理工藝耦合,充分發揮厭氧工藝耐沖擊負荷能力強,能降解大分子 難降解化合物的特點,以及生物電化學工藝處理效率高,出水水質好的優勢。其中電極材 料采用石墨纖維綁制成的刷子,并以綁制刷子的鈦絲作為電子傳導材料。相比于其它的三 維電極材料,如石墨顆粒電極,本發明中石墨纖維做成電極有明顯優勢,相同電極體積具 有較大的表面積,負載更多的微生物,產生較大的催化電流,自身重量較輕,在日后工藝 放大過程中設計簡單,施工難度小。本發明中的電極能夠按照需要改變安裝高度,根據水 質自由靈活調整。電極排布方式為陽極在上,陰極在下,可以充分發揮陰極降解污染物的 作用,同時解除難降解物質對陽極產電微生物的毒性作用。
本發明的有益效果是:本發明采用一體式無隔膜厭氧-生物催化電解系統,具有厭氧 生物法和生物電化學法的特點,成本低,容積負荷高;本發明所采用的電極材料為廉價的 石墨纖維刷,比表面積大,生物掛膜效果好;本發明將生物催化電解系統的陽極和陰極沿 廢水升流方向上下分布,陰極在下,陽極在上,利于充分發揮陰極強大的污染物降解能力, 保護陽極;本發明中的生物催化電解系統所采用的電極可以根據需要調整在工藝系統中的 位置,更具靈活性。
本發明升流式厭氧-生物催化電解耦合強化難降解廢水處理裝置用于處理難降解有毒 廢水。







