申請日2013.08.20
公開(公告)日2014.01.22
IPC分類號C02F9/14
摘要
本實用新型屬于含氮廢水處理領域,公開了一種利用酸中和殘渣和脫水鋁污泥處理含氮廢水的系統。該系統包括酸中和殘渣裝置和脫水鋁污泥裝置,酸中和殘渣裝置設置在脫水鋁污泥裝置的上方,且酸中和殘渣裝置的底部高于脫水鋁污泥裝置的頂部,該酸中和殘渣裝置的底部和該脫水鋁污泥裝置的底部通過管道連通,該管道上靠近脫水鋁污泥裝置的位置處設置有閥門;該系統還包括儲水池,儲水池與所述的酸中和殘渣裝置上端連通的管道上設置有第一水泵、儲水池與脫水鋁污泥裝置上端連通的管道上設置有第二水泵。本實用新型利用酸中和殘渣和脫水鋁污泥作為反應介質,通過構造兩級濾池,實施含氮廢水的交替運行,實現了氨氮和總氮的高效去除。
權利要求書
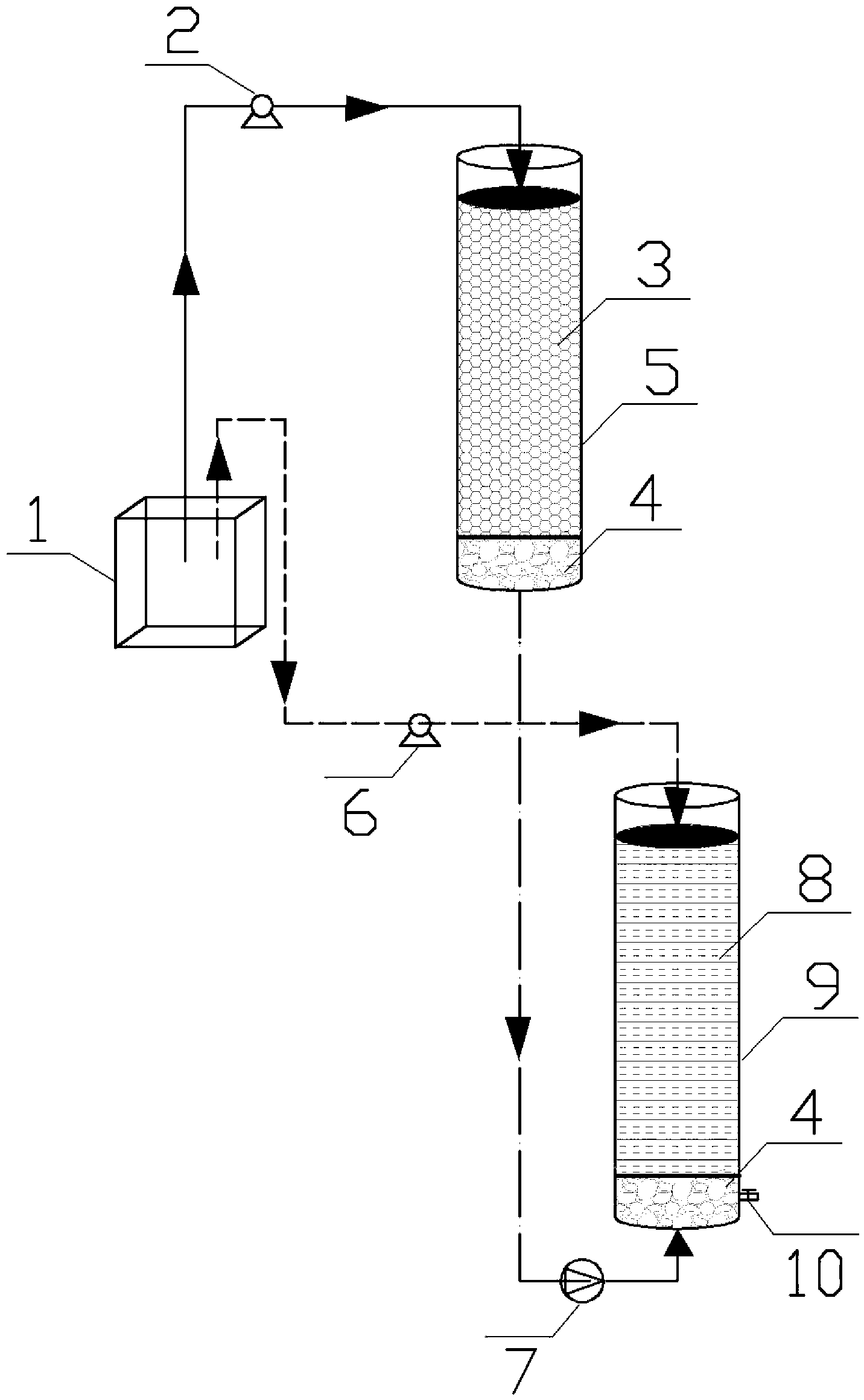
1.一種利用酸中和殘渣和脫水鋁污泥處理含氮廢水的系統,包括酸中和殘渣裝置(5)和 脫水鋁污泥裝置(9),其特征在于,所述的酸中和殘渣裝置(5)設置在所述的脫水鋁污泥裝 置(9)的上方,且所述的酸中和殘渣裝置(5)的底部高于所述的脫水鋁污泥裝置(9)的頂 部,該酸中和殘渣裝置(5)的底部和該脫水鋁污泥裝置(9)的底部通過管道連通,該管道 上靠近所述的脫水鋁污泥裝置(9)的位置處設置有閥門(7);
該系統還包括儲水池(1),所述的儲水池(1)與所述的酸中和殘渣裝置(5)上端連通 的管道上設置有第一水泵(2)、所述的儲水池(1)與所述的脫水鋁污泥裝置(9)上端連通 的管道上設置有第二水泵(6);
所述的酸中和殘渣裝置(5)中的反應濾料包括酸中和殘渣(3),所述的脫水鋁污泥裝置 (9)中的反應濾料包括脫水鋁污泥(8)。
2.根據權利要求1所述的一種利用酸中和殘渣和脫水鋁污泥處理含氮廢水的系統,其特 征在于,所述的酸中和殘渣裝置(5)和所述的脫水鋁污泥裝置(9)的有效反應容積相等, 且所述的酸中和殘渣裝置(5)的底部高于所述的脫水鋁污泥裝置(9)的頂部3~5cm。
3.根據權利要求2所述的一種利用酸中和殘渣和脫水鋁污泥處理含氮廢水的系統,其特 征在于,所述的酸中和殘渣裝置(5)中的反應濾料上層為酸中和殘渣(3),下層為鵝卵石(4)。
4.根據權利要求2或3所述的一種利用酸中和殘渣和脫水鋁污泥處理含氮廢水的系統, 其特征在于,所述的脫水鋁污泥裝置(9)中的反應濾料上層為脫水鋁污泥(8),下層為鵝卵 石(4)。
說明書
一種利用酸中和殘渣和脫水鋁污泥處理含氮廢水的系統
技術領域
本發明屬于含氮廢水處理領域,更具體地說,涉及一種綜合利用酸中和殘渣及脫水鋁污 泥作為濾料處理含氮廢水的系統。
背景技術
近年來,隨著我國經濟的飛速發展,人民生活水平逐步提高。但與此同時,人類的生產 和生活也給賴以生存的環境帶來了一定的負面影響,氮素污染問題就是其中的一個重點。氮 素是污水中的眾多污染物中關注度最高、轉化最復雜的成分之一。水體作為一個重要氮匯, 正因為氮素(氨氮和總氮為主)不斷輸入而飽和超載,其中畜禽養殖和農村生活污水是很多 流域污染的主要來源,污水中的氮導致水體生態系統多樣性的急劇下降和頻現的河湖富營養 化,因此急需構建適合畜禽養殖規模和農村分散式污水特點的含氮廢水處理系統。如何高效 去除其中的氨氮和總氮成為科研工作者面臨的一項重要課題。
針對農村生活污水和畜禽養殖廢水的水質特點,目前采用的處理工藝主要有生態化處理 和生物反應器模式。生態化處理模式主要包括人工濕地系統、土地處理系統、穩定塘系統和 藻類塘系統,此種類型技術建設費用、運行成本低廉,但需要占用較大的土地資源;生物反 應器處理模式主要包括厭氧生物濾池、生物接觸氧化池、凈化槽技術和厭氧好氧組合工藝, 此類型技術占地少,工藝運行可控,但工藝復雜、建設和運行費用較高。因此急需研制同時 具有占地面積小、工藝簡單和運行成本低特點的去除氨氮和總氮工藝。
水處理中濾料是生化反應技術的核心,其性能的好壞直接影響污水處理過程的效率、能 耗、可靠性和穩定性,已有的報道利用土壤、礦物垃圾、陶粒、沸石等作為填料處理農村或 畜禽養殖廢水。這些材料成本低、易獲得,對污水中的磷和有機物有較高的去除率,但是脫 氮效果不理想。脫水鋁污泥是一種新興的人工濕地填料,通過存在于其上的硝化和反硝化菌 對污水脫氮發揮作用,對畜禽養殖廢水脫氮效率高達80%。但是此種單一濾料濾池在運行過 程中使用曝氣機提高了運行成本,不利于節能減耗。此外,酸中和殘渣脫氮的研究只限于地 表水,氮素以反硝化形式和吸附到濾料中天然有機物上而去除,鮮有利用其處理含氮污水的 報道。
發明內容
1.要解決的技術問題
針對各種現有的含氮廢水處理技術不能兼具成本低廉、工藝簡單的技術優勢的問題,本 實用新型提供了一種利用酸中和殘渣和脫水鋁污泥處理含氮廢水的系統,它充分發揮酸中和 殘渣和脫水鋁污泥協同作用機制,實現了氨氮和總氮的高效去除。
2.技術方案
本實用新型的原理:采用酸中和殘渣和和脫水鋁污泥作為復合濾池濾料,利用基質固體 表面的吸附和離子交換,以及濾料中的脫氮功能菌去除污水中的氨氮和總氮,同時通過在兩 級濾池之間增加二次布水和適當延長停留時間的方式改變工藝條件。總體上,此系統結合兩 種濾料的結構和功能特點,配以適當的運行條件達到對含氮污水的高效去除。
本實用新型的目的通過以下技術方案實現。
一種利用酸中和殘渣和脫水鋁污泥處理含氮廢水的系統,包括酸中和殘渣裝置和脫水鋁 污泥裝置,所述的酸中和殘渣裝置設置在所述的脫水鋁污泥裝置的上方,且所述的酸中和殘 渣裝置的底部高于所述的脫水鋁污泥裝置的頂部,該酸中和殘渣裝置的底部和該脫水鋁污泥 裝置的底部通過管道連通,該管道上靠近所述的脫水鋁污泥裝置的位置處設置有閥門;
該系統還包括儲水池,所述的儲水池與所述的酸中和殘渣裝置上端連通的管道上設置有 第一水泵、所述的儲水池與脫水鋁污泥裝置上端連通的管道上設置有第二水泵;
所述的酸中和殘渣裝置中的反應濾料包括酸中和殘渣,所述的脫水鋁污泥裝置中的反應 濾料包括脫水鋁污泥。
優選地,所述的酸中和殘渣裝置和所述的脫水鋁污泥裝置的有效反應容積相等,且所述 的酸中和殘渣裝置的底部高于所述的脫水鋁污泥裝置的頂部3~5cm。
優選地,所述的酸中和殘渣裝置中的反應濾料上層為酸中和殘渣,下層為鵝卵石。
優選地,所述的脫水鋁污泥裝置中的反應濾料上層為脫水鋁污泥,下層為鵝卵石。
3.有益效果
相比于現有技術,本實用新型的優點在于:
(1)本實用新型提出的含氮廢水處理系統,利用酸中和殘渣和脫水鋁污泥作為反應介質, 利用兩種工業固體廢棄物的特點,發揮其協同作用對含氮廢水進行處理,通過構造兩級濾池, 實施含氮廢水的交替運行,在低能耗、低建設運行成本的前提下,實現了氨氮和總氮的高效 去除,屬于含氮廢水生物反應器組合新技術;
(2)本實用新型的系統再生利用酸中和殘渣及脫水鋁污泥,這兩種填料便于掛膜和脫氮 菌發揮活性,同時酸中和殘渣裝置及脫水鋁污泥裝置的兩級構造利于硝化;此外,分流量二 次布水補充了進水中的碳源,裝置之間上流式布水方式增加了污水與填料之間的接觸面積, 上述措施保證了足夠的碳源進行反硝化,使得含氮廢水得到更加充分的處理;
(3)本實用新型所選材料成本低廉、效果顯著,尤其適合含氮畜禽養殖和農村生活污水 處理,具有較大的市場前景和推廣應用價值。







