公布日:2024.05.03
申請日:2024.03.20
分類號:C02F3/12(2023.01)I;C02F3/30(2023.01)I;C02F1/52(2023.01)I;B01D65/02(2006.01)I;C02F7/00(2006.01)I
摘要
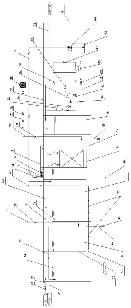
本發明涉及一種振動MBR膜裝置及振動MBR膜污水處理系統,振動MBR膜污水處理系統,其特征在于,包括按水流順序依次設置的厭氧池、缺氧池、好氧池、MBR膜池和清水池,所述厭氧池上設置有進水口,所述清水池上設置有清水排放管,所述MBR膜池內設置有振動MBR膜裝置,所述振動MBR膜裝置包括機架,架設于所述機架頂部、并沿所述機架滑動的運動架,設置于所述運動架上的MBR膜組件,以及驅動所述運動架做往復直線運動的曲軸驅動機構。所述MBR膜池還與所述缺氧池以及所述缺氧池與所述厭氧池,均通過汽提回流管相連通。本發明極大的不僅提高了污水處理的效果,還延長了MBR膜的使用壽命,節約了能耗。

權利要求書
1.一種振動MBR膜裝置,其特征在于,包括機架(1),架設于所述機架(1)頂部、并沿所述機架(1)滑動的運動架(2),設置于所述運動架(2)上的MBR膜組件(3),以及驅動所述運動架(2)和/或MBR膜組件(3)做往復直線運動的曲軸驅動機構。
2.根據權利要求1所述的一種振動MBR膜裝置,其特征在于,所述機架(1)的頂部設置有至少1條滑軌(4),所述運動架(2)上設置有若干與相對應滑軌(4)相適配的軌道輪(5)。
3.根據權利要求1所述的一種振動MBR膜裝置,其特征在于,所述機架(1)的頂部外凸形成凸起(6);運動架(2)上通過立桿(8)設置有限位件,所述限位件的頂部與所述凸起(6)的底部抵接。
4.根據權利要求1所述的一種振動MBR膜裝置,其特征在于,所述曲軸驅動機構包括固定設置于所述機架(1)上的電機(9),設置于所述電機(9)轉動輸出軸上的聯軸器(10)和曲軸(11),通過銷軸一(53)鉸接于所述運動架(2)上的連桿(13),所述曲軸(11)與所述連桿(13)通過銷軸二(12)鉸接。
5.一種振動MBR膜污水處理系統,其特征在于,包括按水流順序依次設置的厭氧池(14)、缺氧池(15)、好氧池(16)、MBR膜池(17)和清水池(18),所述厭氧池(14)上設置有進水口(19),所述進水口(19)上設置有進水閥(20),所述清水池(18)上設置有清水排放管(21),所述MBR膜池(17)內設置有如權利要求1-4任一項所述的振動MBR膜裝置,所述MBR膜池(17)還與所述缺氧池(15)以及所述缺氧池(15)與所述厭氧池(14),均通過汽提回流管(22)相連通。
6.根據權利要求5所述的一種振動MBR膜污水處理系統,其特征在于,所述缺氧池(15)和好氧池(16)內均設置有曝氣頭(23),所述曝氣頭(23)通過曝氣支管一(24)和曝氣主管(25)連接有曝氣風機(26);所述汽提回流管(22)通過曝氣支管二(27)和曝氣主管(25)與所述曝氣風機(26)相連通;所述曝氣主管(25)和所述曝氣支管二(27)上設置有曝氣閥(28)。
7.根據權利要求5所述的一種振動MBR膜污水處理系統,其特征在于,所述厭氧池(14)與缺氧池(15),缺氧池(15)與好氧池(16)、好氧池(16)與MBR膜池(17)之間均設置有隔板(29),所述隔板(29)上設置有過流口(30),厭氧池(14)與缺氧池(15)之間隔板(29)、好氧池(16)與MBR膜池(17)之間隔板(29)的過流口(30)均位于相對應隔板(29)下方,缺氧池(15)與好氧池(16)之間隔板(29)的過流口(30)位于相對應隔板(29)上方。
8.根據權利要求5所述的一種振動MBR膜污水處理系統,其特征在于,所述MBR膜池內的振動MBR裝置(49)與所述清水池(18)之間通過流水管道(31)相連通,所述流水管道(31)上按水流順序依次設置有壓力變送器(32)、產水自動閥(33)、第一閥門(34)、產水泵(35)、第二閥門(36)和電磁流量計(37)。
9.根據權利要求5所述的一種振動MBR膜污水處理系統,其特征在于,按水流方向,所述好氧池(16)的末端還通過投藥管道(50)連通有PAC藥箱(43),所述投藥管道(50)上設置有計量泵(44);所述缺氧池(15)和所述MBR膜池還通過相對應的排泥支管(45)和排泥主管(46)連通有污泥池。
10.根據權利要求5所述的一種振動MBR膜污水處理系統,其特征在于,所述缺氧池(15)和所述MBR膜池(17)上也設置有進水口(19)和進水閥(20),所述厭氧池(14)、缺氧池(15)、MBR膜池(17)上的進水口(19)均與污水進水管(48)相連通。
發明內容
本發明的目的在于克服現有技術中存在的缺陷,提供了一種振動MBR膜裝置及振動MBR膜污水處理系統,其可以利用MBR膜裝置的振動清除膜污染,從而解決了傳統技術中需要向MBR膜組件底部進行大量曝氣所導致的一系列問題。
為實現上述目的,本發明所采取的技術方案如下:
一種振動MBR膜裝置,包括機架,架設于所述機架頂部、并沿所述機架滑動的運動架,設置于所述運動架上的MBR膜組件,以及驅動所述運動架和/或MBR膜組件做往復直線運動的曲軸驅動機構。
作為進一步的技術方案,所述機架的頂部設置有至少1條滑軌,所述運動架上設置有若干與相對應滑軌相適配的軌道輪。
作為進一步的技術方案,所述機架的頂部外凸形成凸起;
作為進一步的技術方案,所述滑軌設置于所述凸起上;
運動架上通過立桿設置有限位件,所述限位件的頂部與所述凸起的底部抵接;
作為進一步的技術方案,所述限位件采用限位輪,所述限位輪轉動設置于所述立桿上。
作為進一步的技術方案,所述曲軸驅動機構包括固定設置于所述機架上的電機,設置于所述電機轉動輸出軸上的聯軸器和曲軸,通過銷軸一鉸接于所述運動架上的連桿,所述曲軸與所述連桿通過銷軸二鉸接。
一種振動MBR膜污水處理系統,包括按水流順序依次設置的厭氧池、缺氧池、好氧池、MBR膜池和清水池,所述厭氧池上設置有進水口,所述進水口上設置有進水閥,所述清水池上設置有清水排放管,
所述MBR膜池內設置有所述的振動MBR膜裝置,
所述MBR膜池還與所述缺氧池以及所述缺氧池與所述厭氧池,均通過汽提回流管相連通。。
作為進一步的技術方案,所述缺氧池和好氧池內均設置有曝氣頭,所述曝氣頭通過曝氣支管一和曝氣主管連接有曝氣風機;
作為進一步的技術方案,所述汽提回流管通過曝氣支管二和曝氣主管與所述曝氣風機相連通;
作為進一步的技術方案,所述曝氣主管和所述曝氣支管二上設置有曝氣閥。
作為進一步的技術方案,所述厭氧池與缺氧池,缺氧池與好氧池、好氧池與MBR膜池之間均設置有隔板,所述隔板上設置有過流口,厭氧池與缺氧池之間隔板、好氧池與MBR膜池之間隔板的過流口均位于相對應隔板下方,缺氧池與好氧池之間隔板的過流口位于相對應隔板上方。
作為進一步的技術方案,所述MBR膜池內的振動MBR裝置與所述清水池之間通過流水管道相連通,所述流水管道上按水流順序依次設置有壓力變送器、產水自動閥、第一閥門、產水泵、第二閥門和電磁流量計。
作為進一步的技術方案,所述清水池與所述流水管道還通過反洗管道相連通,所述反洗管道的一端設置于清水池的下部,另一端設置與流水管道上壓力變送器和產水自動閥之間;
作為進一步的技術方案,所述反洗管道上按水流順序依次設置有第三閥門、反洗泵、第四閥門、反洗自動閥。
作為進一步的技術方案,按水流方向,所述好氧池的末端還通過投藥管道連通有PAC藥箱,所述投藥管道上設置有計量泵;
作為進一步的技術方案,所述缺氧池和所述MBR膜池還通過相對應的排泥支管和排泥主管連通有污泥池;
作為進一步的技術方案,還設有設備間,所述流水管道上的壓力變送器、產水自動閥、第一閥門、產水泵、第二閥門和電磁流量計,所述反洗管道上的第三閥門、反洗泵、第四閥門、反洗自動閥,以及所述PAC藥箱和計量泵均設置于所述設備間內。本發明PAC藥劑統進入到好氧池末端,經過氣流的攪拌后進入MBR膜池,從而提高了MBR膜池的沉降性能,使得MBR膜池上層的污泥濃度比中、下層濃度要低,在較低的污泥濃度運行下,從而使得振動膜設備的運行通量得到提高。
作為進一步的技術方案,所述缺氧池和所述MBR膜池上也設置有進水口和進水閥,所述厭氧池、缺氧池、MBR膜池上的進水口均與污水進水管相連通。
與現有技術相比,本發明的有益效果在于:
1)本發明打破現有技術中采用曝氣方式對MBR膜組件進行沖洗的限制,將MBR膜組件設置成振動式,在運行過程中,隨著MBR膜組件的往復運動,MBR膜組件的膜絲表面與水流形成相對運動,在膜絲表面流速較低的情況下,水流依靠慣性力剪切膜絲表面,從而提高膜生物反應器的抗污染性能,減緩了膜絲表面濃差極化現象,同時提高了運行通量,降低運行能耗,提高了MBR膜組件的使用壽命。
2)本發明由于振動式MBR膜組件的使用,省卻了MBR池的大量曝氣操作,并將傳統的泵回流改進為汽提回流,因此,相較于傳統技術而言,MBR膜池內的氧僅來源于氣體回流外溢的空氣,極大的降低了MBR膜池的氧含量,其一方面提高了污水處理的效果,另一方面,也省卻了MBR膜池向好氧池的回流,可以直接將MBR膜池的污水回流至缺氧池即可,因此,相較于傳統技術將三段回流降低到了兩段回流,降低了因回流能耗及成本。
(發明人:羅培棟;蔣濤;張訪將;程正權;周棋)






