公布日:2024.04.30
申請日:2024.01.19
分類號:C02F3/00(2023.01)I;C02F3/28(2023.01)I;C02F3/34(2023.01)I;C02F101/10(2006.01)N;C02F101/16(2006.01)N;C02F101/30(2006.01)N;C02F101/38(2006.01)N;
C02F103/06(2006.01)N
摘要
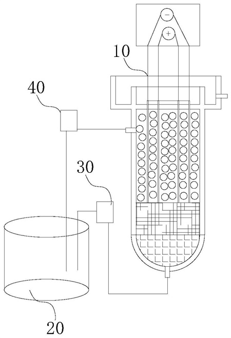
本發明涉及污水處理技術領域,具體公開一種基于硫自養脫氮除磷生物載體耦合電化學的污水處理裝置,包括反應裝置、儲水容器、進水管路組件和回流管路組件;所述反應裝置包含有反應器罐體、電源和電極筒組件;所述電源與所述電極筒組件電連接;所述反應器罐體自下而上依次配置有空隙填料層、硫磺顆粒層、復合硫磺-硫鐵礦-PLA球生物載體微顆粒層;所述電極筒組件垂直地固定在硫磺顆粒層上方,且所述電極筒組件位于所述復合硫磺-硫鐵礦-PLA球生物載體微顆粒層內;所述反應器罐體頂端設置有溢流槽;該基于硫自養脫氮除磷生物載體耦合電化學的污水處理裝置工藝簡便,穩定性高,可快速補充生物載體,而且對垃圾滲濾液脫氮效率和除磷效率高。

權利要求書
1.一種基于硫自養脫氮除磷生物載體耦合電化學的污水處理裝置,其特征在于,包括:反應裝置;儲水容器;進水管路組件,所述進水管路組件一端配置為與所述反應裝置連接,所述進水管路組件另一端配置為與所述儲水容器連接;以及回流管路組件,所述回流管路組件一端配置為與所述反應裝置連接,所述回流管路組件另一端配置為與所述儲水容器連接;其中,所述反應裝置包含有反應器罐體、電源和電極筒組件;所述電源與所述電極筒組件電連接;所述反應器罐體自下而上依次配置有空隙填料層、硫磺顆粒層、復合硫磺-硫鐵礦-PLA球生物載體微顆粒層;所述電極筒組件垂直地固定在硫磺顆粒層上方,且所述電極筒組件位于所述復合硫磺-硫鐵礦-PLA球生物載體微顆粒層內;所述反應器罐體頂端設置有溢流槽。
2.根據權利要求1所述的一種基于硫自養脫氮除磷生物載體耦合電化學的污水處理裝置,其特征在于,還包括:攪拌裝置,用于攪拌儲水容器內的液體。
3.根據權利要求1所述的一種基于硫自養脫氮除磷生物載體耦合電化學的污水處理裝置,其特征在于,所述復合硫磺-硫鐵礦-PLA球生物載體微顆粒層在所述反應器罐體內填充體積為硫磺顆粒層上方剩余體積的70%-90%。
4.根據權利要求3所述的一種基于硫自養脫氮除磷生物載體耦合電化學的污水處理裝置,其特征在于,所述復合硫磺-硫鐵礦-PLA球生物載體微顆粒層配置為由復合硫磺-硫鐵礦-PLA球生物載體微顆粒填充而成;所述復合硫磺-硫鐵礦-PLA球生物載體微顆粒為球狀結構;所述復合硫磺-硫鐵礦-PLA球生物載體微顆粒的粒徑為8-12mm。
5.根據權利要求1所述的一種基于硫自養脫氮除磷生物載體耦合電化學的污水處理裝置,其特征在于,所述反應器罐體底部配置有進水口,所述反應器罐體側面設置有回流口;所述進水口配置為與所述進水管路組件連接;所述回流口位于所述溢流槽的下方,且所述回流口配置為與所述回流管路組件連接。
6.根據權利要求5所述的一種基于硫自養脫氮除磷生物載體耦合電化學的污水處理裝置,其特征在于,所述進水管路組件和回流管路組件均包含有連接管道和泵體。
7.根據權利要求1所述的一種基于硫自養脫氮除磷生物載體耦合電化學的污水處理裝置,其特征在于,所述電極筒組件包含有第一鈦材質網筒和第二鈦材質網筒;所述第一鈦材質網筒配置為與所述電源的負極連接;所述第二鈦材質網筒配置為與所述電源的正極連接。
8.根據權利要求7所述的一種基于硫自養脫氮除磷生物載體耦合電化學的污水處理裝置,其特征在于,所述第一鈦材質網筒的直徑大于所述第二鈦材質網筒的直徑。
9.根據權利要求8所述的一種基于硫自養脫氮除磷生物載體耦合電化學的污水處理裝置,其特征在于,所述第一鈦材質網筒的直徑與所述第二鈦材質網筒的直徑之比為2:1。
10.根據權利要求1所述的一種基于硫自養脫氮除磷生物載體耦合電化學的污水處理裝置,其特征在于,所述空隙填料層的空隙率為40%-50%。
發明內容
為了克服上述現有技術的不足,本發明專利的目的是提供一種基于硫自養脫氮除磷生物載體耦合電化學的污水處理裝置,其工藝簡便、穩定性高、可快速補充生物載體,對垃圾滲濾液脫氮效率和除磷效率高。
為解決上述問題,本發明采用如下技術方案:
一種基于硫自養脫氮除磷生物載體耦合電化學的污水處理裝置,包括反應裝置、儲水容器、進水管路組件和回流管路組件。
所述進水管路組件一端配置為與所述反應裝置連接,所述進水管路組件另一端配置為與所述儲水容器連接。
所述回流管路組件一端配置為與所述反應裝置連接,所述回流管路組件另一端配置為與所述儲水容器連接。
所述反應裝置包含有反應器罐體、電源和電極筒組件。
所述電源與所述電極筒組件電連接。
所述反應器罐體自下而上依次配置有空隙填料層、硫磺顆粒層、復合硫磺-硫鐵礦-PLA球生物載體微顆粒層。
所述電極筒組件垂直地固定在硫磺顆粒層上方,且所述電極筒組件位于所述復合硫磺-硫鐵礦-PLA球生物載體微顆粒層內。
所述反應器罐體頂端設置有溢流槽。
本公開至少一實施例提供的基于硫自養脫氮除磷生物載體耦合電化學的污水處理裝置中,還包括:攪拌裝置,所述攪拌裝置用于攪拌儲水容器內的液體。
本公開至少一實施例提供的基于硫自養脫氮除磷生物載體耦合電化學的污水處理裝置中,所述復合硫磺-硫鐵礦-PLA球生物載體微顆粒層在所述反應器罐體內填充體積為硫磺顆粒層上方剩余體積的70%-90%。
本公開至少一實施例提供的基于硫自養脫氮除磷生物載體耦合電化學的污水處理裝置中,所述復合硫磺-硫鐵礦-PLA球生物載體微顆粒層配置為由復合硫磺-硫鐵礦-PLA球生物載體微顆粒填充而成。
所述復合硫磺-硫鐵礦-PLA球生物載體微顆粒為球狀結構。
所述復合硫磺-硫鐵礦-PLA球生物載體微顆粒的粒徑為8-12mm。
本公開至少一實施例提供的基于硫自養脫氮除磷生物載體耦合電化學的污水處理裝置中,所述反應器罐體底部配置有進水口,所述反應器罐體側面設置有回流口。
所述進水口配置為與所述進水管路組件連接。
所述回流口位于所述溢流槽的下方,且所述回流口配置為與所述回流管路組件連接。
本公開至少一實施例提供的基于硫自養脫氮除磷生物載體耦合電化學的污水處理裝置中,所述進水管路組件和回流管路組件均包含有連接管道和泵體。
本公開至少一實施例提供的基于硫自養脫氮除磷生物載體耦合電化學的污水處理裝置中,所述電極筒組件包含有第一鈦材質網筒和第二鈦材質網筒。
所述第一鈦材質網筒配置為與所述電源的負極連接。
所述第二鈦材質網筒配置為與所述電源的正極連接。
本公開至少一實施例提供的基于硫自養脫氮除磷生物載體耦合電化學的污水處理裝置中,所述第一鈦材質網筒的直徑大于所述第二鈦材質網筒的直徑。
本公開至少一實施例提供的基于硫自養脫氮除磷生物載體耦合電化學的污水處理裝置中,所述第一鈦材質網筒的直徑與所述第二鈦材質網筒的直徑之比為2:1。
本公開至少一實施例提供的基于硫自養脫氮除磷生物載體耦合電化學的污水處理裝置中,所述空隙填料層的空隙率為40%-50%。
本發明的有益效果為:采用上流式處理,污水從底部進水,通過填料層處理過后再通過溢流槽流出,底部進水均勻分散到上層,能使得出水更均勻,有利于提高整體的脫氮除磷效果。
硫磺顆粒層上方填充有復合硫磺-硫鐵礦-PLA球生物載體微顆粒層,載體比表面積大,生物親和性強,孔隙率率高,更易于微生物附著。
工藝簡便、穩定性高、可快速補充生物載體,對垃圾滲濾液脫氮效率高,除磷效率高。
(發明人:呂慧;殷萬成;梁慧宇;陳奔;梁廣彥;郭五珍;張哲;孫連鵬)






