公布日:2023.10.13
申請日:2023.08.11
分類號:C02F11/121(2019.01)I;B01D29/03(2006.01)I;B01D29/92(2006.01)I;B01D29/66(2006.01)I
摘要
本發明屬于活性淤泥處理技術領域,公開了一種活性污泥脫水分濾機構,包括殼體,所述殼體內固定安裝有兩端均設置為開口結構的第一濾筒,第一濾筒內滑動安裝有壓板,所述殼體上第一濾筒所在的側壁上固定安裝有多組間隔分布的第一伸縮件。與現有技術相比,本發明的有益效果是:能夠先將活性淤泥中的雜質顆粒先過濾出,然后在對活性淤泥中進行脫水,從而保證雜質顆粒過濾時活性淤泥的流動性,提高后續脫水時活性淤泥的效果和質量,保證活性淤泥的純凈,能夠通過活性淤泥中含有的污水對雜質過濾部件進行沖洗,實現了活性淤泥內污水的再利用,無需外界水資源對裝置進行沖洗,節省水資源。

權利要求書
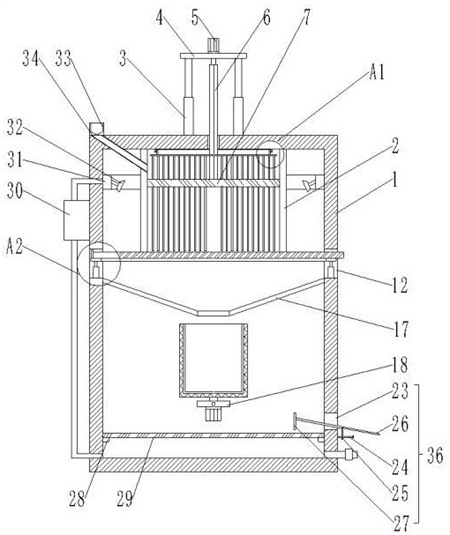
1.一種活性污泥脫水分濾機構,包括殼體,其特征在于,所述殼體內固定安裝有兩端均設置為開口結構的第一濾筒,第一濾筒內滑動安裝有壓板,所述殼體上第一濾筒所在的側壁上固定安裝有多組間隔分布的第一伸縮件,第一伸縮件遠離殼體的一端共同固定安裝有升降板,升降板上固定安裝有輸出軸指向第一濾筒的第一旋轉動力件,第一旋轉動力件輸出軸軸線與第一濾筒軸線位于同一條豎直線上且第一旋轉動力件輸出軸末端固定連接有同軸分布的連桿,連桿截面設置為非圓形結構且連桿遠離第一旋轉動力件的一端伸入殼體內且與壓板固定連接,所述殼體內設置有位于第一濾筒內的橫板,橫板與連桿滑動接觸且連桿貫穿橫板,橫板沿著壓板直徑分布且橫板上固定安裝有多組線性間隔分布的攪拌桿,攪拌桿平行于連桿,攪拌桿貫穿壓板且與壓板滑動接觸,所述殼體中部兩側壁上均開設有通槽且通槽內設置有與第一濾筒配合使用的濾板,所述殼體內遠離第一濾筒的一端設置有第二濾筒,第二濾筒一端設置為開口結構且第二濾筒內壁上固定安裝有濾布,所述殼體內設置有用于第二濾筒運動的動力組件,殼體側壁遠離第一濾筒的一端設置有與第二濾筒配合使用的出料組件,所述殼體外側面固定安裝有水泵,水泵進水端通過管道與殼體遠離第一濾筒的一端連通,水泵出水端通過管道連通有固定安裝在殼體內且圍繞第一濾筒分布的連通環,連通環內連通有多組間隔分布的指向第一濾筒的噴頭。
2.根據權利要求1所述的一種活性污泥脫水分濾機構,其特征在于,所述殼體內固定安裝有位于第一濾筒內的第一安裝圈,第一安裝圈圍繞連桿分布且軸線與連桿軸線重合,第一安裝圈內轉動安裝有第二安裝圈且第二安裝圈與橫板固定連接。
3.根據權利要求1所述的一種活性污泥脫水分濾機構,其特征在于,所述殼體上固定安裝有進料箱,進料箱連通有進料管,進料管與水平面設置有夾角且進料管遠離進料箱的一端與第一濾筒連通,進料管與第一濾筒連通的位置位于橫板遠離升降板的一側。
4.根據權利要求1所述的一種活性污泥脫水分濾機構,其特征在于,所述殼體上固定安裝有位于通槽內的第二伸縮件,第二伸縮件平行于第一伸縮件且第二伸縮件輸出端共同固定安裝有框型結構的支撐架,濾板滑動放置在支撐架上且支撐架一端固定安裝有用于限制支撐架位置的限位板。
5.根據權利要求1所述的一種活性污泥脫水分濾機構,其特征在于,所述殼體內中部固定安裝有錐形結構的導板,導板開口較大的一端指向第一濾筒且導板與第二濾筒配合使用,殼體內遠離第一濾筒的一端固定安裝有多組間隔分布的墊塊,墊塊上共同放置有活性炭過濾板。
6.根據權利要求1所述的一種活性污泥脫水分濾機構,其特征在于,所述動力組件包括轉動板,轉動板轉動安裝在殼體內且轉動板轉動軸線與第一濾筒軸線位于同一豎直平面內,轉動板上固定安裝有位于第一濾筒軸線延長線位置上的第三旋轉動力件,第三旋轉動力件輸出軸貫穿轉動板且其輸出軸末端與第二濾筒固定連接,第三旋轉動力件輸出軸軸線與第二濾筒軸線位于同一條直線上。
7.根據權利要求6所述的一種活性污泥脫水分濾機構,其特征在于,所述殼體外側固定安裝有輸出軸與轉動板固定連接的第二旋轉動力件,第二旋轉動力件輸出軸軸線與轉動板轉動軸線位于同一條直線上。
8.根據權利要求1所述的一種活性污泥脫水分濾機構,其特征在于,所述出料組件包括出料槽,出料槽開設在殼體側壁上且位于遠離第一濾筒的一端,出料槽內滑動安裝有出料板,出料板與水平面設置有夾角且位于殼體內的一端高度較高,出料板位于殼體內的一端固定安裝有擋板,擋板與出料槽配合使用。
9.根據權利要求8所述的一種活性污泥脫水分濾機構,其特征在于,所述殼體上轉動安裝有位于出料槽所在側面的螺紋桿,螺紋桿上螺紋安裝有支板,支板伸入出料板內且出料板上開設有與支板配合使用的卡槽。
發明內容
本發明實施例的目的在于提供一種活性污泥脫水分濾機構,旨在解決上述背景提出的問題。
本發明是這樣實現的,一種活性污泥脫水分濾機構,包括殼體,所述殼體內固定安裝有兩端均設置為開口結構的第一濾筒,第一濾筒內滑動安裝有壓板,所述殼體上第一濾筒所在的側壁上固定安裝有多組間隔分布的第一伸縮件,第一伸縮件遠離殼體的一端共同固定安裝有升降板,升降板上固定安裝有輸出軸指向第一濾筒的第一旋轉動力件,第一旋轉動力件輸出軸軸線與第一濾筒軸線位于同一條豎直線上且第一旋轉動力件輸出軸末端固定連接有同軸分布的連桿,連桿截面設置為非圓形結構且連桿遠離第一旋轉動力件的一端伸入殼體內且與壓板固定連接,所述殼體內設置有位于第一濾筒內的橫板,橫板與連桿滑動接觸且連桿貫穿橫板,橫板沿著壓板直徑分布且橫板上固定安裝有多組線性間隔分布的攪拌桿,攪拌桿平行于連桿,攪拌桿貫穿壓板且與壓板滑動接觸,所述殼體中部兩側壁上均開設有通槽且通槽內設置有與第一濾筒配合使用的濾板,所述殼體內遠離第一濾筒的一端設置有第二濾筒,第二濾筒一端設置為開口結構且第二濾筒內壁上固定安裝有濾布,所述殼體內設置有用于第二濾筒運動的動力組件,殼體側壁遠離第一濾筒的一端設置有與第二濾筒配合使用的出料組件,所述殼體外側面固定安裝有水泵,水泵進水端通過管道與殼體遠離第一濾筒的一端連通,水泵出水端通過管道連通有固定安裝在殼體內且圍繞第一濾筒分布的連通環,連通環內連通有多組間隔分布的指向第一濾筒的噴頭。
作為本發明進一步的方案:所述殼體內固定安裝有位于第一濾筒內的第一安裝圈,第一安裝圈圍繞連桿分布且軸線與連桿軸線重合,第一安裝圈內轉動安裝有第二安裝圈且第二安裝圈與橫板固定連接。
作為本發明進一步的方案:所述殼體上固定安裝有進料箱,進料箱連通有進料管,進料管與水平面設置有夾角且進料管遠離進料箱的一端與第一濾筒連通,進料管與第一濾筒連通的位置位于橫板遠離升降板的一側。
作為本發明進一步的方案:所述殼體上固定安裝有位于通槽內的第二伸縮件,第二伸縮件平行于第一伸縮件且第二伸縮件輸出端共同固定安裝有框型結構的支撐架,濾板滑動放置在支撐架上且支撐架一端固定安裝有用于限制支撐架位置的限位板。
作為本發明進一步的方案:所述殼體內中部固定安裝有錐形結構的導板,導板開口較大的一端指向第一濾筒且導板與第二濾筒配合使用,殼體內遠離第一濾筒的一端固定安裝有多組間隔分布的墊塊,墊塊上共同放置有活性炭過濾板。
作為本發明進一步的方案:所述動力組件包括轉動板,轉動板轉動安裝在殼體內且轉動板轉動軸線與第一濾筒軸線位于同一豎直平面內,轉動板上固定安裝有位于第一濾筒軸線延長線位置上的第三旋轉動力件,第三旋轉動力件輸出軸貫穿轉動板且其輸出軸末端與第二濾筒固定連接,第三旋轉動力件輸出軸軸線與第二濾筒軸線位于同一條直線上。
作為本發明進一步的方案:所述殼體外側固定安裝有輸出軸與轉動板固定連接的第二旋轉動力件,第二旋轉動力件輸出軸軸線與轉動板轉動軸線位于同一條直線上。
作為本發明進一步的方案:所述出料組件包括出料槽,出料槽開設在殼體側壁上且位于遠離第一濾筒的一端,出料槽內滑動安裝有出料板,出料板與水平面設置有夾角且位于殼體內的一端高度較高,出料板位于殼體內的一端固定安裝有擋板,擋板與出料槽配合使用。
作為本發明進一步的方案:所述殼體上轉動安裝有位于出料槽所在側面的螺紋桿,螺紋桿上螺紋安裝有支板,支板伸入出料板內且出料板上開設有與支板配合使用的卡槽。
與現有技術相比,本發明的有益效果是:能夠先將活性淤泥中的雜質顆粒先過濾出,然后在對活性淤泥中進行脫水,從而保證雜質顆粒過濾時活性淤泥的流動性,提高后續脫水時活性淤泥的效果和質量,保證活性淤泥的純凈,能夠通過活性淤泥中含有的污水對雜質過濾部件進行沖洗,實現了活性淤泥內污水的再利用,無需外界水資源對裝置進行沖洗,節省水資源,避免過濾部件上殘留活性淤泥,提高活性淤泥過濾的效率,有利于使用。
(發明人:鐘萬金;胡兆然;蔡健明;蔡苗;張迪;袁小平;賈少偉;張園園;伍廣平;劉杰;曹琦)






