公布日:2024.04.19
申請日:2024.01.29
分類號:B01D36/02(2006.01)I;C02F1/00(2023.01)I;C02F3/00(2023.01)I;C02F7/00(2006.01)I;C02F1/66(2023.01)I;C02F1/72(2023.01)I
摘要
本發明屬于污水處理技術領域,尤其涉及一種節能環保多重過濾污水處理裝置,包括:立式過濾罐,立式過濾罐內部自上而下依次設置有對污水進行逐級精度過濾的一級過濾網、二級過濾網、三級過濾網,側置動力箱內部設置有由單組伺服電機驅動的動力系統,立式過濾罐一側壁下部連通有進氣管,立式過濾罐頂部通過集氣通道連通有回流氣管,集氣通道下側的立式過濾罐內部設置有一組噴灑組件,噴灑組件外側通過回流水管連通有泵水機構,泵吸機構與動力系統連接,進氣管一側連通有增壓氣體傳輸管,增壓氣體傳輸管端部連通有泵氣機構。本裝置對污水進行多重高精度過濾,同時自帶節能環保功能。

權利要求書
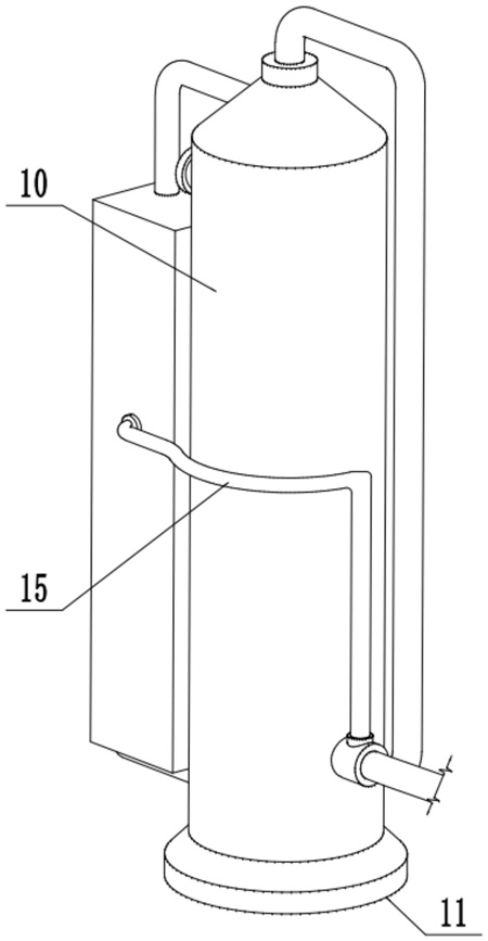
1.一種節能環保多重過濾污水處理裝置,其特征在于,包括:立式過濾罐(10),立式過濾罐(10)一側上部連通有污水輸入管(13),所述立式過濾罐(10)一側下部連通有用于將處理后的污水排出的污水輸出管(14),所述立式過濾罐(10)內部自上而下依次設置有對污水進行逐級精度過濾的一級過濾網(17)、二級過濾網(18)、三級過濾網(20),一級過濾網(17)、二級過濾網(18)、三級過濾網(20)均轉動設置在立式過濾罐(10)內部,所述二級過濾網(18)與三級過濾網(20)之間設置有一組對污水進行離心過濾處理的離心過濾倉(19),位于污水輸入管(13)、污水輸出管(14)同側的立式過濾罐(10)外側壁上固定安裝有側置動力箱(12),側置動力箱(12)內部設置有由單組伺服電機驅動的動力系統(16),所述動力系統(16)朝向一級過濾網(17)、二級過濾網(18)、離心過濾倉(19)、三級過濾網(20)的位置均設置有驅動件,所述驅動件對應的一級過濾網(17)、二級過濾網(18)、離心過濾倉(19)、三級過濾網(20)上設置有與驅動件嚙合的從動件,所述立式過濾罐(10)一側壁下部連通有進氣管,所述立式過濾罐(10)頂部通過集氣通道(56)連通有回流氣管(58),回流氣管(58)底端與進氣管連通,所述集氣通道(56)下側的立式過濾罐(10)內部設置有一組噴灑組件(37),所述噴灑組件(37)外側通過回流水管(55)連通有泵水機構,泵水機構的一側與污水輸出管(14)連通,泵吸機構與動力系統(16)連接,所述進氣管一側連通有增壓氣體傳輸管(15),增壓氣體傳輸管(15)端部連通有泵氣機構,泵氣機構與動力系統(16)連接。
2.根據權利要求1所述的一種節能環保多重過濾污水處理裝置,其特征在于,所述立式過濾罐(10)底部固定安裝有用于保持立式過濾罐(10)穩定的罐底座(11),一級過濾網(17)、二級過濾網(18)、三級過濾網(20)網孔直徑依次降低。
3.根據權利要求2所述的一種節能環保多重過濾污水處理裝置,其特征在于,所述回流氣管(58)內部設置有氣體凈化裝置(57),所述一級過濾網(17)、二級過濾網(18)、三級過濾網(20)均設置為圓盤型結構,離心過濾倉(19)頂部設置為開口的筒狀結構,所述離心過濾倉(19)底部設置為錐形結構。
4.根據權利要求3所述的一種節能環保多重過濾污水處理裝置,其特征在于,所述噴灑組件(37)包括有安裝在立式過濾罐(10)內壁上的噴灑架,噴灑架頂部通過連通管與回流水管(55)連通。
5.根據權利要求4所述的一種節能環保多重過濾污水處理裝置,其特征在于,所述動力系統(16)包括有固定設置在側置動力箱(12)內壁上的主動力電機(21),所述主動力電機(21)輸出端連接有主驅動齒(22),主驅動齒(22)上下兩側垂直嚙合有水平的從動齒一(23)、從動齒二(24),從動齒二(24)中部固定安裝有旋轉柱(26),從動齒一(23)頂部固定連接有套裝在旋轉柱(26)外側的套筒(25),套筒(25)、旋轉柱(26)上均套裝有多個固定套桿(31),固定套桿(31)一端固定在側置動力箱(12)內壁上。
6.根據權利要求5所述的一種節能環保多重過濾污水處理裝置,其特征在于,所述驅動件包括有固定在旋轉柱(26)兩端端部的一級動力齒(27)與三級動力齒(30),以及固定在套筒(25)上的二級動力齒(28)與離心動力齒(29),所述從動件包括有安裝在一級過濾網(17)、二級過濾網(18)、離心過濾倉(19)、三級過濾網(20)周向外側壁上的齒圈(34),一級動力齒(27)、二級動力齒(28)、離心動力齒(29)、三級動力齒(30)分別與一級過濾網(17)、二級過濾網(18)、離心過濾倉(19)、三級過濾網(20)處的齒圈(34)嚙合。
7.根據權利要求6所述的一種節能環保多重過濾污水處理裝置,其特征在于,所述泵水機構包括有固定在側置動力箱(12)內壁處的水壓筒(48),水壓筒(48)底部通過進水通道(49)與污水輸出管(14)頂部一側連通,所述進水通道(49)內部設置有防止水壓筒(48)中水倒流的單向水閥,水壓筒(48)內部移動設置有一個活塞板二(51),活塞板二(51)頂中部連接有活塞桿二(52),活塞桿二(52)一側連接有螺母二(54),螺母二(54)中部螺紋連接有豎直的絲杠二(53),絲杠二(53)頂端安裝有導桿,導桿一側通過傳動帶(32)與旋轉柱(26)轉動連接,絲杠二(53)底部轉動連接有固定在水壓筒(48)頂部一側的固定塊(40),所述水壓筒(48)側壁下部開設有出水口(50),出水口(50)外側與回流水管(55)底端連通,出水口(50)處外側擺動磁吸式設置有一個封板,螺母二(54)上設置有用于限制其自轉的導向裝置。
8.根據權利要求7所述的一種節能環保多重過濾污水處理裝置,其特征在于,所述泵氣機構包括有固定在側置動力箱(12)內部上側處的氣壓筒(42),氣壓筒(42)內部移動設置有一個活塞板一(43),活塞板一(43)底中部連接有活塞桿一(41),活塞桿一(41)端部連接有螺母一(39),螺母一(39)中部豎直螺紋連接有絲杠一(38),絲杠一(38)頂端轉動連接有固定在氣壓筒(42)底部的固定塊(40),另一端安裝有導桿,導桿一側通過傳動帶(32)與套筒(25)轉動連接,螺母一(39)上設置有用于限制其自轉的導向裝置,所述活塞板一(43)頂部一側開設有進氣口(46),側壁一側開設有排氣口(45),進氣口(46)內側擺動磁吸式連接有封板(47),排氣口(45)外側擺動磁吸式連接有封板(47)。
9.根據權利要求8所述的一種節能環保多重過濾污水處理裝置,其特征在于,所述一級過濾網(17)頂中部固定安裝有一個攪拌軸(35),攪拌軸(35)周向外側壁上均勻安裝有多個攪拌葉片(36)。
發明內容
本發明實施例的目的在于提供一種節能環保多重過濾污水處理裝置,旨在解決的問題。
本發明是這樣實現的,一種節能環保多重過濾污水處理裝置,包括:立式過濾罐,立式過濾罐一側上部連通有污水輸入管,經過污水輸入管將待處理的污水輸入立式過濾罐內部自上而下流動,立式過濾罐一側下部連通有用于將處理后的污水排出的污水輸出管,立式過濾罐內部自上而下依次設置有對污水進行逐級精度過濾的一級過濾網、二級過濾網、三級過濾網,一級過濾網、二級過濾網、三級過濾網均轉動設置在立式過濾罐內部,用于對污水進行旋轉式過濾,二級過濾網與三級過濾網之間設置有一組對污水進行離心過濾處理的離心過濾倉,位于污水輸入管、污水輸出管同側的立式過濾罐外側壁上固定安裝有側置動力箱,側置動力箱內部設置有由單組伺服電機驅動的動力系統,動力系統朝向一級過濾網、二級過濾網、離心過濾倉、三級過濾網的位置均設置有驅動件,驅動件對應的一級過濾網、二級過濾網、離心過濾倉、三級過濾網上設置有與驅動件嚙合的從動件,驅動件在動力系統的作用下旋轉,進而帶動從動件轉動,以此實現以單組電機為動力,同時驅動多個過濾結構旋轉的節能運行模式,立式過濾罐一側壁下部連通有進氣管,沿著進氣管輸入至立式過濾罐內部的氣體,自下向上流動與下落的污水逆向接觸,增加氣體與污水的接觸面積,由此提高對污水處理的效率,立式過濾罐頂部通過集氣通道連通有回流氣管,回流氣管底端與進氣管連通,用于對沿著立式過濾罐內部流動的氣體反復使用,集氣通道下側的立式過濾罐內部設置有一組噴灑組件,噴灑組件用于對待回流的氣體進行噴灑式清洗,噴灑組件外側通過回流水管連通有泵水機構,泵水機構的一側與污水輸出管連通,泵吸機構與動力系統連接,動力系統運行的同時,驅動泵水機構將污水輸出管中處理后的水沿著回流水管轉移到噴灑組件中使用,進氣管一側連通有增壓氣體傳輸管,增壓氣體傳輸管端部連通有泵氣機構,泵氣機構與動力系統連接,同樣在動力系統運行時,驅動泵氣機構產生高壓氣體經過增壓氣體傳輸管朝向進氣管傳輸,保證輸入到立式過濾罐內部的氣體具有較高的壓力以及速度,提高氣體與污水的反應速度以及力度,通過設置單組電機運行,驅動對輸入至立式過濾罐內部的污水進行多重旋轉式過濾,以及配合泵水機構與泵氣機構對輸入的氣體進行過濾凈化,反復利用,充分提高本裝置的節能效果。
本發明提供的一種節能環保多重過濾污水處理裝置,通過在立式過濾罐10內部縱向間隔式設置多組旋轉的濾網,對污水進行多重過濾處理,以及在立式過濾罐10內部輸入對污水中雜質進行反應過濾處理的氣體,由此可實現對高效高精度的污水處理目的;
通過在立式過濾罐10外部一側設置動力系統16,利用動力系統16中的單組電機驅動多組濾網同時以不完全相同的方向轉動,以及配合設置的水壓筒48與氣壓筒42增加輸入氣體的速度以及壓力,然后利用處理后的污水對使用后的氣體進行清洗再利用,充分提高對動能的轉化率以及對氣體以及污水的利用率,提高本裝置的節能環保效果。
(發明人:沈亮;胡家美;葉宏;黎鳳英)






