公布日:2024.04.05
申請日:2024.03.04
分類號:C02F1/00(2023.01)I;C02F7/00(2006.01)I
摘要
本發明屬于污水處理技術領域,尤其是涉及一種移民安置集鎮生活污水處理裝置,包括蓄水箱和處理池,所述蓄水箱的下端兩側均通過通水管固定連通有污水過濾除雜機構。本發明能夠對污水的過濾效力進行監測反饋,并及時對污水過濾除雜機構進行清理,在進水量大的時候能夠加大過濾除雜的效力,在進水量小的時候減小過濾除雜效力,避免大水量高負荷的時候過濾不及時和小水量低負荷時使用過多過濾除雜機構反而對過濾除雜機構的使用壽命造成影響的問題,能夠對污水的水質濃度和污水進入處理池的通水量進行監測反饋,并基于此對后續的施藥量進行調控,避免施藥量不到位影響污水處理質量和施藥量過多造成資源浪費的問題。

權利要求書
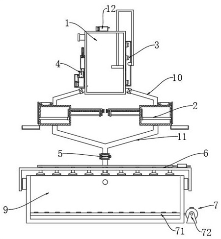
1.一種移民安置集鎮生活污水處理裝置,包括蓄水箱(1)和處理池(9),其特征在于,所述蓄水箱(1)的下端兩側均通過通水管(10)固定連通有污水過濾除雜機構(2),所述通水管(10)上安設有電磁閥,兩個所述污水過濾除雜機構(2)的下端通過同一個Y形結構的送水管(11)與處理池(9)固定連通,所述蓄水箱(1)的上端側壁固定連通有污水進管,所述蓄水箱(1)的側壁還安設有蓄水程度監測反饋機構(3),所述蓄水程度監測反饋機構(3)用于控制兩個污水過濾除雜機構(2)的投入使用,所述蓄水箱(1)的側壁還固定安設有污水濃度監測反饋機構(4),所述送水管(11)上安設有通水量監測反饋機構(5),所述處理池(9)的上端外壁固定安設有均勻施藥機構(6),所述處理池(9)的內壁底部安設有曝氣機構(7),所述污水濃度監測反饋機構(4)和通水量監測反饋機構(5)均用于控制均勻施藥機構(6)和曝氣機構(7)的工作功率的大小;所述蓄水箱(1)的上端固定安設有PLC控制器(12),所述PLC控制器(12)分別與污水過濾除雜機構(2)、蓄水程度監測反饋機構(3)、污水濃度監測反饋機構(4)、通水量監測反饋機構(5)、均勻施藥機構(6)和曝氣機構(7)電連接;所述污水過濾除雜機構(2)包括過濾殼(21),所述過濾殼(21)的內壁一側固定連接有多根過濾桿(22),多根所述過濾桿(22)形成格柵結構,所述過濾殼(21)的上端固定安設有電動推桿(23),所述電動推桿(23)的輸出端固定連接有側板(24),所述側板(24)的側壁固定連接有密封堵塊(25),所述過濾殼(21)的側壁開設有與密封堵塊(25)密封插接的廢料通口(26),所述過濾殼(21)的下端一側安設有送料滑槽(27),多根所述過濾桿(22)外滑動套設有同一個推料塊(28),所述推料塊(28)的上端固定連接有推料板(29),所述過濾殼(21)的外壁固定安設有L形延伸板(210),所述L形延伸板(210)的豎直部與過濾殼(21)相對一側側壁通過軸承轉動連接有往復絲桿(211),所述L形延伸板(210)的外壁固定安設有旋轉電機(212),所述旋轉電機(212)的輸出端與往復絲桿(211)的一端固定連接,所述往復絲桿(211)的桿壁螺紋套接有推拉板(213),所述推拉板(213)的下端側壁固定連接有多根推拉桿(214),多根所述推拉桿(214)的一端貫穿伸入過濾殼(21)內,且與推料板(29)的側壁固定連接,所述L形延伸板(210)的豎直部側壁還固定連接有觸發開關(215);所述蓄水程度監測反饋機構(3)包括活動插套在蓄水箱(1)上端的U形同步桿(31),所述U形同步桿(31)位于蓄水箱(1)內的一端固定連接有浮板(32),所述U形同步桿(31)的另一端桿壁固定連接有按壓凸塊(33),所述蓄水箱(1)的外壁還固定安設有安裝殼(34),所述安裝殼(34)的內壁固定連接有三個反饋開關(35),三個所述反饋開關(35)安設在同一豎直線上,所述安裝殼(34)的側壁還開設有用于按壓凸塊(33)伸入的條形開口;所述污水濃度監測反饋機構(4)包括固定連接在蓄水箱(1)外壁的取水筒(41)和U形支撐板(42),所述U形支撐板(42)的內壁固定連接有多根豎直設置的導向滑桿(43),多根所述導向滑桿(43)外滑動套設有升降塊(44)和受力塊(45),所述升降塊(44)的一側固定連接有注水筒(46),所述注水筒(46)的下端連通有排污管,且對應排污管上安設有通斷閥,所述升降塊(44)的上端和U形支撐板(42)的內壁頂部固定連接有上拉彈簧(47),所述受力塊(45)的一側固定連接有反饋導電接片(48),所述U形支撐板(42)的豎直部內壁固定連接有與反饋導電接片(48)電接觸的反饋電阻棒(49),所述受力塊(45)的下端和U形支撐板(42)的內壁底部固定連接有頂推彈簧(410),所述取水筒(41)的上端固定插套有微型推桿(411),所述微型推桿(411)的下端輸出端固定連接有活塞板(412),所述活塞板(412)密封套設在取水筒(41)內,所述取水筒(41)的下端與蓄水箱(1)之間通過抽水管(413)連通,所述取水筒(41)的下端還固定連通有伸入注水筒(46)內的注水管(414),所述抽水管(413)和注水管(414)上均安設有單向閥;所述通水量監測反饋機構(5)包括固定連通在送水管(11)上的傳動殼(51),所述傳動殼(51)內轉動連接有受力葉輪(52),所述傳動殼(51)的外壁固定安設有微型發電機(53),所述微型發電機(53)的輸入端與受力葉輪(52)的一端固定連接,所述傳動殼(51)的外壁還固定安設有與微型發電機(53)電連接的供電大小調節機構(8);所述供電大小調節機構(8)包括調節殼(81),所述調節殼(81)的內壁一側固定安設有調節電阻棒(82),所述調節殼(81)的內壁還固定連接有多根豎向設置的限位滑桿(83),所述調節電阻棒(82)和限位滑桿(83)平行設置,多根所述限位滑桿(83)外滑動套設有同一個調節板(84),所述調節板(84)的一側固定連接有與調節電阻棒(82)電接的調節導電接片(85),所述調節板(84)的下端和調節殼(81)的內壁底部固定安設有多個復位彈簧(86),所述復位彈簧(86)套設在限位滑桿(83)外,所述調節板(84)的下端固定安設有推力永磁板(87),所述調節殼(81)的內壁底部固定安設有推力電磁板(88)。
2.根據權利要求1所述的一種移民安置集鎮生活污水處理裝置,其特征在于,所述均勻施藥機構(6)包括兩個對稱固定安設在處理池(9)上端外壁的電動滑軌(61),兩個所述電動滑軌(61)內滑塊的一端固定連接有同一個U形移動板(62),所述U形移動板(62)的水平部固定插套有多個噴藥頭(63),多個所述噴藥頭(63)的上端固定連通有同一個緩沖管(64),所述U形移動板(62)的上端一側還固定安設有噴藥泵(65),所述噴藥泵(65)的輸出端與緩沖管(64)固定連通。
3.根據權利要求2所述的一種移民安置集鎮生活污水處理裝置,其特征在于,所述曝氣機構(7)包括固定安設在處理池(9)內壁底部的曝氣管網(71),所述處理池(9)的外側設有曝氣風機(72),所述曝氣風機(72)的出風口與曝氣管網(71)固定連通。
發明內容
本發明的目的是針對上述問題,提供一種移民安置集鎮生活污水處理裝置。
為達到上述目的,本發明采用了下列技術方案:一種移民安置集鎮生活污水處理裝置,包括蓄水箱和處理池,所述蓄水箱的下端兩側均通過通水管固定連通有污水過濾除雜機構,所述通水管上安設有電磁閥,兩個所述污水過濾除雜機構的下端通過同一個Y形結構的送水管與處理池固定連通,所述蓄水箱的上端側壁固定連通有污水進管,所述蓄水箱的側壁還安設有蓄水程度監測反饋機構,所述蓄水程度監測反饋機構用于控制兩個污水過濾除雜機構的投入使用,所述蓄水箱的側壁還固定安設有污水濃度監測反饋機構,所述送水管上安設有通水量監測反饋機構,所述處理池的上端外壁固定安設有均勻施藥機構,所述處理池的內壁底部安設有曝氣機構,所述污水濃度監測反饋機構和通水量監測反饋機構均用于控制均勻施藥機構和曝氣機構的工作功率的大小;
所述蓄水箱的上端固定安設有PLC控制器,所述PLC控制器分別與污水過濾除雜機構、蓄水程度監測反饋機構、污水濃度監測反饋機構、通水量監測反饋機構、均勻施藥機構和曝氣機構電連接。
在上述的一種移民安置集鎮生活污水處理裝置中,所述污水過濾除雜機構包括過濾殼,所述過濾殼的內壁一側固定連接有多根過濾桿,多根所述過濾桿形成格柵結構,所述過濾殼的上端固定安設有電動推桿,所述電動推桿的輸出端固定連接有側板,所述側板的側壁固定連接有密封堵塊,所述過濾殼的側壁開設有與密封堵塊密封插接的廢料通口,所述過濾殼的下端一側安設有送料滑槽,多根所述過濾桿外滑動套設有同一個推料塊,所述推料塊的上端固定連接有推料板,所述過濾殼的外壁固定安設有L形延伸板,所述L形延伸板的豎直部與過濾殼相對一側側壁通過軸承轉動連接有往復絲桿,所述L形延伸板的外壁固定安設有旋轉電機,所述旋轉電機的輸出端與往復絲桿的一端固定連接,所述往復絲桿的桿壁螺紋套接有推拉板,所述推拉板的下端側壁固定連接有多根推拉桿,多根所述推拉桿的一端貫穿伸入過濾殼內,且與推料板的側壁固定連接,所述L形延伸板的豎直部側壁還固定連接有觸發開關。
在上述的一種移民安置集鎮生活污水處理裝置中,所述蓄水程度監測反饋機構包括活動插套在蓄水箱上端的U形同步桿,所述U形同步桿位于蓄水箱內的一端固定連接有浮板,所述U形同步桿的另一端桿壁固定連接有按壓凸塊,所述蓄水箱的外壁還固定安設有安裝殼,所述安裝殼的內壁固定連接有三個反饋開關,三個所述反饋開關安設在同一豎直線上,所述安裝殼的側壁還開設有用于按壓凸塊伸入的條形開口。
在上述的一種移民安置集鎮生活污水處理裝置中,所述污水濃度監測反饋機構包括固定連接在蓄水箱外壁的取水筒和U形支撐板,所述U形支撐板的內壁固定連接有多根豎直設置的導向滑桿,多根所述導向滑桿外滑動套設有升降塊和受力塊,所述升降塊的一側固定連接有注水筒,所述注水筒的下端連通有排污管,且對應排污管上安設有通斷閥,所述升降塊的上端和U形支撐板的內壁頂部固定連接有上拉彈簧,所述受力塊的一側固定連接有反饋導電接片,所述U形支撐板的豎直部內壁固定連接有與反饋導電接片電接觸的反饋電阻棒,所述受力塊的下端和U形支撐板的內壁底部固定連接有頂推彈簧,所述取水筒的上端固定插套有微型推桿,所述微型推桿的下端輸出端固定連接有活塞板,所述活塞板密封套設在取水筒內,所述取水筒的下端與蓄水箱之間通過抽水管連通,所述取水筒的下端還固定連通有伸入注水筒內的注水管,所述抽水管和注水管上均安設有單向閥。
在上述的一種移民安置集鎮生活污水處理裝置中,所述通水量監測反饋機構包括固定連通在送水管上的傳動殼,所述傳動殼內轉動連接有受力葉輪,所述傳動殼的外壁固定安設有微型發電機,所述微型發電機的輸入端與受力葉輪的一端固定連接,所述傳動殼的外壁還固定安設有與微型發電機電連接的供電大小調節機構。
在上述的一種移民安置集鎮生活污水處理裝置中,所述均勻施藥機構包括兩個對稱固定安設在處理池上端外壁的電動滑軌,兩個所述電動滑軌內滑塊的一端固定連接有同一個U形移動板,所述U形移動板的水平部固定插套有多個噴藥頭,多個所述噴藥頭的上端固定連通有同一個緩沖管,所述U形移動板的上端一側還固定安設有噴藥泵,所述噴藥泵的輸出端與緩沖管固定連通。
在上述的一種移民安置集鎮生活污水處理裝置中,所述曝氣機構包括固定安設在處理池內壁底部的曝氣管網,所述處理池的外側設有曝氣風機,所述曝氣風機的出風口與曝氣管網固定連通。
在上述的一種移民安置集鎮生活污水處理裝置中,所述供電大小調節機構包括調節殼,所述調節殼的內壁一側固定安設有調節電阻棒,所述調節殼的內壁還固定連接有多根豎向設置的限位滑桿,所述調節電阻棒和限位滑桿平行設置,多根所述限位滑桿外滑動套設有同一個調節板,所述調節板的一側固定連接有與調節電阻棒電接的調節導電接片,所述調節板的下端和調節殼的內壁底部固定安設有多個復位彈簧,所述復位彈簧套設在限位滑桿外,所述調節板的下端固定安設有推力永磁板,所述調節殼的內壁底部固定安設有推力電磁板。
與現有的技術相比,本發明的有益效果在于:
通過設置的蓄水箱、污水過濾除雜機構、蓄水程度監測反饋機構,能夠對污水的過濾效力進行監測反饋,并及時對污水過濾除雜機構進行清理,在進水量大的時候能夠加大過濾除雜的效力,在進水量小的時候減小過濾除雜效力,自適應性好,避免大水量高負荷的時候過濾不及時和小水量低負荷時使用過多過濾除雜機構反而對過濾除雜機構的使用壽命造成影響的問題。
通過設置的污水濃度監測反饋機構、均勻施藥機構、曝氣機構,能夠對污水的水質濃度進行間隔的監測反饋,并基于此對后續的施藥量進行調控,避免施藥量不到位影響污水處理質量和施藥量過多造成資源浪費的問題。
通過設置的通水量監測反饋機構、供電大小調節機構、均勻施藥機構、曝氣機構,能夠對污水進入處理池的通水量進行監測反饋,并基于此對施藥量進行調控,避免施藥量過少不能完全處理污水中雜質的問題。
綜上所述:本發明能夠對污水的過濾效力進行監測反饋,并及時對污水過濾除雜機構進行清理,在進水量大的時候能夠加大過濾除雜的效力,在進水量小的時候減小過濾除雜效力,自適應性好,避免大水量高負荷的時候過濾不及時和小水量低負荷時使用過多過濾除雜機構反而對過濾除雜機構的使用壽命造成影響的問題,能夠對污水的水質濃度和污水進入處理池的通水量進行監測反饋,并基于此對后續的施藥量進行調控,避免施藥量不到位影響污水處理質量和施藥量過多造成資源浪費的問題。
(發明人:尉軍耀;辛乾龍;馬福全;張民;馬營達;王鵬飛;楊繼超)






