公布日:2024.02.27
申請日:2024.01.22
分類號:C02F9/00(2023.01)I;C02F1/24(2023.01)N;C02F1/40(2023.01)N;C02F1/46(2023.01)N;C02F1/461(2023.01)N;C02F1/52(2023.01)N
摘要
本發明提供一種鈦電極污水處理裝置,涉及污水處理領域,包括污水處理箱,所述污水處理箱中依次設置有電解腔、排料腔和回收腔,所述電解腔前端設置有進水口;攪拌機構,用于對電解腔中的污水進行攪拌;電解機構用于對所述污水處理箱中的污水進行電解處理;上移機構,用于帶動電解機構進行上移;氣水混合機構,所述氣水混合機構用于將水與氣體混合,對污水中的雜質進行上浮處理;出水口,用于對電解過后的水分進行排出;清污板,用于對位于所述排料腔頂端的雜質進行去除;出料口用于排出雜質和污泥。本發明不僅降低在對鈦電極板進行清潔時需要停機處理的問題,同時增大了在對鈦電極板進行清理時的除污速率。

權利要求書
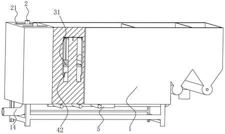
1.一種鈦電極污水處理裝置,其特征在于,包括:污水處理箱(1),放置在水平面上,所述污水處理箱(1)中依次設置有電解腔(11)、排料腔(12)和回收腔(13),所述污水處理箱(1)前端設置有進水口(14);攪拌機構(2),設置在所述電解腔(11)中,用于對電解腔(11)中的污水進行攪拌;電解機構(3),設置在所述電解腔(11)中,所述電解機構(3)用于對所述污水處理箱(1)中的污水進行電解處理;所述電解機構(3)包括:安裝架(31),滑動連接在所述污水處理箱(1)中;放置槽(32),開設在所述安裝架(31)上,且設置有多個,多個所述放置槽(32)上均安裝有鈦電極板(33),所述鈦電極板(33)用于對電解腔(11)中的污水進行電解處理;上移機構(4),設置在所述電解機構(3)與所述污水處理箱(1)連接處,用于帶動電解機構(3)進行上移;所述上移機構(4)包括:進氣管(41),固定連接在所述污水處理箱(1)側壁上,且與氣泵(51)連通;氣囊(42),固定連接在所述安裝架(31)與所述污水處理箱(1)連接處,且與所述進氣管(41)連通,所述氣囊(42)用于帶動所述安裝架(31)進行上移;氣泡發生器(43),固定連接在所述氣囊(42)底部,用于在氣囊(42)帶動安裝架(31)進行上移過后產生氣泡,對安裝架(31)進行清潔;氣水混合機構(5),設置在所述污水處理箱(1)底部,且穿透所述污水處理箱(1)設置,所述氣水混合機構(5)用于將水與氣體混合,對污水中的雜質進行上浮處理;出水口(6),開設在所述排料腔(12)底部,用于對電解過后的水分進行排出;清污板(7),轉動連接在所述排料腔(12)上端,所述清污板(7)用于對位于所述排料腔(12)頂端的雜質進行去除;出料口(8),開設在所述污水處理箱(1)尾端,用于排出雜質和污泥;所述安裝架(31)側壁上開設有齒槽(9),所述污水處理箱(1)與所述安裝架(31)連接處側壁上滑動連接有固定齒板(91),所述固定齒板(91)與所述安裝架(31)連接處設置有固定彈簧(92),所述固定齒板(91)上方設置有復位桿(93),所述復位桿(93)頂部設置有上移滑塊(94),所述固定齒板(91)用于在所述安裝架(31)進行上移時保持穩定。
2.根據權利要求1所述一種鈦電極污水處理裝置,其特征在于,所述攪拌機構(2)包括:投料口(21),開設在所述污水處理箱(1)頂部,所述投料口(21)用于加入絮凝劑和助絮凝劑;攪拌電機(22),固定連接在所述污水處理箱(1)中,所述攪拌電機(22)輸出軸上固定連接有攪拌槳(23),所述攪拌槳(23)用于對所述電解腔(11)內部的污水、絮凝劑和助絮凝劑進行攪拌。
3.根據權利要求1所述一種鈦電極污水處理裝置,其特征在于,所述氣水混合機構(5)包括:氣泵(51),固定連接在所述污水處理箱(1)側壁上;水氣混合腔(52),固定連接在所述污水處理箱(1)底壁上,所述水氣混合腔(52)與所述氣泵(51)連通;回收水管(53),固定連接在所述污水處理箱(1)底壁上,所述回收水管(53)一端與所述水氣混合腔(52)固定連通,所述回收水管(53)遠離所述水氣混合腔(52)一端與所述回收腔(13)底部固定連通;排氣口(54),開設在所述電解腔(11)和所述排料腔(12)底部,用于帶動所述電解腔(11)和所述排料腔(12)內部的污水中的雜質進行上浮。
4.根據權利要求3所述一種鈦電極污水處理裝置,其特征在于:所述清污板(7)與所述污水處理箱(1)連接處設置有轉動腔(71),所述清污板(7)的轉動軸與所述轉動腔(71)連接處設置有多個轉動板(72),所述氣泵(51)與所述轉動腔(71)連接處設置有出氣管(73),所述出氣管(73)用于吹動轉動板(72)進行轉動,使清污板(7)進行轉動。
5.根據權利要求1所述一種鈦電極污水處理裝置,其特征在于:所述出料口(8)設置有螺旋板(81),所述螺旋板(81)用于對淤泥或其他雜質進行破碎后排出。
發明內容
有鑒于此,本發明提供一種鈦電極污水處理裝置,不僅降低在對鈦電極板進行清潔時需要停機處理的問題,同時增大了在對鈦電極板進行清理時的除污速率。
本發明提供的一種鈦電極污水處理裝置采用如下的技術方案,污水處理箱,放置在水平面上,所述污水處理箱中依次設置有電解腔、排料腔和回收腔,所述電解腔前端設置有進水口;攪拌機構,設置在所述電解腔中,所述攪拌機構用于對電解腔中的污水進行攪拌;電解機構,設置在所述電解腔中,所述電解機構用于對所述污水處理箱中的污水進行電解處理;上移機構,設置在所述電解機構與所述污水處理箱連接處,用于帶動電解機構進行上移;氣水混合機構,設置在所述污水處理箱底部,且穿透所述污水處理箱設置,所述氣水混合機構用于將水與氣體混合,對污水中的雜質進行上浮處理;出水口,開設在所述排料腔底部,用于對電解過后的水分進行排出;清污板,轉動連接在所述污水處理箱上端,所述清污板用于對位于所述排料腔頂端的雜質進行去除;出料口,開設在所述污水處理箱尾端,用于排出雜質和污泥。
通過采用上述技術方案,將污水持續通過進水口通入至污水處理箱中,當污水布滿電解腔和排料腔中后,啟動電解機構,使電解機構對污水處理箱中的污水進行電解,同時在污水中加入絮凝劑和助絮凝劑,啟動攪拌機構,使攪拌機構對絮凝劑、助絮凝劑和污水進行攪拌,使絮凝劑和助絮凝劑幫助污水中的懸浮物顆粒迅速聚集形成較大的絮凝體,啟動氣水混合機構使電解腔和排料腔底部產生大量小氣泡,帶動絮凝體進行上移至污水表面,清污板轉動,將絮凝體和部分污水移動至回收腔中,位于下端的污水通過氣水混合機構重新移動至電解腔和排料腔中,位于上端的絮凝體和淤泥等物質移動至出料口并排出,當需要對電解機構進行清理時,啟動上移機構,使上移機構帶動電解機構上移至污水處理箱上端,并對電解機構表面雜質進行清理,電解完畢后對出水口的流出的水樣進行檢測,并在檢測過后將檢測未通過的水樣通入下一污水處理箱的進水口中,進行下一次的電解去污處理。
上移機構帶動電解機構進行上移,一方面保持了在需要對電解機構進行清理時污水處理箱的連續運行,同時對電解機構表面進行清洗時,不需要將污水處理箱中的污水進行完全排出,能夠在清洗的同時對污水繼續進行清理,另一方面不停機清洗能夠確保處理箱內的水質保持穩定,不會因為停機而出現水質波動或處理效果下降,同時停機和重新啟動的過程會消耗額外的能源,不停機清洗能夠減少停機和重啟時能源的浪費。
可選的,所述攪拌機構包括:投料口,開設在所述污水處理箱頂部,所述投料口用于加入絮凝劑和助絮凝劑;攪拌電機,固定連接在所述污水處理箱中,所述攪拌電機輸出軸上固定連接有攪拌槳,所述攪拌槳用于對所述電解腔內部的污水、絮凝劑和助絮凝劑進行攪拌。
通過采用上述技術方案,向投料口中加入絮凝劑和助絮凝劑,使污水中的懸浮物顆粒迅速聚集形成較大的絮凝體,啟動攪拌電機,攪拌電機帶動攪拌槳進行轉動,使絮凝劑和助絮凝劑與污水充分混合。
可選的,所述電解機構包括:安裝架,滑動連接在所述污水處理箱中;放置槽,開設在所述安裝架上,且設置有多個,多個所述放置槽上均安裝有鈦電極板,所述鈦電極板用于對電解腔中的污水進行電解處理。
可選的,所述氣水混合機構包括:氣泵,固定連接在所述污水處理箱側壁上;水氣混合腔,固定連接在所述污水處理箱底壁上,所述水氣混合腔與所述氣泵連通;回收水管,固定連接在所述污水處理箱底壁上,所述回收水管一端與所述水氣混合腔固定連通,所述回收水管遠離所述水氣混合腔一端與所述回收腔底部固定連通;排氣口,開設在所述電解腔和所述排料腔底部,用于帶動所述電解腔和所述排料腔內部的污水中的雜質進行上浮。
通過采用上述技術方案,絮凝體和部分水分在清污板的帶動下移動至回收腔中,位于下方的水分通過回收水管進入水氣混合腔中,氣泵向水氣混合腔中通入氣體,使氣體和水分進行水氣混合,并通過排氣口進入至電解腔和排料腔中,排氣口排出的細小氣泡帶動絮凝體進行上移,使絮凝體漂浮在污水表面。
氣水混合機構的設置,一方面內能夠使空氣和水進行充分混合,提高氧氣的溶解度,從而增加了氧化效率,進而通過充分的氧化對有機物進行較快的降解,通過充分的氧化對污水中的氨氮物質進行去除,另一方面水體中形成了大量微小氣泡,這些氣泡在上升的過程中會產生對水體的輕微攪拌作用,有利于水體的混合和懸浮物的攪拌,同時氣泡能夠帶動絮凝體進行上移,使絮凝體漂浮在污水表面,方便了對污水中雜質的去除。
可選的,所述上移機構包括:進氣管,固定連接在所述污水處理箱側壁上,且與所述氣泵連通;氣囊,固定連接在所述安裝架與所述污水處理箱連接處,且與所述進氣管連通,所述氣囊用于帶動所述安裝架進行上移;氣泡發生器,固定連接在所述氣囊底部,用于在氣囊帶動安裝架進行上移過后產生氣泡,對安裝架進行清潔。
通過采用上述技術方案,當需要對安裝架和鈦電極板進行清理時,氣泵向進氣管中通入氣體,氣體通過進氣管通入氣囊中,氣囊鼓起推動安裝架進行上移,安裝架上移時對污水進行擾動,使污水對安裝架和鈦電極板表面進行初步清理,當氣囊鼓起完畢后,氣體通過氣囊下方的氣泡發生器產生氣泡,對污水進行二次擾動,使氣泡上升或破碎對雜質進行二次清理,安裝架移動至污水處理箱上端,工作人員對安裝架和鈦電極板進行清理,并對需要更換的鈦電極板進行更換。
上移機構的設置,一方面能夠實現不停機對鈦電極板和安裝架進行清潔,不停機清洗能夠保持處理箱的穩定運行狀態,有利于提高運行效率和處理效果,另一方面通過安裝架上移和氣泡破碎上移的多種清理方式對鈦電極板表面進行清理,增強了清潔效率。
可選的,所述安裝架側壁上開設有齒槽,所述污水處理箱與所述安裝架連接處側壁上滑動連接有固定齒板,所述固定齒板與所述安裝架連接處設置有固定彈簧,所述固定齒板上方設置有復位桿,所述復位桿頂部設置有上移滑塊,所述固定齒板用于在所述安裝架進行上移時保持穩定。
通過采用上述技術方案,當氣囊帶動安裝板進行上移時,安裝板上移帶動齒槽在固定齒板上移動,當氣囊帶動安裝板移動至頂部限位處時,固定齒板在固定彈簧的推動下向外移動,使齒槽與固定齒板嚙合,對安裝板進行固定,當需要使安裝板下移時,轉動上移滑塊,使上移滑塊推動復位桿進行移動,復位桿推動固定齒板向內移動,解除對安裝板上齒槽的固定。
齒槽和固定齒板的設置,一方面能夠確保安裝板在移動至污水處理箱上方是的穩定性,減少因為移動或搖晃造成的鈦電極板損壞的問題,另一方面對上移后的安裝板進行固定減小了工作人員對鈦電極板進行清理時的風險,同時對上移后的安裝板進行固定,方便了工作人員對鈦電極板的更換。
可選的,所述清污板與所述污水處理箱連接處設置有轉動腔,所述清污板的轉動軸與所述轉動腔連接處設置有多個轉動板,所述氣泵與所述轉動腔連接處設置有出氣管,所述出氣管用于吹動轉動板進行轉動,使清污板進行轉動。
通過采用上述技術方案,當需要對鈦電極板進行清潔時,氣泵加大對出氣管中輸出的氣體,使清污板加速轉動,對污水表面的液體進行加速清除,減小污水中雜質下移的概率。
可選的,所述出料口設置有螺旋板,所述螺旋板用于對淤泥或其他雜質進行破碎后排出。
綜上所述,與現有技術相比,本發明包括以下至少一種有益技術效果:
1、上移機構帶動電解機構進行上移,一方面保持了在需要對電解機構進行清理時污水處理箱的連續運行,同時對電解機構表面進行清洗時,不需要將污水處理箱中的污水進行完全排出,能夠在清洗的同時對污水繼續進行清理,另一方面不停機清洗能夠確保處理箱內的水質保持穩定,不會因為停機而出現水質波動或處理效果下降,同時停機和重新啟動的過程會消耗額外的能源,不停機清洗能夠減少停機和重啟時能源的浪費。
2、氣水混合機構的設置,一方面內能夠使空氣和水進行充分混合,提高氧氣的溶解度,從而增加了氧化效率,進而通過充分的氧化對有機物進行較快的降解,通過充分的氧化對污水中的氨氮物質進行去除,另一方面水體中形成了大量微小氣泡,這些氣泡在上升的過程中會產生對水體的輕微攪拌作用,有利于水體的混合和懸浮物的攪拌,同時氣泡能夠帶動絮凝體進行上移,使絮凝體漂浮在污水表面,方便了對污水中雜質的去除。
3、上移機構的設置,一方面能夠實現不停機對鈦電極板和安裝架進行清潔,不停機清洗能夠保持處理箱的穩定運行狀態,有利于提高運行效率和處理效果,另一方面通過安裝架上移和氣泡破碎上移的多種清理方式對鈦電極板表面進行清理,增強了清潔效率。
4、齒槽和固定齒板的設置,一方面能夠確保安裝板在移動至污水處理箱上方是的穩定性,減少因為移動或搖晃造成的鈦電極板損壞的問題,另一方面對上移后的安裝板進行固定減小了工作人員對鈦電極板進行清理時的風險,同時對上移后的安裝板進行固定,方便了工作人員對鈦電極板的更換。
(發明人:李永紅;李靜;蘇昂杰)






