公布日:2024.02.09
申請日:2023.12.05
分類號:B01D36/04(2006.01)I;B01D21/24(2006.01)I
摘要
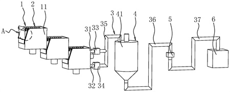
本申請涉及一種混凝土攪拌站污水壓濾處理系統,屬于污水處理的技術領域,其包括沉淀裝置,所述沉淀裝置連接有用于對沉淀裝置內部的砂石進行清理的出渣組件,所述沉淀裝置的一側連接有導流組件和攪拌組件,所述導流組件將所述沉淀裝置與所述攪拌組件相連通,所述攪拌組件的一側設有合金泵與壓濾機,所述導流組件將攪拌組件、合金泵與壓濾機相連通。本申請具有方便對沉淀池內部的砂石進行清理的效果。

權利要求書
1.一種混凝土攪拌站污水壓濾處理系統,其特征在于:包括沉淀裝置(1),所述沉淀裝置(1)連接有用于對沉淀裝置(1)內部的砂石進行清理的出渣組件(2),所述沉淀裝置(1)的一側連接有導流組件(3)和攪拌組件(4),所述導流組件(3)將所述沉淀裝置(1)與所述攪拌組件(4)相連通,所述攪拌組件(4)的一側設有合金泵(5)與壓濾機(6),所述導流組件(3)將攪拌組件(4)、合金泵(5)與壓濾機(6)相連通。
2.根據權利要求1所述的一種混凝土攪拌站污水壓濾處理系統,其特征在于:所述沉淀裝置(1)包括多個沉淀池(11),多個所述沉淀池(11)分級設置且相互連通,每個所述沉淀池(11)內側底部均設有濾板(12),且每個濾板(12)的上側均設有能夠帶動濾板(12)上側的砂石進行移動的推渣板(21),每個所述推渣板(21)上均開設有若干貫穿所述推渣板(21)的孔洞,所述沉淀池(11)的一側連接有用于帶動多個所述推渣板(21)進行移動的推渣液壓缸(22),每個所述沉淀池(11)遠離推渣板(21)一側的底部側壁均開設有能夠供所述沉淀池(11)內部砂石移出的出渣口(111),且每個所述出渣口(111)處均設有能夠封堵出渣口(111)的出渣門(112)。
3.根據權利要求2所述的一種混凝土攪拌站污水壓濾處理系統,其特征在于:多個所述推渣板(21)的一側均連接有推渣螺桿(23),且所述推渣螺桿(23)能夠連接相鄰的兩個所述推渣板(21),設置所述推渣液壓缸(22)的數量為一個且與靠近所述導流組件(3)一側的所述沉淀池(11)內部所述推渣板(21)相連接。
4.根據權利要求3所述的一種混凝土攪拌站污水壓濾處理系統,其特征在于:每個所述推渣板(21)的一側均轉動連接兩個平行且間隔設置的推渣螺桿(23),每個所述推渣螺桿(23)遠離位于同一所述沉淀池(11)內部的所述推渣板(21)的一端均貫穿所述沉淀池(11)側壁設置,每個所述推渣螺桿(23)位于所述沉淀池(11)側壁內的部分均螺紋套接有驅動鏈輪(24),且每個所述驅動鏈輪(24)均通過鏈條和鏈輪與相鄰沉淀池(11)外側壁上的錐齒輪組連接,每個所述出渣門(112)上側均被貫穿且固定連接有轉軸(1121),且每個轉軸(1121)的端部均貫穿相鄰的所述沉淀池(11)側壁且與所述沉淀池(11)側壁轉動連接,每個所述轉軸(1121)的端部均與相鄰的錐齒輪組通過鏈條和鏈輪連接。
5.根據權利要求2-4中任一項所述的一種混凝土攪拌站污水壓濾處理系統,其特征在于:每個所述沉淀池(11)的底部均沿遠離導流組件(3)的一側向靠近導流組件(3)的一側向下傾斜設置,且除與所述導流組件(3)直接連接的所述沉淀池(11)外,每個所述沉淀池(11)靠近所述導流組件(3)的一側壁的底部均開設有出泥口(113)。
6.根據權利要求5所述的一種混凝土攪拌站污水壓濾處理系統,其特征在于:每個所述沉淀池(11)的底部均設有用于帶動相鄰所述沉淀池(11)內部濾板(12)進行上下移動的升降液壓缸(13)。
7.根據權利要求6所述的一種混凝土攪拌站污水壓濾處理系統,其特征在于:除與所述導流組件(3)直接連接的所述沉淀池(11)外,每個所述沉淀池(11)靠近導流組件(3)的一側壁均設置為出液板(114),且每個所述出液板(114)的上側中間位置均向下開設有凹槽,且每個所述凹槽均位于相鄰兩個推渣螺桿(23)的中間位置。
8.根據權利要求6所述的一種混凝土攪拌站污水壓濾處理系統,其特征在于:與所述導流組件(3)直接連接的所述沉淀池(11)內部的推渣板(21)上開設有供沉淀池(11)內部污水與淤泥穿過的出液口(211)。
發明內容
為了方便對沉淀池內部的砂石進行清理,本申請提供一種混凝土攪拌站污水壓濾處理系統。
本申請提供的一種混凝土攪拌站污水壓濾處理系統采用如下的技術方案:一種混凝土攪拌站污水壓濾處理系統,包括沉淀裝置,所述沉淀裝置連接有用于對沉淀裝置內部的砂石進行清理的出渣組件,所述沉淀裝置的一側連接有導流組件和攪拌組件,所述導流組件將所述沉淀裝置與所述攪拌組件相連通,所述攪拌組件的一側設有合金泵與壓濾機,所述導流組件將攪拌組件、合金泵與壓濾機相連通。
通過采用上述技術方案,當需要對污水進行處理時,將污水倒入沉淀裝置內部,沉淀裝置內部的污水經過沉淀之后和淤泥一起被導流組件運送至攪拌組件內部,之后在攪拌組件內部淤泥與水進行充分的混合,混合完成之后通過導流組件以及合金泵,淤泥與水的混合物被運送至壓濾機內部,之后在壓濾機內部實現淤泥與水的分離過程,在長時間使用之后,沉淀組件內部會存在一定量的砂石,此時通過出渣組件對沉淀組件內部的砂石進行清理,從而減少了沉淀組件內部砂石對沉淀組件內部淤泥與水排出過程的影響。
可選的,所述沉淀裝置包括多個沉淀池,且多個所述沉淀池分級設置且相互連通,每個所述沉淀池內側底部均設有濾板,且每個濾板的上側均設有能夠帶動濾板上側的砂石進行移動的推渣板,每個所述推渣板上均開設有若干貫穿所述推渣板的孔洞,所述沉淀池的一側連接有用于帶動多個所述推渣板進行移動的推渣液壓缸,每個所述沉淀池遠離推渣板一側的底部側壁均開設有能夠供所述沉淀池內部砂石移出的出渣口,且每個所述出渣口處均設有能夠封堵出渣口的出渣門。
通過采用上述技術方案,當需要對沉淀組件內部的砂石進行清理時,首先將多個沉淀池內部的污水排空,之后開動推渣液壓缸帶動推渣板移動,并且打開出渣門,使得推渣板能夠帶動沉淀池內部濾板上側的砂石移動至出渣門處并且從出渣門內部排出,之后關閉出渣門,從而實現對沉淀池內部砂石的清理過程。
可選的,多個所述推渣板的一側均連接有推渣螺桿,且所述推渣螺桿能夠連接相鄰的兩個所述推渣板,設置所述推渣液壓缸的數量為一個且與靠近導流組件一側的沉淀池內部推渣板相連接。
通過采用上述技術方案,通過將多個推渣板用推渣螺桿相連接,并且采用一個推渣液壓缸帶動多個推渣板同時進行移動,從而減少了需要設置多個推渣液壓缸的麻煩并且節約了資源。
可選的,每個所述推渣板的一側均連接兩個平行且間隔設置的推渣螺桿,每個所述推渣螺桿遠離位于同一沉淀池內部推渣板的一端均貫穿所述沉淀池側壁設置,每個所述推渣螺桿位于所述沉淀池側壁內的部分均螺紋套接有驅動鏈輪,且每個所述驅動鏈輪均通過鏈條和鏈輪與相鄰沉淀池外側壁上的錐齒輪組連接,每個所述出渣門上側均被貫穿且固定連接有轉軸,且每個轉軸的端部均貫穿相鄰的所述沉淀池側壁且與所述沉淀池側壁轉動連接,每個所述轉軸的端部均與相鄰的錐齒輪組通過鏈條和鏈輪連接。
通過采用上述技術方案,當推渣液壓缸帶動推渣板移動時,推渣板帶動一側所連接的推渣螺桿移動,推渣螺桿在移動的過程中帶動驅動鏈輪轉動,驅動鏈輪在轉動的過程中通過鏈輪和鏈條帶動錐齒輪組轉動,并且實現傳動方向的轉變,之后錐齒輪組通過鏈輪和鏈條帶動轉軸轉動,轉軸在轉動的過程中帶動出料門開啟,從而實現在推渣板推動砂石的過程中,出料門的開啟,從而減少了需要工作人員在清理沉淀池內部砂石的過程中,開啟和關閉出料門的麻煩。
可選的,每個所述沉淀池的底部均沿遠離導流組件的一側向靠近導流組件的一側向下傾斜設置,且除與所述導流組件直接連接的所述沉淀池外,每個所述沉淀池靠近所述導流組件的一側壁的底部均開設有出泥口。
通過采用上述技術方案,由于沉淀池的底部傾斜設置,使得沉淀池底部的淤泥可以沿沉淀池底部側壁的傾斜方向從出泥口處滑落至另一個沉淀池內部,從而減少了淤泥粘附在沉淀池的底部從而難以清理現象的發生。
可選的,每個所述沉淀池的底部均設有用于帶動相鄰所述沉淀池內部濾板進行上下移動的升降液壓缸。
通過采用上述技術方案,由于升降液壓缸的存在,使得在沉淀的過程中,可以通過升降液壓缸帶動濾板移動,從而使得沉淀池內部的淤泥能夠穿過濾板進入到沉淀池的底部從而進入下一過濾環節,從而減少了淤泥堆積在濾板上側從而難以被進一步過濾現象的發生。
可選的,除與所述導流組件直接連接的所述沉淀池外,每個所述沉淀池靠近導流組件的一側壁均設置為出液板,且每個所述出液板的上側中間位置均向下開設有凹槽,且每個所述凹槽均位于相鄰兩個推渣螺桿的中間位置。
通過采用上述技術方案,由于出液板的一側開設有凹槽,使得在出液板一側的污水滿溢時,會從出液板所開設的凹槽處流至下一個沉淀池內部,并且由于凹槽位于兩個推渣螺桿之間,從而減少了污水在流向下一個沉淀池內部時,流至推渣螺桿上從而影響推渣螺桿的使用現象的發生。
可選的,與所述導流組件直接連接的所述沉淀池內部的推渣板上開設有供沉淀池內部污水與淤泥穿過的出液口。
通過采用上述技術方案,由于其中一個推渣板上出液口的存在,減少了在污水與淤泥穿過推渣板流至導流組件內部時,淤泥難以穿過推板流至導流組件內部現象的發生。
綜上所述,本申請包括以下至少一種有益技術效果:1.通過出渣組件對多個沉淀池內部砂石的清理,減少了在實際使用的過程中,沉淀池內部受砂石的影響,從而導致沉淀池內部淤泥難以排出現象的發生;2.通過推渣液壓缸帶動多個推渣板進行移動,并且在推渣板移動的過程中帶動出渣門的開啟,從而方便了工作人員在對沉淀池內部的砂石進行清理的過程中所需的操作;3.通過將出液板的凹槽開設在兩個推渣螺桿之間,從而減少了沉淀池內部水滿溢時向另一個沉淀池內部流動的過程中,污水與泥漿流至推渣螺桿上,從而影響推渣螺桿的正常使用現象的發生。
(發明人:楊戰輝;張華;陳兆艷;李安杰;周俊清;連國棟;劉新強;郭福源;張舵;劉景川;魯寶林;陳曦;李洪波;焦亞麗;王豫川;易昌東;李梓杰)






