公布日:2024.12.17
申請日:2024.11.18
分類號:B01D21/02(2006.01)I;B01D21/24(2006.01)I
摘要
本發明公開了一種基坑泥漿循環處理裝置及處理方法,本發明中:沉淀池、位于沉淀池之后的多個沉淀罐,沉淀池底部配置有輸送組件,沉淀池的一側開設有用于輸送組件輸送泥砂的出料口,通過設置多個沉淀罐,在沉淀罐中的泥水經濁度傳感模塊和濁度檢測機構檢測后,將不同濁度的泥水回流至對應濁度參數的排液區位置,而位于排液區上部液體經輸送管輸送至首個位置沉淀罐的底部,首個沉淀罐上部液體經輸送管輸送至下游相鄰位置沉淀罐的底部,繼續進行沉淀,這樣將不同濁度的泥水排入對應濁度參數的排液區位置,可以防止濁度較高的泥水排入污泥濁度較少的區域里,造成濁度較少的區域內,水體被攪動渾濁,導致再次沉淀需要較長的時間。

權利要求書
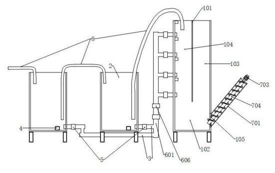
1.一種基坑泥漿循環處理方法,實現該處理方法依托于一種基坑泥漿循環處理裝置,處理裝置包括沉淀池(1)、位于沉淀池(1)之后的多個沉淀罐(2),所述沉淀池(1)底部配置有傾斜朝上設置的輸送組件(7),所述沉淀池(1)的一側開設有用于輸送組件(7)輸送泥砂的出料口(105),所述輸送組件(7)包括設置在出料口(105)位置處的防護殼(701)、與防護殼(701)固定連接的驅動電機(703)、轉動設置在防護殼(701)內的螺旋輸送葉片(704),所述螺旋輸送葉片(704)貫穿出料口(105)并伸入沉淀池(1)的底部,其特征在于:所述沉淀池(1)的內部固定設置有隔板(101),所述隔板(101)下側端與沉淀池(1)底板之間形成沉淀區(102),所述隔板(101)一側形成進料區(103)、另一側形成排液區(104),其中,進料區(103)位于出料口(105)的上方;所述沉淀池(1)的一側設置有與排液區(104)連通的分流組件(6),所述分流組件(6)包括主流管(601)、與主流管(601)連通的多個分流管(602)、豎直分布在沉淀池(1)排液區(104)內壁表面的多個濁度傳感探頭(604);其中,相鄰兩個分流管(602)與沉淀池(1)連通開口之間均配置有一個濁度傳感探頭(604),最高位置分流管(602)與沉淀池(1)連通開口上方也配置有一個濁度傳感探頭(604);所述主流管(601)的下側端設置有單向輸送泵(605)、濁度檢測機構(606),每個所述分流管(602)都獨立配置有一分電磁閥(603);每個沉淀罐(2)底部都配置有一個濁度傳感模塊(4),沉淀池(1)的排液區(104)與首個位置的沉淀罐(2)之間以及相鄰的沉淀罐(2)之間都連接有輸送管(8);每個沉淀罐(2)底部都連接有一個獨立與主流管(601)連接的回液管(3),每個回液管(3)都配置有一個回液電磁閥(5);基坑泥漿循環處理方法如下:S1.泥漿從進料區(103)排入沉淀池(1),經沉淀,泥砂堆積在沉淀區(102),啟動輸送組件(7),將泥砂從出料口(105)排出沉淀池(1),分離后的液體進入排液區(104),排液區(104)上部液體經輸送管(8)輸送至首個位置沉淀罐(2)的底部,首個沉淀罐(2)上部液體經輸送管(8)輸送至下游相鄰位置沉淀罐(2)的底部;S2.沉淀池(1)中多個濁度傳感探頭(604)開始工作,設多個濁度傳感探頭(604)自上而下依次監測到的濁度信息為(W1,W2,W3,...,Wn);S3.所有沉淀罐(2)中的濁度傳感模塊(4)開始工作,任意一個沉淀罐(2)中的濁度傳感模塊(4)檢測沉淀罐(2)中的液體濁度為Wx;S3.1.若Wx≤W1,則當前沉淀罐(2)底部連接的回液管(3)保持關閉,無回液動作;S3.2.若Wx>W1,則當前沉淀罐(2)底部連接的回液管(3)上的回液電磁閥(5)打開,同時單向輸送泵(605)啟動,所有分電磁閥(603)都先打開,濁度檢測機構(606)檢測回流的液體濁度,記作Wy,然后關閉所有分電磁閥(603);判斷Wy與(W1,W2)、(W2,W3)、(W3,W4)、...、(Wn-1,Wn)的參數范圍關系,打開對應位置分流管(602)的分電磁閥(603),濁液回流至對應濁度參數的排液區位置;其中,若Wy>Wn,則最低位置分流管(602)的分電磁閥(603)打開,濁液回流至排液區最底部位置。
2.根據權利要求1所述的一種基坑泥漿循環處理方法,其特征在于:所述驅動電機(703)的輸出端與螺旋輸送葉片(704)的一端連接,所述防護殼(701)的一側端開設有用于泥砂下料的落料口(702)。
3.根據權利要求1所述的一種基坑泥漿循環處理方法,其特征在于:所有回液管(3)與主流管(601)連接位置都位于單向輸送泵(605)、濁度檢測機構(606)下方;所有分電磁閥(603)與主流管(601)連接位置都位于單向輸送泵(605)、濁度檢測機構(606)上方。
4.根據權利要求1所述的一種基坑泥漿循環處理方法,其特征在于:沉淀池(1)的排液區(104)與首個位置的沉淀罐(2)之間的輸送管(8),輸送管(8)的一端插接在排液區(104)上部區域,輸送管(8)的另一端插接在首個位置的沉淀罐(2)底部區域;相鄰的沉淀罐(2)之間的輸送管(8),輸送管(8)的一端插接在上游側沉淀罐(2)的上部區域,輸送管(8)的另一端插接在下游側沉淀罐(2)底部區域;所述輸送管(8)配置有用于輸送泥沙混合液體的泵體。
5.根據權利要求1所述的一種基坑泥漿循環處理方法,其特征在于:所述沉淀池(1)的進料區(103)寬度尺寸大于排液區(104)寬度尺寸。
6.根據權利要求1所述的一種基坑泥漿循環處理方法,其特征在于:所述主流管(601)上配置的濁度檢測機構(606)位于單向輸送泵(605)下游側。
發明內容
為解決上述技術問題,本發明提供了一種基坑泥漿循環處理裝置及處理方法,實現了在沉淀池中未沉淀完全的泥漿重新排入沉淀池,并且不同泥漿濁度還可以排入到沉淀池中對應的污泥沉淀區,這樣防止不同濁度的泥漿混合,導致濁度較低的泥漿會再次變渾濁,增加沉淀時長。
為實現上述目的,本發明提供如下技術方案:一種基坑泥漿循環處理裝置,包括沉淀池、位于沉淀池之后的多個沉淀罐,沉淀池底部配置有傾斜朝上設置的輸送組件,沉淀池的一側開設有用于輸送組件輸送泥砂的出料口,輸送組件包括設置在出料口位置處的防護殼、與防護殼固定連接的驅動電機、轉動設置在防護殼內的螺旋輸送葉片,螺旋輸送葉片貫穿出料口并伸入沉淀池的底部。
沉淀池的內部固定設置有隔板,隔板下側端與沉淀池底板之間形成沉淀區,隔板一側形成進料區、另一側形成排液區,其中,進料區位于出料口的上方。
沉淀池的一側設置有與排液區連通的分流組件,分流組件包括主流管、與主流管連通的多個分流管、豎直分布在沉淀池排液區內壁表面的多個濁度傳感探頭。
其中,相鄰兩個分流管與沉淀池連通開口之間都配置有一個濁度傳感探頭,最高位置分流管與沉淀池連通開口上方也配置有一個濁度傳感探頭。
主流管的下側端設置有單向輸送泵、濁度檢測機構,每個分流管都獨立配置有一分電磁閥。
每個沉淀罐底部都配置有一個濁度傳感模塊,沉淀池的排液區與首個位置的沉淀罐之間以及相鄰的沉淀罐之間都連接有輸送管。
每個沉淀罐底部都連接有一個獨立與主流管連接的回液管,每個回液管都配置有一個回液電磁閥。
作為本發明優選的一種技術方案,驅動電機的輸出端與螺旋輸送葉片的一端連接,防護殼的一側端開設有用于泥砂下料的落料口。
作為本發明優選的一種技術方案,所有回液管與主流管連接位置都位于單向輸送泵、濁度檢測機構下方。
所有分電磁閥與主流管連接位置都位于單向輸送泵、濁度檢測機構上方。
作為本發明優選的一種技術方案,沉淀池的排液區與首個位置的沉淀罐之間的輸送管,輸送管的一端插接在排液區上部區域,輸送管的另一端插接在首個位置的沉淀罐底部區域;
相鄰的沉淀罐之間的輸送管,輸送管的一端插接在上游側沉淀罐的上部區域,輸送管的另一端插接在下游側沉淀罐底部區域;
輸送管配置有用于輸送泥沙混合液體的泵體。
作為本發明優選的一種技術方案,沉淀池的進料區寬度尺寸大于排液區寬度尺寸。
作為本發明優選的一種技術方案,主流管上配置的濁度檢測機構位于單向輸送泵下游側。
本發明提供了一種基坑泥漿循環處理裝置,包括以下步驟:
S1.泥漿從進料區排入沉淀池,經沉淀,泥砂堆積在沉淀區,啟動輸送組件,將泥砂從出料口排出沉淀池,分離后的液體進入排液區,排液區上部液體經輸送管輸送至首個位置沉淀罐的底部,首個沉淀罐上部液體經輸送管輸送至下游相鄰位置沉淀罐的底部。
S2.沉淀池中多個濁度傳感探頭開始工作,設多個濁度傳感探頭自上而下依次監測到的濁度信息為(W1,W2,W3,...,Wn)。
S3.所有沉淀罐中的濁度傳感模塊開始工作,任意一個沉淀罐中的濁度傳感模塊檢測沉淀罐中的液體濁度為Wx。
S3.1.若Wx≤W1,則當前沉淀罐底部連接的回液管保持關閉,無回液動作。
S3.2.若Wx>W1,則當前沉淀罐底部連接的回液管上的回液電磁閥打開,同時單向輸送泵啟動,所有分電磁閥都先打開,濁度檢測機構檢測回流的液體濁度,記作Wy,然后關閉所有分電磁閥。
判斷Wy與(W1,W2)、(W2,W3)、(W3,W4)、...、(Wn-1,Wn)的參數范圍關系,打開對應位置分流管的分電磁閥,濁液回流至對應濁度參數的排液區位置。
其中,若Wy>Wn,則最低位置分流管的分電磁閥打開,濁液回流至排液區最底部位置。
本發明提供了一種基坑泥漿循環處理裝置,具備以下有益效果:
本發明通過設置多個沉淀罐,在沉淀罐中的泥水經濁度傳感模塊和濁度檢測機構檢測后,將不同濁度的泥水回流至對應濁度參數的排液區位置,而位于排液區上部液體經輸送管輸送至首個位置沉淀罐的底部,首個沉淀罐上部液體經輸送管輸送至下游相鄰位置沉淀罐的底部,繼續進行沉淀,這樣將不同濁度的泥水排入對應濁度參數的排液區位置,可以防止濁度較高的泥水排入污泥濁度較少的區域里,造成濁度較少的區域內,水體被攪動渾濁,導致再次沉淀需要較長的時間,保證了排液區各個濁度區域的泥沙高效沉降,也保證了排液區頂部排液的清澈度和排出效率。
本發明實現了基坑泥漿的高效、連續化排出,并有效進行了沉降,同時在排液不達標情況下,最大程度上減少了回流濁液對初始第一沉淀池的沉降排出效率影響。
(發明人:儲勇虎;費佳麟;孟幻)






