1 引言
磷是所有生命的必須元素.據統計,全球約有70億t磷礦石(以P2O5計)可供開采.現在出產的磷礦石的80%用做肥料,而磷礦石是一種非可再生資源,現有磷礦石只能夠供人類繼續開采50~100年.我國是農業大國,對磷礦石的需求日益增長.與碳、氮不同,磷在生態系統中的循環是單向流動,其最終歸宿是水體.磷的這種遷移過程更加劇了人類對磷需求逐年上升與磷資源逐漸減少的矛盾,人類迫切的需要通過其他途徑獲取磷.
為避免生活、工業污水污染水體,在排放前需要進行處理,90%的磷負荷通過生物法和化學法去除,產生了大量的富磷污泥.通過有效的方法使磷從剩余污泥中釋放出來并以一定形式加以回收,這不僅為剩余污泥的處理處置開辟了新的方向,而且對磷資源的可持續發展具有重要意義.
磷的資源化利用的關鍵步驟之一是采取一定的措施使磷從污泥中釋放到液相中,污泥破解技術主要有物理法、化學法、生物方法及一些組合的方法等,如厭氧消化、好氧消化、加熱、臭氧氧化、酸堿溶胞、密閉加壓微波輻射、超聲、微波輻射-過氧化氫聯合作用等.超聲波是通過空化作用產生的局部高溫、高壓和極強的剪切和射流作用來破壞微生物細胞壁,釋放胞內物質,具有無污染、能量密度高和分解污泥速度快等特點.因此研究者開展了超聲波以及同其它處理工藝,如酸堿處理等的組合工藝處理污泥的研究.然而,這些研究以污泥減量化、污泥中有機物的去除為主要目的,目前以污泥中磷的溶出為主要目的相關研究較少.本研究的目的是考察和比較堿處理和堿-超聲聯合作用下3種不同來源的剩余污泥正磷酸鹽和有機物釋放的規律,以期為剩余污泥中磷的高效回收提供理論依據.
熒光光譜(Three Dimension Excitation-Emission Matrix,3DEEMs)技術被用來揭示有機物的種類及含量信息,是基于其結構中含有大量帶有各種官能團的芳香環結構以及未飽和脂肪鏈.熒光光譜技術具有靈敏度高、選擇性好、且不破壞樣品結構的優點,可對水體中痕量有機物進行充分的識別和解析,非常適合用來研究有機物的化學和物理性質.在對河流、湖泊中的溶解性有機物、給水處理及污水處理等領域的研究中得到廣泛應用.本研究中,三維熒光光譜用于堿和堿-超聲聯合作用下3種不同來源的剩余污泥中析出有機物的分析.
2 實驗材料和方法
2.1 污泥的來源
實驗中所測定的剩余污泥分別取自某制藥廠污水處理廠、兩座北京城市污水處理廠——清河污水處理廠和高碑店污水處理廠,經壓濾處理后的剩余污泥.為了保證整個試驗工程污泥性質一致,采樣取得污泥后,在低于20 ℃的背陰處風干、粉碎、過80目篩后貯存于-20 ℃冰箱備用.某制藥廠污水處理廠采用水解酸化預處理工藝和接觸氧化的好氧生物處理作為主體工藝,主要處理磷霉素鈉制藥廢水;清河污水處理廠采用具有良好脫氮除磷功能的A2O工藝;高碑店污水處理廠采用傳統活性污泥法二級處理工藝.
2.2 實驗裝置
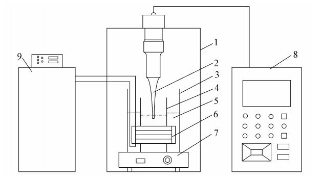
超聲處理裝置由反應器、超聲波發生器、循環水冷卻系統和磁力攪拌器組成,如圖 1所示.用于實驗的泥水混合液150 mL置于體積為300 mL的反應器中,反應器放于1000 mL燒杯中,由恒溫循環器與熱交換裝置及冷卻水控制反應器溫度為20 ℃.超聲由Scientz-ⅡD型超聲波細胞粉碎機提供,頻率為20~25 kHz,最大電功率為950 W,變幅桿直徑為6 mm.變幅桿末端浸入污泥液面1 cm左右.通過磁力攪拌器使反應器混合均勻,避免超聲過程中污泥混合不均影響超聲處理效果.

圖 1 超聲波處理裝置(1. 隔音箱;2. 超聲探頭;3. 大燒杯;4. 小燒杯;5. 冷卻水;6. 冷卻器;7. 磁力攪拌器;8. 操作控制臺;9. 恒溫循環器)
2.3 實驗方法
取含固量為5 g的剩余污泥于燒杯中,加入150 mL去離子水混勻作為空白對照;取等量污泥和去離子水混合后用飽和NaOH溶液調節pH值為12,采用堿+超聲聯合處理,在pH值為12的條件下超聲破解30 min(超聲作用方式為間歇式,脈沖比為1∶1,聲能密度為2 W·mL-1)后靜置20 h.在10000 r·min-1的轉速下離心20 min(熱電,美國),固液分離.測出上清液的體積及PO3-4-P、TP、SCOD、TOC的濃度,并對污泥上清液進行三維熒光掃描.分離出的污泥用于檢測污泥的TS、VS和剩余污泥中TP含量.所有泥樣的分析都做了3個平行樣.
2.4 測試方法
污泥TC的測定采用具有固體模塊功能的TOC/TN分析儀(Multin N/C2100,耶拿,德國);污泥上清液TOC的測定采用TOC分析儀(TOC-L CPN CN200,島津,日本);污泥TP、TN、TS、VS的測定參照《城市污水處理廠污泥檢驗方法》(CJT 221—2005,2005);pH值、PO3-4-P、TP的測定均按標準方法(國家環境保護總局《水和廢水監測分析方法》進行測定;TCOD、SCOD采用重鉻酸鉀法,并采用紫外可見分光光度計(UNIC4802,尤尼柯,美國)測定.
三維熒光光譜圖由熒光光度計(F-7000,日立,日本)測得,其參數設定為:激發波長掃描范圍200~450 nm,發射波長掃描范圍260~550 nm,激發和發射狹縫寬度均為5 nm,掃描速率2400 nm · min-1,掃描間隔5 nm.
TS、VS依據重量法(國家環境保護總局《水和廢水監測分析方法》測定.STS和SVS分別表示TS、VS溶出率,計算方法依據下式:

式中,TSS和VSS分別表示處理后污泥的總固體和揮發性固體指標(g · L-1),TS0和VS0分別表示未處理污泥的總固體和揮發性固體指標(g · L-1).
3 實驗結果分析
3.1 原污泥特性
3種污泥的干污泥、加入150 mL去離子水后形成的泥水混合液,其特性如表 1所示.
表1 3種剩余污泥特性

從表 1中可以看出,干污泥中制藥污泥的有機物的含量最高,但清河污泥TP和TN含量明顯高于其它兩種污泥.這3種剩余污泥按照處理污水的來源可以分為處理工業廢水產生的污泥和處理城市廢水產生的污泥.盡管制藥處理廠處理的廢水中以含有機磷的磷霉素為主要成份,制藥廠的剩余污泥中TP的含量仍然在這3類污泥中為最低.清河污泥和高碑店污泥分別代表采用不同污水處理工藝的城市污水廠剩余污泥.清河污水處理廠采用具有脫氮除磷功能的A2O工藝,而剩余污泥經濃縮脫水;高碑店污泥采用具有脫氮除磷功能的傳統活性污泥法二級處理工藝,污泥經兩級中溫消化、化學除磷后脫水.高碑店污泥處理工藝中采用了化學除磷單元,是其TP低于清河污泥中TP含量的主要原因.
比較3種污泥溶于水前后各項性質可以發現,清河污泥SCOD值高于其余兩種污泥,說明清河污泥的可溶性有機物比其余兩種污泥高;清河污泥的可溶性TP、PO3-4-P含量遠高于其余兩種污泥,且清河污泥中溶于水的TP含量占到干污泥TP量的43.93%,其中,98.47%為PO3-4-P;而其余兩種污泥可溶性的TP在干污泥中含量不超過0.40%.因此高碑店污泥和制藥污泥需要進一步處理以利于磷的釋放.
3.2 磷釋放
已有研究表明,經超聲或堿單獨預處理后,污泥的PO3-4-P、TP、COD、TOC值均有明顯增加,表明細胞內的可溶性物質釋放進入了水相.堿可以抑制細胞活性,使細胞溶解,釋放細胞物質.超聲波處理是一種物理溶胞技術,是通過超聲波在液相中產生空化作用,破壞污泥絮凝體、菌膠團和細胞體,達到污泥減量化的目的.經堿處理和堿+超聲處理后,制藥、清河、高碑店污泥中磷釋放到液相中,3種污泥在釋磷前后上清液中的正磷酸鹽、有機磷及污泥中的總磷含量以及磷的釋放率如表 2、圖 2所示.
表2 3種污泥處理前后磷的釋放


圖 2 污泥預處理前后磷的析出率
對照樣品處理前后,制藥污泥上清液中的正磷酸鹽、有機磷的含量分別從0.0031、0.0013 mg · g-1升高到加堿后的0.034、0.15 mg · g-1,加堿超聲后的0.05、0.18 mg · g-1,制藥污泥中有機磷的析出要高于正磷酸鹽.制藥污泥的正磷酸鹽析出率從0.03%增加到加堿后的0.38%和加堿超聲后的0.55%,總磷析出率從0.18%增加到加堿后的2.07%和加堿超聲后的2.53%.盡管制藥污泥的正磷酸鹽和總磷在處理后增加了10~17倍,但析出的正磷酸鹽和總磷仍然很低.
經過加堿和超聲處理,清河污泥上清液中的正磷酸鹽、有機磷的含量分別從10.29、0.16 mg · g-1升高到加堿后的12.49、2.45 mg · g-1,加堿超聲后的12.6、2.75 mg · g-1,清河污泥中正磷酸鹽的析出高于有機磷.清河污泥的正磷酸鹽析出率從38.93%增加到加堿后的47.28%和加堿超聲后的47.70%,總磷析出率從39.54%增加到加堿后的56.56%和加堿超聲后的58.12%.清河污泥的正磷酸鹽和總磷處理后增加了21%~46%,但析出的正磷酸鹽和總磷量最大.
高碑店污泥上清液中的正磷酸鹽、有機磷的含量分別從0.019、0.027 mg · g-1升高到加堿后的1.59、1.05 mg · g-1,加堿超聲后的2.24、1.08 mg · g-1,高碑店污泥中正磷酸鹽的析出高于有機磷.高碑店污泥的正磷酸鹽析出率從0.16%增加到加堿后的12.93%和加堿超聲后的18.31%,總磷析出率從0.38%增加到加堿后的21.49%和加堿超聲后的27.11%.高碑店污泥的正磷酸鹽和總磷在處理后增加了55~113倍,在3種污泥中析出率變化最大.
從污泥上清液回收磷的方法主要有沉淀法、結晶法離子交換法和吸附法等,均需要將磷轉化為PO3-4的形式加以回收,正磷酸鹽的量是下一步磷回收的基礎.清河污水處理廠采用的具有脫氮除磷功能的A2O工藝,原始污泥為城市污泥,無機磷含量很高,加堿超聲后無機磷的析出高于有機磷;高碑店污泥屬于城市污泥,經處理后析出的磷無機磷較多,加堿超聲對高碑店污泥無機磷的析出影響最大;制藥污泥為工業污泥,經處理后析出的磷有機磷居多,加堿超聲對制藥污泥無機磷的析出影響最小.
3.3 有機物的釋放
上清液中總有機碳(TOC)和SCOD的增加表達了剩余污泥經預處理后污泥釋放到水體中有機物質總量及可溶性有機物的增加.由圖 3可知,經過堿處理和超聲處理前后不同污泥的SCOD的釋放明顯不同.清河污泥的原始污泥SCOD為10.69 g · L-1,經過堿處理和堿/超聲聯合處理后污泥的SCOD均增加至18.91 g · L-1,增加了77%;高碑店污泥的原始污泥SCOD的析出了1.54 g · L-1,經過堿處理和堿/超聲聯合處理后污泥的SCOD分別達到5.79 g · L-1和6.29 g · L-1,增加了276%和308%,制藥污泥上清液的SCOD從0.39 g · L-1,經過堿處理和堿/超聲聯合處理后分別增加至0.87 g · L-1和1.25 g · L-1,增加了123%和221%.因此,在加堿和超聲的作用下,高碑店污泥的SCOD釋放量高,制藥污泥次之,清河污泥最低.

圖 3 3種剩余污泥經預處理后有機物的釋放
上清液中TOC的變化規律與此類似.清河污泥的原始污泥TOC為3.62 g · L-1,經過堿處理和堿/超聲聯合處理后污泥的TOC分別增加至6.74 g · L-1和7.57 g · L-1,增加了86%和109%;高碑店污泥的原始污泥TOC為0.48 g · L-1,經處理后上清液中的TOC分別達到0.96 g · L-1和1.20 g · L-1,增加了100%和150%;制藥污泥的原始污泥TOC為0.14 g · L-1,經過處理后污泥的TOC分別增加至0.42 g · L-1和0.50 g · L-1,增加了200%和257%;因此,在加堿和超聲的作用下,制藥污泥的SCOD釋放率高,高碑店污泥次之,清河污泥最低.
3類污泥經堿處理后TOC和SCOD均有不同程度的增加,說明在高pH時,堿性物質可以與細胞壁進行反應,并溶解細胞.堿處理后再超聲波處理,3類污泥TOC和SCOD(除清河污泥的SCOD變化不明顯)有明顯增加,也能證明超聲波對污泥的堿溶胞具有明顯的改善作用.考慮到有機物的釋放對后續磷回收的影響,選擇有機物釋放量小而污泥磷釋放量最高的清河污泥為進一步開展磷回收試驗的對象.
3.4 堿處理和超聲對剩余污泥的三維熒光特征的影響
常見的可溶性有機污染物可用熒光峰中心位置劃分.三維熒光圖采用一致的激發波長EM(emission wavelength)和發射波長EX(excitation wavelength)邊界,依據文獻用水平和垂直直線把每個圖劃分為5個區域,圖上的峰對應腐殖酸類、芳香類蛋白、富里酸、溶解性細胞代謝產物等有機物.一般來說,峰位于較短的激發波長(<250nm)和較短的發射波長(<50 nm)對應簡單的芳香類蛋白質(Ⅰ和Ⅱ區域).峰位于中間的激發波長(250~280 nm)發射波長(<380 nm)對應溶解性細胞代謝產物(Ⅵ區域).激發波長(<250 nm)發射波長(>350 nm)的峰對應富里酸類有機物.激發波長(>280 nm)發射波長(>380 nm)的峰對應腐殖酸類有機物.可溶性有機物的三維熒光峰可用于評估經處理后污泥結構的破壞.
從圖 4a可知,某制藥污泥的三維熒光圖譜上的主要熒光峰(A1,A2,A3)和較小的熒光峰(B1,B2,B3)各位于Ⅵ和Ⅱ區域,分別對應的有機物質是溶解性細胞代謝產物(類蛋白)和Ⅱ類芳香蛋白.同處理前的污泥比較,溶解性細胞代謝產物(峰 A)加堿后的熒光強度增大,加堿超聲后熒光強度略微降低;Ⅱ類芳香蛋白(峰 B)加堿后的熒光強度增加而加堿超聲后熒光強度降低的趨勢更為明顯.說明某些加堿溶出的熒光物質在超聲作用后濃度降低.

圖 4 處理前后三類污泥的3維熒光圖譜(a. 制藥污泥; b. 清河污泥; c.高碑店污泥)
從圖 4b可知清河污泥的三維熒光圖譜上的熒光峰(C1,C2,C3)、(D1,D2,D3)、(E1,E2,E3)分別位于Ⅰ、Ⅱ和Ⅵ區域,分別對應Ⅰ類芳香蛋白、Ⅱ類芳香蛋白和溶解性細胞代謝產物(類蛋白).同制藥污泥在處理前后的變化趨勢類似,Ⅰ類芳香蛋白、Ⅱ類芳香蛋白和溶解性細胞代謝產物(類蛋白)加堿后熒光強度增加,加堿超聲處理后熒光強度減弱.因此,加堿使得熒光物質溶于上清液中,超聲則破環了某些熒光物質.并且清河污泥中可溶性有機物的熒光強度按照Ⅱ類芳香蛋白、Ⅰ類芳香蛋白和溶解性細胞代謝產物(類蛋白)的順序遞減.高碑店污泥的三維熒光圖譜上的熒光峰(F1,F2,F3)、(G1,G2,G3)、(H1,H2,H3)及其熒光強度的變化趨勢同清河污泥類似(圖 4c).
比較工業污泥和城市污泥可以看出,這兩類污泥中溶出的有機物各不相同,城市污泥以Ⅰ類、Ⅱ類芳香蛋白為主,工業污泥以溶解性細胞代謝產物(類蛋白)為主,并且城市污泥中可溶出的有機物的種類大于工業污泥.另外,經比較后發現,每種污泥經過堿處理和超聲處理后特征熒光峰位置λex/λem出現細微紅移或藍移現象,說明有機物結構中增加了羰基、羥基、烷氧基、氨基等基團或這些基團被去除,然而,這些熒光峰類型是基本相同的,說明堿處理和超聲處理不會從根本上改變污泥上清液中有機物的組分和化學結構.這與其他學者關于污泥胞外聚合物的三維熒光特性研究相一致.
同特征熒光峰相關聯的有機物的含量可以用特征熒光強度來對應.特征熒光強度可以用熒光區域積分表示,熒光區域積分(fluorescence regional integration,FRI)是另一種熒光光譜解析方法,可對多組分體系中熒光光譜的重疊對象進行光譜識別和表征(姚璐璐,2013).3類污泥處理前后上清液經熒光掃描,特征熒光強度的變化如圖 5所示.3類污泥中最明顯的有機物質均屬于蛋白質類,另外還包含少量富里酸類和腐殖酸類.堿既能溶解細胞,使細胞質釋放,又能水解蛋白質,溶解富里酸和腐殖酸(杜連祥,1992).由圖 5a和圖 5c可以看出經過堿處理后制藥污泥和高碑店污泥各類物質的特征熒光強度明顯升高,說明用堿處理這兩種污泥時溶胞作用釋放入水相的蛋白質類、富里酸類和腐殖酸類多于促進水解的蛋白質類、富里酸類和腐殖酸類.清河污泥的各類物質的特征熒光強度沒有升高(圖 5b),可能由于清河污泥結構比較松散,加水后污泥溶解比較完全,再對其堿處理和超聲波處理就沒有明顯促進作用.超聲波的能量不足以破壞蛋白質的共價鍵,所以不能分解蛋白質.另外,超聲波與堿處理具有相似的溶胞效果,超聲波+堿處理應該比單純堿處理釋放更多溶解性有機物(DOM).但圖 5所示3種污泥均是堿處理后再超聲與單純堿處理相比各類物質的特征熒光強度變化不顯著,甚至DOM釋放量反而稍有降低,這可能是超聲波產生的空化效應能促進堿水解蛋白質類、分解富里酸類和腐殖酸類.具體機理有待考證.

圖 5 處理前后三種污泥特征熒光強度變化(a. 制藥污泥; b. 清河污泥; c. 高碑店污泥)
3.5 堿處理和超聲對污泥溶出率的影響
加堿和超聲預處理前后3種剩余污泥TS、VS溶出率的變化如圖 6表示.從圖中可以看出所有3類污泥在堿+超聲聯合預處理都比單獨堿處理TS、VS溶出率高,說明超聲與堿處理都能使TS、VS溶出,有助于污泥的減量化.已有研究證明,采用加堿+超聲聯合處理剩余污泥,比單獨采用超聲、堿處理效果更好.這與本研究結果一致.

圖 6 預處理前后污泥TS、VS溶出率
高碑店TS、VS在預處理前為最高,為22.70%、13.60%,加堿和加堿超聲后TS的溶出率分別為3.10%和3.83%,加堿和加堿超聲后VS的溶出率分別為9.52%、9.96%;清河污泥TS、VS在預處理前分別為5.72%和9.26%,加堿和加堿超聲后TS的溶出率為18.39%和23.76%,加堿和加堿聲后VS的溶出率為26.94%、33.00%;制藥污泥TS、VS在預處理前的溶出率分別為0.97%和25.80%,加堿和加堿超聲后TS的溶出率為1.89%和2.96%,加堿和加堿超聲后VS的溶出率為8.05%、11.09%.清河污泥TS、VS溶出率明顯高于其它兩種污泥,這是因為經堿處理和超聲處理后,清河污泥SCOD和TOC溶出率高,破碎程度高,TS、VS溶出率也高.具體參見污水寶商城資料或http://www.xhxdt.com更多相關技術文檔。
4 結論
1)3種剩余污泥的無機磷和有機磷的含量不同,來自生物除磷工藝的城市剩余污泥處理前無機磷的含量最高;加堿超聲處理后城市污泥無機磷的釋放高于有機磷,而工業污泥的有機磷釋放高于無機磷;來自生物除磷工藝的城市剩余污泥無機磷釋放率達到47.70%,而有機物的釋放率最低,適合進一步開展磷回收.
2)當pH值為12時超聲30 min(間歇式,脈沖比為1∶1,聲能密度為2 W · mL-1)的條件下,堿和超聲預處理均有利于剩余污泥磷和有機物溶出,采用生物除磷和化學除磷工藝的城市剩余污泥的磷和有機物在預處理后增加率最大,但制藥污泥預處理后變化最小.因此需要進一步實驗以得到合用于制藥污泥中磷釋放的運行條件.
3)分析三維熒光圖譜可知,工業污泥和城市污泥在堿和超聲作用下釋放的有機物成份不同,堿處理能促進污泥蛋白質類、腐殖酸類和富里酸類有機物的釋放,但堿和超聲處理不足以改變污泥上清液中有機物的組分.


