申請日2015.07.23
公開(公告)日2016.01.20
IPC分類號B01D29/33; B01D29/68
摘要
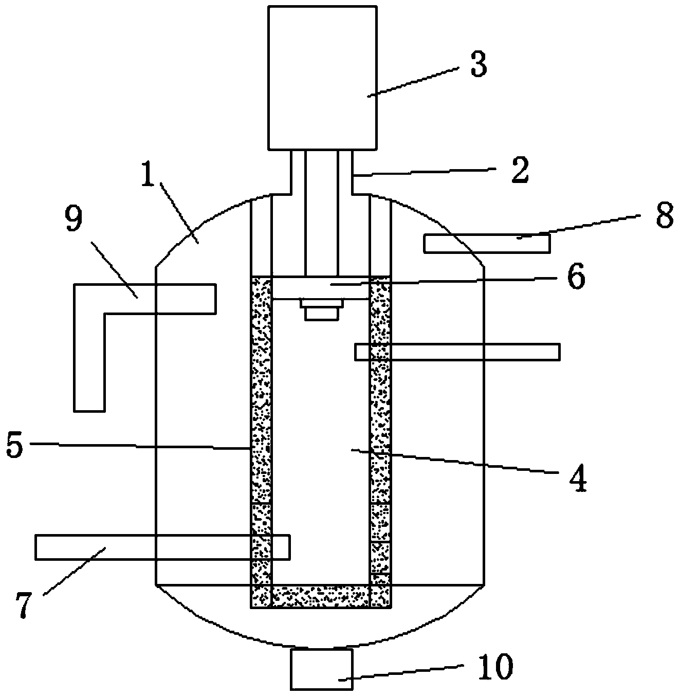
本實用新型公開了一種鋁箔加工用污水清理裝置,包括罐體,其特征在于:所述罐體的上端設有氣缸座,氣缸座上安裝有氣缸,所述氣缸座下方的罐體內架設有過濾柱,在過濾柱外包裹有過濾芯,所述氣缸座的活塞桿下端固定安裝有壓柱塞。本實用新型結構簡單,污水處理效率高,且濾芯可以反復使用。
權利要求書
1.一種鋁箔加工用污水清理裝置,包括罐體,其特征在于:所述罐體的上端設有氣缸座,氣缸座上安裝有氣缸,所述氣缸座下方的罐體內架設有過濾柱,在過濾柱外包裹有過濾芯,所述氣缸座的活塞桿下端固定安裝有壓柱塞,所述過濾柱的側壁上連通有反沖洗管,所述罐體側壁上設有出水管和沖洗管。
2.根據權利要求1所述鋁箔加工用污水清理裝置,其特征在于:所述罐體的底部設有污水排出管。
說明書
鋁箔加工用污水清理裝置
技術領域
本實用新型涉及一種污水處理設備,具體是一種鋁箔加工用污水清理裝置。
背景技術
現有技術中,在鋁箔加工企業生產過程中,會產生大量的污水,這些污水需要經過處理才能排放,傳統的污水處理裝置存在,結構復雜,生產制造成本高,不能被廣泛運用。
實用新型內容
本實用新型目的是提供了一種結構簡單,污水處理效率高,且濾芯可以反復使用的鋁箔加工用污水清理裝置。
本實用新型解決技術問題提供如下方案:
一種鋁箔加工用污水清理裝置,包括罐體,其特征在于:所述罐體的上端設有氣缸座,氣缸座上安裝有氣缸,所述氣缸座下方的罐體內架設有過濾柱,在過濾柱外包裹有過濾芯,所述氣缸座的活塞桿下端固定安裝有壓柱塞,所述過濾柱的側壁上連通有反沖洗管,所述罐體側壁上設有出水管和沖洗管。
所述罐體的底部設有污水排出管。
本實用新型在罐體的上端設有氣缸座,且在氣缸座上安裝有氣缸,通過在氣缸的活塞桿下端安裝有過濾柱塞,通過在過濾柱外壁上包裹過濾芯,起到過濾效果,同時在氣缸的活塞桿下端的柱塞下壓力的作用下,極大地增強了過濾壓力,提高了過濾速度,在需要清洗時,在濾芯的側壁上安裝有反沖洗管,通過向濾芯內進行充入干凈的清洗水,對濾芯進行反方向沖洗,再用罐體側壁上沖洗管對濾芯進行沖刷,快速清潔濾芯。







