申請日2015.07.23
公開(公告)日2016.02.03
IPC分類號C02F9/14; C02F103/38
摘要
本實用新型公開一種聚苯硫醚廢水處理系統,包括依次連通的調節池、高級氧化池、水解酸化池、沉淀池和清水池,在水解酸化池和沉淀池之間連接有IC反應器,在沉淀池和IC反應器之間連接有A/O反應器。以上方案的效果是,調節池調節廢水水質、水量,高級氧化池對難降解的有機物進行裂解,特別是對聚合物、苯系化合物等物質能起到很好的裂解作用,降低了廢水的沖擊負荷,還為后續生化創造良好的進水環境,水解酸化池對水污染物進行酸化處理,為IC反應提供必要的揮發性脂肪酸,再通過IC反應器對高濃度的COD進行降解,A/O反應器通過缺氧、好氧交替處理保障出水水質。對聚苯硫醚廢水進行逐級處理,沖擊負荷逐級降低,保證了系統的穩定運行和優異的出水水質。
權利要求書
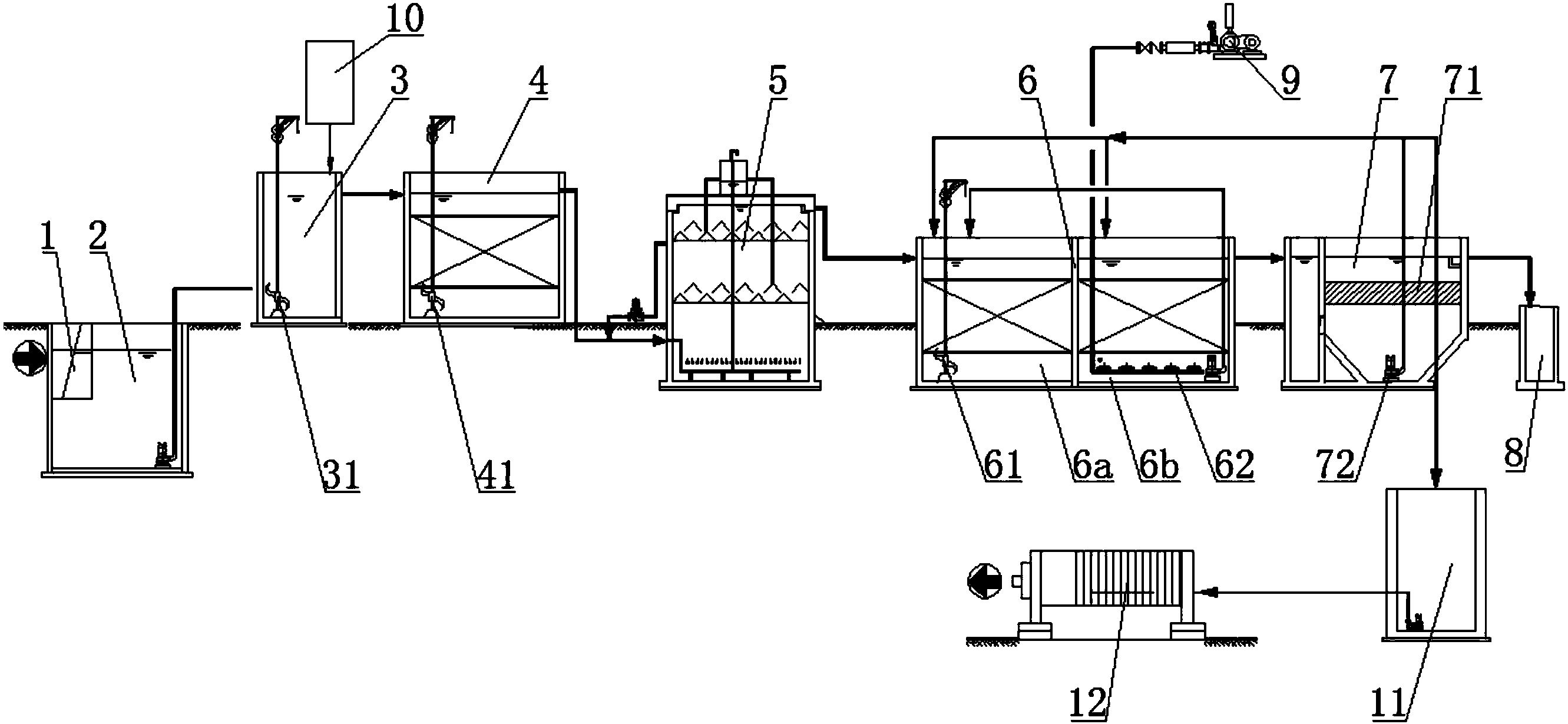
1.一種聚苯硫醚廢水處理系統,其特征在于:包括依次連通的調節池(2)、高級氧化池(3)、水解酸化池(4)、沉淀池(7)和清水池(8),在所述水解酸化池(4)和沉淀池(7)之間連接有IC反應器(5),在所述沉淀池(7)和IC 反應器(5)之間連接有A/O反應器(6)。
2.根據權利要求1所述的聚苯硫醚廢水處理系統,其特征在于:在所述調節池(2)內設有格柵池(1),該格柵池(1)與所述調節池(2)連通,廢水經該格柵池(1)流入所述調節池(2)。
3.根據權利要求1或2所述的聚苯硫醚廢水處理系統,其特征在于:在所述高級氧化池(3)底部安裝第一潛水攪拌機(31),所述高級氧化池(3)通過管路連接有臭氧發生器(10),該臭氧發生器(10)向所述高級氧化池(3)內通入臭氧。
4.根據權利要求1所述的聚苯硫醚廢水處理系統,其特征在于:在所述水解酸化池(4)底部安裝第二潛水攪拌機(41),在所述水解酸化池(4)中部設有組合填料。
5.根據權利要求1、2或4所述的聚苯硫醚廢水處理系統,其特征在于:所述A/O反應器(6)包括缺氧段(6a)和好氧段(6b),在所述缺氧段(6a) 底部安裝第三潛水攪拌器(61),在所述好氧段(6b)底部安裝有微孔曝氣頭(62),該微孔曝氣頭(62)通過氣管連接有羅茨風機(9),在所述缺氧段(6a)和好氧段(6b)的中部分別設有組合填料,所述好氧段(6b)的底部通過回流管與缺氧段(6a)接通,所述缺氧段(6a)的進水口與所述IC反應器(5)的出水口連通,所述好氧段(6b)的出水口與所述沉淀池(7)的進水口連通。
6.根據權利要求1、2或4所述的聚苯硫醚廢水處理系統,其特征在于:所述沉淀池(7)上部安裝斜管填料(71),所述沉淀池(7)的底部設有污泥泵 (72),該污泥泵(72)通過管路連接有污泥池(11)。
7.根據權利要求6所述的聚苯硫醚廢水處理系統,其特征在于:所述污泥池(11)的污泥出口連接有壓濾機(12)。
說明書
聚苯硫醚廢水處理系統
技術領域
本實用新型涉及一種污水處理系統,具體的說,涉及一種聚苯硫醚廢水處理系統。
背景技術
聚苯硫醚(PPS)合成廢水屬于高濃度有機廢水,是目前典型的難處理工業廢水的代表之一。該廢水具有水質波動較大、可生化性差、成分較復雜,含有大量苯環類、雜環類有機物且具有生物毒性的特征,單獨的采用生化法及物化法處理難以對其進行達標排放。
當前,傳統工藝中處理聚苯硫醚廢水的方法有二維電解法、三維電解法、活性污泥法、生物接觸氧化工藝、簡易生化處理工藝和膜生物反應器等,其中二維電解法、三維電解法均存在不同程度的污堵問題;其中活性污泥法的運行穩定性差,易發生污泥膨脹和流失,分離效果不理想;生物接觸氧化工藝抗沖擊負荷能力高,但是脫落的生物膜會造成出水中的懸浮固體濃度高;而簡易生化處理工藝,雖然造價低動力消耗低,但是出水COD、BOD等理化指標不能確保達標。
實用新型內容
為解決以上技術問題,本實用新型提供一種聚苯硫醚廢水處理系統。
技術方案如下:
一種聚苯硫醚廢水處理系統,其關鍵在于:包括依次連通的調節池、高級氧化池、水解酸化池、沉淀池和清水池,在所述水解酸化池和沉淀池之間連接有IC反應器,在所述沉淀池和IC反應器之間連接有A/O反應器。
采用以上技術方案的顯著效果是,調節池調節廢水水質、水量,高級氧化池對難降解的有機物進行裂解,特別是對聚合物、苯系化合物等物質能起到很好的裂解作用,降低了廢水的沖擊負荷,還為后續生化創造良好的進水環境,水解酸化池對水污染物進行酸化處理,為IC反應提供必要的揮發性脂肪酸,再通過IC反應器對高濃度的COD進行降解,A/O反應器通過缺氧、好氧交替處理保障出水水質。對聚苯硫醚廢水進行逐級處理,沖擊負荷逐級降低,保證了系統的穩定運行和優異的出水水質。
在上述調節池內設有格柵池,該格柵池與所述調節池連通,廢水經該格柵池流入所述調節池。采用以上技術方案,格柵池能攔截大粒徑懸浮物和漂浮物。
在上述高級氧化池底部安裝第一潛水攪拌機,所述高級氧化池通過管路連接有臭氧發生器,該臭氧發生器向所述高級氧化池內通入臭氧。采用以上技術方案,廢水與臭氧通過潛水攪拌器的混合充分反應,將難以生化處理的COD降解。
在上述水解酸化池底部安裝第二潛水攪拌機,在所述水解酸化池中部設有組合填料。采用以上技術方案,第二潛水攪拌機對水解酸化池內的廢水起到攪拌作用,提高廢水處理效果。
上述A/O反應器包括缺氧段和好氧段,在所述缺氧段底部安裝第三潛水攪拌器,在所述好氧段底部安裝有微孔曝氣頭,該微孔曝氣頭通過氣管連接有羅茨風機,在所述缺氧段和好氧段的中部分別設有組合填料,所述好氧段的底部通過回流管與缺氧段接通,所述缺氧段的進水口與所述IC反應器的出水口連通,所述好氧段的出水口與所述沉淀池的進水口連通。采用以上技術方案,缺氧、好氧交替處理保障出水水質。
上述沉淀池上部安裝斜管填料,所述沉淀池的底部設有污泥泵,該污泥泵通過管路連接有污泥池。采用以上技術方案,沉淀池底部的污泥通過污泥泵送入污泥池。
上述污泥池的污泥出口連接有壓濾機。采用以上技術方案,壓濾機對污泥池內的污泥進行處理。
有益效果:采用本實用新型的聚苯硫醚廢水處理系統,調節池調節廢水水質、水量,高級氧化池對難降解的有機物進行裂解,特別是對聚合物、苯系化合物等物質能起到很好的裂解作用,降低了廢水的沖擊負荷,還為后續生化創造良好的進水環境,水解酸化池對水污染物進行酸化處理,為IC反應提供必要的揮發性脂肪酸,再通過IC反應器對高濃度的COD進行降解,A/O反應器通過缺氧、好氧交替處理保障出水水質。對聚苯硫醚廢水進行逐級處理,沖擊負荷逐級降低,保證了系統的穩定運行和優異的出水水質。







