申請日2015.07.24
公開(公告)日2017.09.12
IPC分類號C02F9/08
摘要
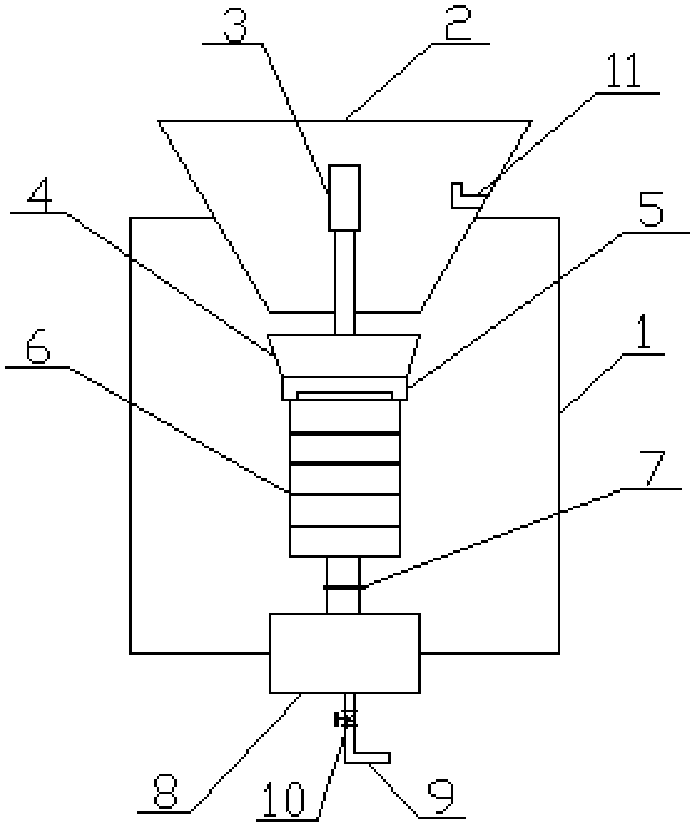
本發明公開了一種生活污水處理裝置,它包括裝置本體,所述裝置本體內設有沉淀水箱,所述沉淀水箱內中心位置處設有流水管,所述流水管密封穿過沉淀水箱底部并且與位于沉淀水箱下方進水器相連通,所述進水器通過噴嘴與下方的過濾器相連通,所述過濾器通過收水管與下方的儲水箱相連通。本發明具有占地面積小,使用方便,處理效果好,環保節能,運行成本低,適用范圍廣等特點。
權利要求書
1.生活污水處理裝置,它包括裝置本體,其特征在于:所述裝置本體內設有沉淀水箱,所述沉淀水箱內中心位置處設有流水管,所述流水管密封穿過沉淀水箱底部并且與位于沉淀水箱下方進水器相連通,所述進水器通過噴嘴與下方的過濾器相連通,所述過濾器通過收水管與下方的儲水箱相連通;
所述沉淀水箱的側壁上設有進水管,所述進水管設置在沉淀水箱內,并且開口為豎直朝上設置;
所述流水管為伸縮型流水管;所述過濾器內從上而下依次設有砂礫過濾層、活性炭吸附過濾層、陽離子樹脂交換過濾層、臭氧消毒過濾層及紫外線殺菌器;
所述儲水箱底端設有凈水出管,所述凈水出管上設有控制閥。
說明書
生活污水處理裝置
技術領域
本發明涉及污水處理設備技術領域,具體涉及一種生活污水處理裝置。
背景技術
水是生命之源,是萬物生存的根本保障。水資源短缺和水污染嚴重是當今世界所關注的主題。
對于生活污水處理,傳統的處理工藝是將污水通過沉淀池、平流池、過濾裝置、濃縮池、泥水分離裝置等來完成污水處理的全過程。其中,沉淀池是將污水在池中自然沉淀,使污水中的污物沉淀在池中底部,從而便于收集,但這種設備占用面積大,使用很不方便,且過濾效果不好,采用該方法進行生活污水處理,存在很大的局限性。因此,為了克服這些問題,需要提高一種新的技術方案來解決。
發明內容
針對以上現有技術中存在的問題,本發明提供了一種占地面積小,使用方便,處理效果好,環保節能,運行成本低,適用范圍廣的生活污水處理裝置。
本發明所要解決的技術問題采用以下技術方案來實現:
生活污水處理裝置,它包括裝置本體,其特征在于:所述裝置本體內設有沉淀水箱,所述沉淀水箱內中心位置處設有流水管,所述流水管密封穿過沉淀水箱底部并且與位于沉淀水箱下方進水器相連通,所述進水器通過噴嘴與下方的過濾器相連通,所述過濾器通過收水管與下方的儲水箱相連通。
作為優選實例,所述沉淀水箱的側壁上設有進水管,所述進水管設置在沉淀水箱內,并且開口為豎直朝上設置。
作為優選實例,所述流水管為伸縮型流水管。
作為優選實例,所述過濾器內從上而下依次設有砂礫過濾層、活性炭吸附過濾層、陽離子樹脂交換過濾層、臭氧消毒過濾層及紫外線殺菌器。
作為優選實例,所述儲水箱底端設有凈水出管,所述凈水出管上設有控制閥。
本發明的有益效果是:(1),使用方便,操作簡單,安全可靠,可行性強;(2)采用了沉淀后進行過濾,提高了過濾效果,縮短了過濾時間;(3)環保經濟,運行成本低;(4)適用范圍廣,使用壽命長。







