申請日2015.07.22
公開(公告)日2015.11.25
IPC分類號C02F1/52
摘要
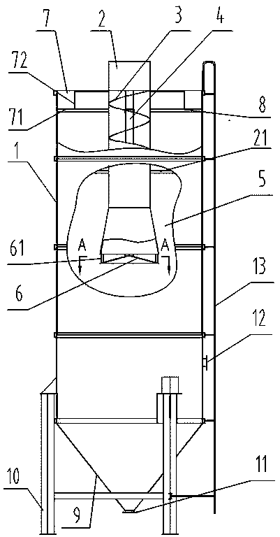
本發明公開了一種制砂污水處理塔,包括主塔體,通過固定部固設于主塔體內部的反應部,支撐主塔體的支撐部,所述主塔體底部為集料部,所述集料部的最底端開有帶連接部的反應物出口,所述主塔體靠近頂部邊緣開有使凈化清水流出的清水出口,其特征在于,所述反應部包括反應通道和螺旋軌道,所述螺旋軌道豎直安裝于反應通道內,使從反應通道上方流入的液體在反應通道中沿著螺旋軌道從上至下做螺旋流動,本發明制砂污水處理塔,在反應通道內裝有螺旋軌道,藥劑和污水通過螺旋軌道的引流,利用螺旋攪拌的原理使污水和藥劑在短時間內混合攪拌,提高反應時間快了3倍左右。
權利要求書
1.一種制砂污水處理塔,包括主塔體(1),通過固定部(21)固設于主塔體內部的反應部,支撐主塔體的支撐部(10),所述主塔體底部為集料部(9),所述集料部(9)的最底端開有帶連接部的反應物出口(11),所述主塔體靠近頂部邊緣開有使凈化清水流出的清水出口(73),其特征在于,所述反應部包括反應通道(2)和螺旋軌道(3),所述螺旋軌道(3)豎直安裝于反應通道(2)內,使從反應通道(2)上方流入的液體在反應通道(2)中沿著螺旋軌道(3)從上至下做螺旋流動。
2.如權利要求1所述的一種制砂污水處理塔,其特征在于,還包括從上至下貫通螺旋軌道(3)中心的清淤口(4)。
3.如權利要求1或2任一所述的一種制砂污水處理塔,其特征在于,還包括緩流部,所述反應通道(2)底端與降低水流速度的緩流部連接。
4.如權利要求3所述的一種制砂污水處理塔,其特征在于,所述緩流部為與反應通(2)道底部連接的放大口(5)。
5.如權利要求4所述的一種制砂污水處理塔,其特征在于,還包括分流板(6)和吊板(61),所述分流板(6)的外輪廓與放大口(5)底端出口形狀相仿大小相近,所述分流板(6)通過吊板(61)固設于靠近放大口(5)底端出口的正下方。
6.如權利要求5所述的一種制砂污水處理塔,其特征在于,所述分流板(6)為平板或椎尖朝上的椎體板。
7.如權利要求6所述的一種制砂污水處理塔,其特征在于,所述分流板(6)的錐角為120°~175°。
8.如權利要求7所述的一種制砂污水處理塔,其特征在于,所述分流板(6)的錐角為150°。
9.如權利要求1所述的一種制砂污水處理塔,其特征在于,還包括溢流槽(7),所述溢流槽(7)由主塔體(1)靠近上端口內側面、槽內壁(71)和槽底面(72)合圍而成,所述清水出口(73)位于槽底面(72)之上,使過濾后的清水從溢流槽(7)流出。
10.如權利要求9所述的一種制砂污水處理塔,其特征在于,還包括隔離網(8),所述隔離網(8)固設于槽內壁(71)與反應通道(2)合圍成的環狀空間中。
11.如權利要求1所述的一種制砂污水處理塔,其特征在于,還包括泄壓口(12)和梯子(13),所述泄壓口(12)設置于主塔體(1)靠近下端的外圓柱面上,所述梯子(13)從主塔體(1)底端延伸至頂端設置于該主塔體(1)外圓柱面上。
12.如權利要求1所述的一種制砂污水處理塔,其特征在于,所述主塔體(1)直徑為2500mm。
說明書
一種制砂污水處理塔
技術領域
本發明涉及一種制砂污水處理塔,屬于礦山污水處理技術領域。
背景技術
在用水洗方法的機制砂和水洗碎石的過程中會產生大量的污水,污水同過細砂回收裝置處理后,污水還是含有泥漿。傳統的處理方式是通過沉淀池逐級過濾、沉淀讓泥沙和水分離,這種方式占地面積多、沉淀時間長。目前,市場上沒有高效的機制砂和水洗碎石污水處理塔。
發明內容
本發明公開了一種制砂污水處理塔,以解決背景技術中提到的問題。
為了達到上述之目的,本發明采用如下具體技術方案:
一種制砂污水處理塔,包括主塔體,通過固定部固設于主塔體內部的反應部,支撐主塔體的支撐部,所述主塔體底部為集料部,所述集料部的最底端開有帶連接部的反應物出口,所述主塔體靠近頂部邊緣開有使凈化清水流出的清水出口,其特征在于,所述反應部包括反應通道和螺旋軌道,所述螺旋軌道豎直安裝于反應通道內,使從反應通道上方流入的液體在反應通道中沿著螺旋軌道從上至下做螺旋流動。
進一步的,還包括從上至下貫通螺旋軌道中心的清淤口。
進一步的,還包括緩流部,所述反應通道底端與降低水流速度的緩流部連接。
進一步的,所述緩流部為與反應通道底部連接的放大口。
進一步的,還包括分流板和吊板,所述分流板的外輪廓與放大口底端出口形狀相仿大小相近,所述分流板通過吊板固設于靠近放大口底端出口的正下方。
進一步的,所述分流板為平板或椎尖朝上的椎體板。
進一步的,所述分流板的錐角為120°~175°。
進一步的,所述分流板的錐角為150°。
進一步的,還包括溢流槽,所述溢流槽由主塔體靠近上端口內側面、槽內壁和槽底面合圍而成,所述清水出口位于槽底面之上,使過濾后的清水從溢流槽流出。
進一步的,還包括隔離網,所述隔離網固設于槽內壁與反應通道合圍成的環狀空間中。
進一步的,還包括泄壓口和梯子,所述泄壓口設置于主塔體靠近下端的外圓柱面上,所述梯子從主塔體底端延伸至頂端設置于該主塔體外圓柱面上。
進一步的,所述主塔體直徑為2500mm。
本發明與現有技術相比的優點是:
1、在反應通道內裝有有螺旋軌道,藥劑和污水通過螺旋軌道的引流,利用螺旋攪拌的原理使污水和藥劑在短時間內混合攪拌,提高反應時間快了3倍左右。
2、裝有隔離網,隔離網的作用是:1、能夠減緩水的流速,阻擋下方一部分上浮的絮凝狀懸浮物;2、能防止外界物體飄入、掉入反應塔,以免其堵住管道影響反應物的抽送;3、能保護工人在反應塔上的安全操作。
3、水流從小口進去經過緩流部流出,使水流在運動過程中流速減緩,讓藥劑和污泥有充分的時間進行反應沉淀,讓反應好的絮狀物在減緩的水流中不易被帶出水面。
4、經過緩流部初步反應好的絮狀物到達分流板時利用反射倒回減緩水流的原理來減慢了水流的速度,在這個過程中延長反應時間使水流從側邊溢出,利用分流板的角度改變水流方向,使水流帶著反應過的絮狀物從反應塔錐度口上方流下。優點1:水流不會直接沖擊到下方的沉淀物把凝結好的繁花沖碎;2:水流從周邊往下讓反應物在分流板下面沉淀,物、水分離比較徹底,清水溢出,濃漿沉淀底部抽出以達到壓榨的最佳效果;3:利用分流板角度改變的水流方向,延著錐口上方流下能起到沖洗塔底沉淀物結塊的難題,解決了常規反應塔在使用一段時間會產生物料結塊堵塞,要停機清理費時、費力的問題,達到了節能、高效的效果。
5、主塔體設計直徑為2500mm,一般的礦區道路平板車都能運送,便于運輸和安裝。由于主塔體直徑小,占地面積小能夠是靈活放置在場地各個地方。







