公布日:2024.02.23
申請日:2023.11.17
分類號:B01D29/56(2006.01)I;B01D29/64(2006.01)I;B01D29/94(2006.01)I
摘要
本發明涉及污水除砂技術領域,公開了一種污水處理用循環除砂裝置。該裝置包括裝置主體,裝置主體包括多個除砂組件,任一除砂組件一側設有污水進水口,另一側設有出砂口和污水出水口,任一除砂組件位于所述污水進水口與所述出砂口和污水出水口間均設有除砂機構,除砂機構包括篩網板及輸料機構,輸料機構用于將篩網板上端面處的砂石物料自污水進水口處輸送至出砂口處,相鄰的篩網板的篩孔口徑逐漸減小。本發明中,污水自裝置主體一側流動至裝置主體另一側的過程中,污水中的不同大小的砂石物料能夠被對應篩網板進行分篩,并經對應的輸料機構將分篩后的砂石物料自出砂口處排出,從而能夠較佳地實現該裝置對污水中砂石物料的濾除。

權利要求書
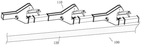
1.一種污水處理用循環除砂裝置,其特征在于:包括裝置主體(100),裝置主體(100)包括多個沿高度方向自上而下依次布置的除砂組件(110),任一除砂組件(110)沿水平方向的一側設有污水進水口(111),另一側設有呈上下布置的出砂口(113)和污水出水口(112),相鄰的除砂組件(110)間通過設置導流組件(220)、緩流組件(230)連通配合,導流組件(220)用于引導污水,緩流組件(230)用于減緩污水流速;任一除砂組件(110)位于所述污水進水口(111)與所述出砂口(113)間均設有除砂機構,除砂機構包括傾斜設置的篩網板(310)及設置于篩網板(310)上方處的輸料機構(400),輸料機構(400)用于將篩網板(310)上端面處的砂石物料自污水進水口(111)處輸送至出砂口(113)處,沿高度方向自上而下依次設置的篩網板(310)的篩孔口徑逐漸減小。
2.根據權利要求1所述的一種污水處理用循環除砂裝置,其特征在于:所述篩網板(310)上端面設置有多個擋料板(311),擋料板(311)的長度方向沿篩網板(310)長度方向布置,且擋料板(311)長度方向的兩端分別形成于污水進水口(111)處和出砂口(113)處,所述多個擋料板(311)沿篩網板(310)寬度方向均勻間隔布置,且相鄰的擋料板(311)間形成輸料槽(312),篩網板(310)的篩孔沿輸料槽(312)的長度方向布置,輸料機構(400)包括設置于篩網板(310)上方處的第一齒輪軸(410)和第二齒輪軸(420),第一齒輪軸(410)和第二齒輪軸(420)套設有履帶(430),履帶(430)內壁分別與第一齒輪軸(410)和第二齒輪軸(420)嚙合配合,履帶(430)外壁沿寬度方向設有刮料組(440),刮料組(440)沿履帶(430)外壁一周均勻間隔設置多組,刮料組(440)包括用于伸入對應輸料槽(312)內且用于對輸料槽(312)內的砂石物料進行刮除的刮料板(441),刮料板(441)朝向履帶(430)轉動方向的一側形成弧形面(441a),除砂組件(110)處設有用于驅動第一齒輪軸(410)轉動的第一驅動電機(250)。
3.根據權利要求2所述的一種污水處理用循環除砂裝置,其特征在于:所述刮料板(441)近輸料槽(312)底壁處且位于弧形面(441a)的一側形成有呈弧形狀的壓料部(442)。
4.根據權利要求2所述的一種污水處理用循環除砂裝置,其特征在于:所述刮料板(441)近輸料槽(312)底壁處且背離弧形面(441a)的一側形成有安裝豁口(443),安裝豁口(443)處設有刷料部,刷料部包括刷板(444),刷板(444)處設有用于與輸料槽(312)底壁進行刷除的刷毛(444a),安裝豁口(443)底壁形成有彈簧安裝槽,彈簧安裝槽自底壁朝向開口方向設有導向柱(445),刷板(444)可線性滑動地設置于導向柱(445)處,彈簧安裝槽處設有套設于導向柱(445)外壁處且對應端抵靠于刷板(444)對應壁處的壓縮彈簧(446),刷板(444)處的刷毛(444a)在壓縮彈簧(446)作用下保持與輸料槽(312)底壁配合。
5.根據權利要求1所述的一種污水處理用循環除砂裝置,其特征在于:所述出砂口(113)在高度方向上高于所述污水進水口(111),所述污水出水口(112)在高度方向上低于污水進水口(111)。
6.根據權利要求1所述的一種污水處理用循環除砂裝置,其特征在于:任一除砂組件(110)均包括除砂殼體(210),除砂殼體(210)包括內結構架(211)以及分別設置于內結構架(211)兩側的外封邊板(212),內結構架(211)與外封邊板(212)側壁邊緣均形成有安裝錨邊,內結構架(211)的安裝錨邊與外封邊板(212)的安裝錨邊通過螺栓配合,內結構架(211)與外封邊板(212)之間共同形成有污水進水段(320)、砂石上料段(330)、漏料區(340)及污水出水段(350),污水進水口(111)形成于污水進水段(320)進口處,出砂口(113)形成于砂石上料段(330)出口處,污水出水口(112)設置于污水出水段(350)的出口處,除砂機構設置于砂石上料段(330)處。
7.根據權利要求6所述的一種污水處理用循環除砂裝置,其特征在于:污水進水段(320)位于進水點的截面積大于污水進水段(320)位于出水點的截面積。
8.根據權利要求1所述的一種污水處理用循環除砂裝置,其特征在于:導流組件(220)包括用于接入對應污水出水口(112)處的導流殼體(510),導流殼體(510)內形成有用于連通對應污水出水口(112)的導流槽(511),導流槽(511)處設有導流軸(520),導流軸(520)通過支架結構軸向固定周向可轉動地設置于導流槽(511)處,導流軸(520)外壁沿周向均勻布置有導流葉片(530),支架結構處對應形成有驅動槽,導流軸(520)位于驅動槽的對應端安裝有第一齒輪(540),導流殼體(510)外壁處安裝有第二驅動電機(550),第二驅動電機(550)的輸出軸安裝有第二齒輪(560),第一齒輪(540)和第二齒輪(560)通過齒帶(570)傳動。
9.根據權利要求8所述的一種污水處理用循環除砂裝置,其特征在于:緩流組件(230)包括用于接入對應導流殼體(510)處的緩流殼體(610),緩流殼體(610)內形成有用于連通在對應導流槽(511)和污水進水口(111)的緩流槽(611),緩流槽(611)沿污水流動方向設有多個交錯設置的緩流板(612)。
10.根據權利要求1所述的一種污水處理用循環除砂裝置,其特征在于:裝置主體(100)一側設置有砂石收集池(120),任一除砂組件(110)位于相應出砂口(113)處均設有安裝板(213),安裝板(213)處安裝有出料組件(240),出料組件(240)包括出料殼體(710),出料殼體(710)長度方向沿安裝板(213)長度方向布置,出料殼體(710)內沿長度方向形成有出料槽(711),出料槽(711)一端對應壁處形成有進料口(711a),出料槽(711)另一端對應壁處形成有出料口(711b),進料口(711a)對應出砂口(113)設置,出料口(711b)的出料點對應砂石收集池(120)設置,出料槽(711)沿長度方向布置軸向固定周向可轉動地設置有螺旋輸送葉片(750),出料殼體(710)一側設有驅動螺旋輸送葉片(750)轉動的第三驅動電機(720),螺旋輸送葉片(750)在第三驅動電機(720)的作用下用于將進料口(711a)處的砂石物料輸送至出料口(711b)處,除砂組件(110)位于出砂口(113)和進料口(711a)處設有導料斗(730),導料斗(730)上方開口配合于除砂組件(110)的出砂口(113)處,導料斗(730)下方開口配合于進料口(711a)處,除砂組件(110)位于出料口(711b)處設有出砂殼體(740),出砂殼體(740)沿長度方向形成有出砂段(741),出砂段(741)的出砂點設置于砂石收集池(120)的上方。
發明內容
本發明的目的在于:為了解決上述問題,而提出的一種污水處理用循環除砂裝置。
為了實現上述目的,本發明采用了如下技術方案:
一種污水處理用循環除砂裝置,其包括裝置主體,裝置主體包括多個沿高度方向自上而下依次布置的除砂組件,任一除砂組件沿水平方向的一側設有污水進水口,另一側設有呈上下布置的出砂口和污水出水口,相鄰的除砂組件間通過設置導流組件、緩流組件連通配合,導流組件用于引導污水,緩流組件用于減緩污水流速;
任一除砂組件位于所述污水進水口與所述出砂口間均設有除砂機構,除砂機構包括傾斜設置的篩網板及設置于篩網板上方處的輸料機構,輸料機構用于將篩網板上端面處的砂石物料自污水進水口處輸送至出砂口處,沿高度方向自上而下依次設置的篩網板的篩孔口徑逐漸減小。
優選地,所述篩網板上端面設置有多個擋料板,擋料板的長度方向沿篩網板長度方向布置,且擋料板長度方向的兩端分別形成于污水進水口處和出砂口處,所述多個擋料板沿篩網板寬度方向均勻間隔布置,且相鄰的擋料板間形成輸料槽,篩網板的篩孔沿輸料槽的長度方向布置,輸料機構包括設置于篩網板上方處的第一齒輪軸和第二齒輪軸,第一齒輪軸和第二齒輪軸套設有履帶,履帶內壁分別與第一齒輪軸和第二齒輪軸嚙合配合,履帶外壁沿寬度方向設有刮料組,刮料組沿履帶外壁一周均勻間隔設置多組,刮料組包括用于伸入對應輸料槽內且用于對輸料槽內的砂石物料進行刮除的刮料板,刮料板朝向履帶轉動方向的一側形成弧形面,除砂組件處設有用于驅動第一齒輪軸轉動的第一驅動電機。
優選地,所述刮料板近輸料槽底壁處且位于弧形面的一側形成有呈弧形狀的壓料部。
優選地,所述刮料板近輸料槽底壁處且背離弧形面的一側形成有安裝豁口,安裝豁口處設有刷料部,刷料部包括刷板,刷板處設有用于與輸料槽底壁進行刷除的刷毛,安裝豁口底壁形成有彈簧安裝槽,彈簧安裝槽自底壁朝向開口方向設有導向柱,刷板可線性滑動地設置于導向柱處,彈簧安裝槽處設有套設于導向柱外壁處且對應端抵靠于刷板對應壁處的壓縮彈簧,刷板處的刷毛在壓縮彈簧作用下保持與輸料槽底壁配合。
優選地,所述出砂口在高度方向上高于所述污水進水口,所述污水出水口在高度方向上低于污水進水口。
優選地,任一除砂組件均包括除砂殼體,除砂殼體包括內結構架以及分別設置于內結構架兩側的外封邊板,內結構架與外封邊板側壁邊緣均形成有安裝錨邊,內結構架的安裝錨邊與外封邊板的安裝錨邊通過螺栓配合,內結構架與外封邊板之間共同形成有污水進水段、砂石上料段、漏料區及污水出水段,污水進水口形成于污水進水段進口處,出砂口形成于砂石上料段出口處,污水出水口設置于污水出水段的出口處,除砂機構設置于砂石上料段處。
優選地,污水進水段位于進水點的截面積大于污水進水段位于出水點的截面積。
優選地,導流組件包括用于接入對應污水出水口處的導流殼體,導流殼體內形成有用于連通對應污水出水口的導流槽,導流槽處設有導流軸,導流軸通過支架結構軸向固定周向可轉動地設置于導流槽處,導流軸外壁沿周向均勻布置有導流葉片,支架結構處對應形成有驅動槽,導流軸位于驅動槽的對應端安裝有第一齒輪,導流殼體外壁處安裝有第二驅動電機,第二驅動電機的輸出軸安裝有第二齒輪,第一齒輪和第二齒輪通過齒帶傳動。
優選地,緩流組件包括用于接入對應導流殼體處的緩流殼體,緩流殼體內形成有用于連通在對應導流槽和污水進水口的緩流槽,緩流槽沿污水流動方向設有多個交錯設置的緩流板。
優選地,裝置主體一側設置有砂石收集池,任一除砂組件位于相應出砂口處均設有安裝板,安裝板處安裝有出料組件,出料組件包括出料殼體,出料殼體長度方向沿安裝板長度方向布置,出料殼體內沿長度方向形成有出料槽,出料槽一端對應壁處形成有進料口,出料槽另一端對應壁處形成有出料口,進料口對應出砂口設置,出料口的出料點對應砂石收集池設置,出料槽沿長度方向布置軸向固定周向可轉動地設置有螺旋輸送葉片,出料殼體一側設有驅動螺旋輸送葉片轉動的第三驅動電機,螺旋輸送葉片在第三驅動電機的作用下用于將進料口處的砂石物料輸送至出料口處,除砂組件位于出砂口和進料口處設有導料斗,導料斗上方開口配合于除砂組件的出砂口處,導料斗下方開口配合于進料口處,除砂組件位于出料口處設有出砂殼體,出砂殼體沿長度方向形成有出砂段,出砂段的出砂點設置于砂石收集池的上方。
綜上所述,由于采用了上述技術方案,本發明的有益效果是:
1、本發明中,污水能夠自裝置主體一側的污水進水口流動至裝置主體另一側的污水出水口過程中,對應的除砂組件處的篩網板能夠對污水中砂石進行濾除,并經過輸料機構將對應除砂組件處的砂石物料進行輸送至出砂口排出,從而實現該裝置較為高效地對污水中砂石的進行濾除處理;其中,導流組件用于對污水進行導流,以避免砂石過多時導致污水的流動性較差;其中,緩流組件用于減緩污水的流動速度,由于除砂組件間自高而下布置,污水經上一除砂組件處理后自相應污水出水口處排出時具有較大的初速度,這會使得下一除砂組件處的除砂機構因砂石積累過多而導致除砂效果不佳,故而對污水在進入下一除砂組件的污水進水口之前對污水的流速進行減緩,以使得下一除砂組件處的除砂機構的除砂效果較好。
2、本發明中,污水自污水進水口進入除砂組件內后,對應篩網板能夠對污水中顆粒大小不滿足于篩網板篩孔口徑的砂石進行濾除在相應的輸料槽內,此過程中,第一驅動電機工作,使得第一齒輪軸和第二齒輪軸帶動履帶進行轉動,從而實現刮料板在履帶轉動的作用下對輸料槽的砂石進行刮動并輸送至出砂口處排出;其中,刮料板設置弧形面,故能夠較好地對輸料槽處的砂石進行刮動;其中,設置多排輸料槽的目的在于避免過多的砂石在刮料板刮動過程中對刮料板造成損壞,以保證除砂機構的正常運行。
3、本發明中,若存在砂石卡于對應篩網板篩孔處的情形,壓料部能夠對此進行處理,壓料部能夠擠壓砂石并迫使砂石穿過篩孔,從而避免篩網板篩孔發生堵塞而導致濾除效果較差。
4、本發明中,通過上述構造,刷板處的刷毛能夠對輸料槽底壁處存雜的較小砂石進行處理,以避免較小砂石與較大砂石間進行相互作用導致篩網板篩孔的堵塞;其中,刷板處的刷毛能夠在壓縮彈簧的作用下于一較佳的力度與輸料槽的底壁配合,以使刷毛的刷除效果較好。
5、本發明中,污水的最高水位不高于篩網板的出料點,這使得輸料機構在輸料過程中污水能夠較為完全地自篩網板篩孔處的滴落,從而較佳地實現對于污水中砂石的濾除。
(發明人:韓超;梁利朋;汪智飛;楊文濤)






