申請日2015.07.07
公開(公告)日2015.12.02
IPC分類號C02F9/02
摘要
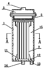
本實用新型公開了一種長方體污水催化裝置,包括殼體和陶瓷膜濾芯,所述殼體和陶瓷膜濾芯均為截面為正方形的長方體,殼體上端設有端蓋,端蓋上設有進水口,端蓋下方設有過濾網,過濾網與殼體上端活動連接;所述陶瓷膜濾芯內設有截面為正方形的孔道,孔道內表面設有陶瓷膜,孔道內插設有中空柱狀的中空纖維無機膜;所述中空纖維無機膜的上端設有內通道封頭,中空纖維無機膜的下端設有膜間隙封頭,所述的陶瓷膜濾芯上、下兩端均設有密封圈,密封圈設置在環形凹槽內,本實用新型在進水口處設有濾網,能攔截固體顆粒物,避免其撞擊陶瓷膜,造成陶瓷膜的損壞;增加了過濾膜面積,提高了過濾效率;增加了過濾通量,改善堵孔,減輕了反沖洗難度。
權利要求書
1.一種長方體污水催化裝置,包括殼體(1)和陶瓷膜濾芯(2),其特征在于:所述殼體(1)和陶瓷膜濾芯(2)均為截面為正方形的長方體結構,所述殼體(1)上端設有端蓋(3),端蓋(3)上設有進水口(4),端蓋(3)下方設有過濾網(5),過濾網(5)與殼體(1)上端活動連接;所述陶瓷膜濾芯(2)內設有截面為正方形的孔道(6),孔道(6)內表面設有陶瓷膜,孔道(6)內插設有中空柱狀的中空纖維無機膜(7);所述陶瓷膜濾芯(2)的外表面設有納米修飾層(8),所述中空纖維無機膜(7)的上端設有內通道封頭(9),中空纖維無機膜(7)的下端設有膜間隙封頭(10),所述陶瓷膜濾芯(2)上、下兩端均設有密封圈(11),密封圈(11)設置在環形凹槽(12)內。
2.根據權利要求1所述的長方體污水催化裝置,其特征在于,所述中空纖維無機膜(7)的外表面與孔道(6)的內壁相切。
3.根據權利要求1所述的長方體污水催化裝置,其特征在于,所述殼體(1)的下部設有出水口(13)和沖洗口(14)。
4.根據權利要求3所述的長方體污水催化裝置,其特征在于,所述出水口(13)分別與殼體(1)和陶瓷膜濾芯(2)的間隙(15)、中空纖維無機膜(7)的內通道(16)連通。
5.根據權利要求1所述的長方體污水催化裝置,其特征在于,所述孔道(6)呈矩陣式分布。
說明書
一種長方體污水催化裝置
技術領域
本實用新型涉及污水處理領域,具體是一種長方體污水催化裝置。
背景技術
隨著工業的迅速發展,廢水的種類和數量迅猛增加,對水體的污染也日趨嚴重,目前在處理工業廢水中常常采用無機膜來實現對污水的處理,而水體中含有的泥沙等固體顆粒會對無機膜造成損壞,導致污水處理效果降低,無機膜使用壽命減短;目前所使用的無機膜支撐材料大多設置為帶蜂窩狀孔道的圓術體,其過濾通量有效,不能在有限的體積下發揮更好的過濾效果,需要對現有支撐材料的結構進行改良。
實用新型內容
本實用新型的目的在于提供一種能有效防止陶瓷膜被水中固體顆粒物損壞、使用壽命長、過濾通量大、過濾效果好的長方體污水催化裝置,以解決上述背景技術中提出的問題。
為實現上述目的,本實用新型提供如下技術方案:
一種長方體污水催化裝置,包括殼體和陶瓷膜濾芯,所述殼體和陶瓷膜濾芯均為截面為正方形的長方體結構,所述殼體上端設有端蓋,端蓋上設有進水口,端蓋下方設有過濾網,過濾網與殼體上端活動連接;所述陶瓷膜濾芯內設有截面為正方形的孔道,孔道內表面設有陶瓷膜,孔道內插設有中空柱狀的中空纖維無機膜;所述陶瓷膜濾芯的外表面設有納米修飾層,所述中空纖維無機膜的上端設有內通道封頭,中空纖維無機膜的下端設有膜間隙封頭,所述陶瓷膜濾芯上、下兩端均設有密封圈,密封圈設置在環形凹槽內。
作為本實用新型進一步的方案:所述中空纖維無機膜的外表面與孔道的內壁相切。
作為本實用新型再進一步的方案:所述殼體的下部設有出水口和沖洗口。
作為本實用新型再進一步的方案:所述出水口分別與殼體和陶瓷膜濾芯的間隙、中空纖維無機膜的內通道連通。
作為本實用新型再進一步的方案:所述孔道呈矩陣式分布。
與現有技術相比,本實用新型的有益效果是:本實用新型結構簡單、設計合理,在進水口處的殼體一端設有可拆卸的過濾網,能夠有效過濾污水中的固體顆粒物,避免了固體顆粒物在水流作用下對陶瓷膜造成損傷從而影響過濾效果的現象,提高了陶瓷膜的使用壽命;陶瓷膜濾芯和孔道均設為截面為正方形的長方體,且孔道內設有中空纖維無機膜,中空纖維無機膜的外壁與孔道內壁相切,使得孔道能很好的支撐中空纖維無機膜,而孔道內壁的陶瓷膜和中空纖維無機膜的外壁均能過濾污水,與傳統的圓術體的支撐結構相比,大大提高了有效過濾膜面積,盡管長方體結構增加了水過濾過程中的排出阻力,但是由于膜面積的增加,反而使得總過濾通量加大,從而能夠提高污水催化速率;納米修飾層的設置能夠增加陶瓷膜濾芯支撐體的強度,使得陶瓷膜濾芯內毛細孔孔壁變光滑,減少流通阻力,改善堵孔,減輕反沖洗難度。







