申請日2015.07.23
公開(公告)日2015.10.14
IPC分類號C02F9/04
摘要
本發明公開了一種綠色高效鍋爐給水處理系統,涉及水處理領域。該系統包括過濾裝置和阻垢除垢器,阻垢除垢器進水口連接過濾裝置,出水口可連接鍋爐設備,也可連接冷卻水池循環凈化水質。所述阻垢除垢器包括蓋體、桶體、插板、進水口、出水口、底座支架、納米防垢金屬陶瓷層、活化延時納米陶瓷層、孔板、孔板支架,阻垢器分為左右兩個腔室,左腔室使水成為活化水,右腔室保持活化水時間。本發明產生出活化水,降低水的表面張力,改變水的Hp值,阻垢、除垢、殺菌、除藻、除氧、防腐、水質凈化、煙氣脫硝等功能,有效保護循環水及鍋爐管道,幾倍延長其使用壽命,不耗費電能,真正做到了系統的免維護,綠色環保。
權利要求書
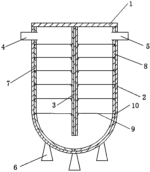
1.一種綠色高效鍋爐給水處理系統,其特征在于:該系統包括過濾裝 置和阻垢除垢器,所述阻垢除垢器包括蓋體(1)、桶體(2)、插板(3)、 進水口(4)、出水口(5)、底座支架(6)、納米防垢金屬陶瓷層(7)、活 化延時納米陶瓷層(8)、孔板(9)、孔板支架(10);所述桶體(2)上設 有蓋體(1),桶體(2)下設有若干個底座支架(6);所述桶體(2)上部 的左側設有進水口(4)連接過濾裝置,右側設有出水口(5);所述插板(3) 設置在桶體(2)中間,將桶體(2)內部分隔成左右兩個腔室,插板(3) 距桶體(2)最底部有空隙;所述孔板支架(10)有若干個,分別設置在插 板(3)左右側壁及桶體(2)的左右側壁上;所述孔板(9)設置在孔板支 架(10)上,孔板(9)上有若干個孔洞;所述左腔室的桶體(2)側壁、 插板(3)左側壁、孔板(9)上下面及孔壁均設有納米防垢金屬陶瓷層(7); 所述右腔室的桶體(2)側壁、插板(3)右側壁、孔板(9)上下面及孔壁 均設有活化延時納米陶瓷層(8)。
2.根據權利要求1所述的一種綠色高效鍋爐給水處理系統,其特征在 于:所述出水口(5)連接鍋爐設備,或者連接冷卻水池,用于鍋爐及循環 凈化水質。
3.根據權利要求1所述的一種綠色高效鍋爐給水處理系統,其特征在 于:所述插板(3)距桶體(2)最底部的空隙的高度為桶體(2)深度的1/4~ 1/6。
4.根據權利要求1所述的一種綠色高效鍋爐給水處理系統,其特征在 于:所述孔板(9)上的孔洞的直徑為1~5mm。
5.根據權利要求1所述的一種綠色高效鍋爐給水處理系統,其特征在 于:所述納米防垢金屬陶瓷層(7)和活化延時納米陶瓷層(8)均為粉末 材料。
說明書
一種綠色高效鍋爐給水處理系統
技術領域
本發明涉及水處理領域,具體涉及一種綠色高效鍋爐給水處理系統。
背景技術
中國是個極度缺水的國家,資料顯示,我國人口占世界人口總量的22%,而水資源卻只有世界的8%,我國人均水資源占有量僅相當于世界人均水資源占有量的1/4,位列世界第121位,是聯合國認定的水資源緊缺國家。不僅如此,在全國范圍內水資源的分布嚴重不均,從東北向西南遞減,占全國面積1/3的長江以南地區擁有全國4/5的水量,而面積龐大的北方地區只擁有不足1/5的水量。據國家統計局數據顯示,2011年全國工業廢水排放總量為230.87億立方,其中有循環水排污量占到80%。也就是說每天循環水排放量5060萬立方,數目驚人,耐人尋味。水質處理問題成為急需解決的重要難題。
水垢是水質處理的一個關鍵問題,水垢通常膠結于容器或管道表面。首先,水垢導熱性很差,會導致受熱面傳熱情況惡化,大大降低了傳熱效率,0.6mm的薄垢就可以使傳熱系數降低20%,從而浪費燃料或電力。其次,水垢如果膠結于熱水器或鍋爐內壁,還會由于熱脹冷縮和受力不均,極大的增加熱水器和鍋爐爆裂甚至爆炸的危險性。最后,水垢膠結時,也常常會附著大量重金屬離子,如果該容器用于盛裝飲用水,會有重金屬離子過多溶于飲水的風險。因此,水垢的危害是顯而易見的。
目前常用的鍋爐給水處理技術包括反滲透技術、離子交換技術、化學 軟化技術、除氧技術等。
反滲透技術是膜分離技術的一種,其原理是在高于溶液滲透壓的壓力下,借助只允許水分子透過的反滲透膜的選擇截留作用,將溶液中的溶質與溶劑分離,從而達到凈水的目的。這種技術對于水中的鈣、鎂離子及懸浮物等的去除效率較高,但是這種技術對于進水的壓力、溫度、pH值、鹽度等的指標要求較高,而且對于溶解性的鹽類的去除效果低,產生污染性極高,是極難處理的高鹽水;反滲透膜經過使用后需要定期清洗和更換,防止因為膜長期使用被懸浮物阻塞而失去作用,此辦法一般為噸軟水在6-10元。關鍵是四分之一的濃鹽水處理費用很高,閃蒸法一般在上百元每噸的處理費用。而有些企業無力處理則形成了偷排或關門。
離子交換技術是指用特定的離子交換樹脂,以鈉離子將水中的鈣、鎂離子置換出來,避免了隨溫度的升高而造成水垢生成的情況。此種技術運行穩定,效果明顯,但是會產生再生廢液,并且耗鹽量高,此外還會產生大量的高鹽廢水腐蝕管道,造成安全隱患。離子交換樹脂在經過再生后會將吸收的雜質排出,同時還會排出大量的再生液和再生后產物,同樣需要進一步的處理,造成環境污染及企業高昂的處理成本。
化學軟化技術是指向水中加入專用的緩蝕劑、絮凝劑、阻垢劑及其他輔助劑,使鈣、鎂離子及腐蝕性的鹽類與藥劑形成沉淀從水中剝離,或者形成絡合物增加其在水中的溶解度,從而去除水中的鈣、鎂離子,降低水垢形成的可能。化學軟化技術引進了新的物質,會在水中產生新的雜質離子,這就為后續的處理帶來了新的問題。
除氧技術是指在運用熱力、真空、化學等方法去除水中的溶解氧的技 術。經過除氧后可以減少鍋爐的腐蝕。熱力除氧是指將鍋爐水煮沸,使氧及其他氣體從水中逸出,此法操作簡便,但是會增加設備及能源成本。真空除氧是指將水在真空下低溫沸騰,此法對于設備要求較高,需要增加真空設備和加熱設備,另外對于鍋爐的強度有較高的要求。化學除氧是指向鍋爐水中添加鐵、亞硫酸鈉、聯氨等還原性物質將水中的溶解氧除去,此法的除氧效果不甚可靠,而且還會產生難處理的副產物,會增加鍋爐水的含鹽量,浪費熱量,增加運行成本。
發明內容
本發明所要解決的技術問題是提供一種有效除垢、阻垢、緩釋、除氧、殺菌的一種綠色高效鍋爐給水處理系統。
為解決上述技術問題,本發明所采取的技術方案是:
一種綠色高效鍋爐給水處理系統,該系統包括過濾裝置和阻垢除垢器,所述阻垢除垢器包括蓋體、桶體、插板、進水口、出水口、底座支架、納米防垢金屬陶瓷層、活化延時納米陶瓷層、孔板、孔板支架;所述桶體上設有蓋體,桶體下設有若干個底座支架;所述桶體上部的左側設有進水口連接過濾裝置,右側設有出水口;所述插板設置在桶體中間將桶體內部分隔成左右兩個腔室,插板距桶體最底部有空隙;所述孔板支架有若干個,分別設置在插板左右側壁及桶體的左右側壁上;所述孔板設置在孔板支架上,孔板上有若干個孔;所述左腔室的桶體側壁、插板左側壁、孔板上下面及孔壁均設有納米防垢金屬陶瓷層;所述右腔室的桶體側壁、插板右側壁、孔板上下面及孔壁均設有活化延時納米陶瓷層。
進一步的技術方案在于:所述出水口連接鍋爐設備,或者冷卻水池, 用于鍋爐及循環凈化水質。
進一步的技術方案在于:所述插板距桶體最底部的空隙的高度為桶體深度的1/4~1/6。
進一步的技術方案在于:所述孔板上孔的直徑為1~5mm。
進一步的技術方案在于:所述納米防垢金屬陶瓷層和活化延時納米陶瓷層均為粉末材料。
采用上述技術方案所產生的有益效果在于:
1、除垢、溶垢、阻垢功能以完全取代循環水藥劑中的阻垢成份;
2、具備優良的除氧功能以完全取代循環水及鍋爐中的除氧成份,有效保護循環水及鍋爐管道,幾倍延長其使用壽命;
3、高效殺菌性能,殺菌率可以達到90%以上,有效去除或抑制換熱器附著的粘泥,可以完全取代循環水藥劑中的殺菌劑成份;
4、不耗費電能,真正做到了循環水系統的免維護,綠色環保。







