申請日2015.07.22
公開(公告)日2015.12.09
IPC分類號F23G7/00
摘要
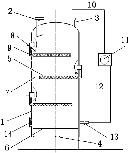
本實用新型公開了一種控制精準的多級污泥焚燒爐,所述多級污泥焚燒爐的爐體頂部設有進料口和排氣口,爐體內的不同高度上設有多道爐床篩網,爐床篩網的一端設有排料口,相鄰的兩道爐床篩網的排料口分別設置在左、右兩端,爐體的底部設有封閉式爐床,爐床篩網的側方的爐體上設有噴氣管路,噴氣管路設置在排料口的對側,所述的噴氣管路的下方設有稱重裝置連接爐床篩網上;本實用新型通過噴氣管路與帶有稱重裝置的爐床篩網相配合,通過氣流的推動力將污泥顆粒進行轉運,控制精準,方便污泥顆粒的完全專業,由于本身是氣流轉運,沒有其他設備與污泥相接觸,爐體內沒有污泥殘留,方便清理工作,提高了焚燒爐整體的工作效率。
權利要求書
1.一種控制精準的多級污泥焚燒爐,所述的多級污泥焚燒爐為圓柱形的爐體,爐體的頂部設有進料口和排氣口,爐體的底部設有加熱層,其特征在于,所述的爐體內的不同高度上設有多道爐床篩網,爐床篩網的一端設有排料口,相鄰的兩道爐床篩網的排料口分別設置在左、右兩端,爐體的底部設有封閉式爐床,所述的爐床篩網的側方的爐體上設有噴氣管路,噴氣管路設置在排料口的對側,所述的噴氣管路的下方設有稱重裝置連接爐床篩網上,所述的噴氣管路上設有電磁閥,所述的電磁閥和稱重裝置通過線路連接在控制臺上。
2.根據權利要求1所述的控制精準的多級污泥焚燒爐,其特征在于,所述的排氣口上設有回流管路連接在氣體回收槽上,所述的氣體回收槽通過多道分支管路分別連接在不同高度的噴氣管路上。
3.根據權利要求2所述的控制精準的多級污泥焚燒爐,其特征在于,所述爐體的下部設有進氣口,所述的進氣口連接在氣體回收槽上。
4.根據權利要求1所述的控制精準的多級污泥焚燒爐,其特征在于,所述的噴氣管路的安裝高度高于爐床篩網5~10cm。
5.根據權利要求3所述的控制精準的多級污泥焚燒爐,其特征在于,所述的封閉式爐床的側方設有排渣口,所述的排渣口設置在進氣口的對側。
說明書
控制精準的多級污泥焚燒爐
技術領域
本實用新型涉及污水和污泥的回收和再利用領域,尤其涉及一種控制精準的多級污泥焚燒爐。
背景技術
污泥焚燒是污泥處理的一種工藝。它利用焚燒爐將脫水污泥加溫干燥,再用高溫氧化污泥中的有機物,使污泥成為少量灰燼。方便去除污泥中的有害物質,有利于污泥的再次利用。
在多級污泥焚燒爐處理污泥的過程中,污泥在焚燒爐內的不同爐床上進行分別處理,由于爐床本身的安裝高度不一樣,因此不同爐床的處理溫度也不一樣,方便污泥在不同溫度下進行綜合處理,工作效率較高;但是在實際操作過程中,污泥需要在不同的爐床上進行轉移,由于本身爐體為密封的,當操作完成后,操作人員很難判斷上層爐床上的污泥完全轉移到下層爐床上;同時由于轉移過程中需要相關的輔助攪動設備,污泥在轉移過程中容易殘留在攪動設備上,最終這些污泥顆粒殘留在爐體內,清理和維護起來很不方便。
實用新型內容
針對上述存在的問題,本實用新型目的在于提供一種結構簡單,方便污泥轉移,控制精準,方便清理和維護的多級污泥焚燒爐。
為了達到上述目的,本實用新型采用的技術方案如下:一種控制精準的多級污泥焚燒爐,所述的多級污泥焚燒爐為圓柱形的爐體,爐體的頂部設有進料口和排氣口,爐體的底部設有加熱層,所述的爐體內的不同高度上設有多道爐床篩網,爐床篩網的一端設有排料口,相鄰的兩道爐床篩網的排料口分別設置在左、右兩端,爐體的底部設有封閉式爐床,所述的爐床篩網的側方的爐體上設有噴氣管路,噴氣管路設置在排料口的對側,所述的噴氣管路的下方設有稱重裝置連接爐床篩網上,所述的噴氣管路上設有電磁閥,所述的電磁閥和稱重裝置通過線路連接在控制臺上。
作為本實用新型的一種改進,所述的排氣口上設有回流管路連接在氣體回收槽上,所述的氣體回收槽通過多道分支管路分別連接在不同高度的噴氣管路上;通過氣體回收槽回收焚燒爐中所產生的廢氣,去除廢氣中的有害氣體,同時由于廢氣中本身含有較多的熱能,因此將高熱的廢氣用于噴氣管路的輔助噴射氣流,避免低溫氣流對爐體環境的影響,同時達到能量的綜合利用。
作為本實用新型的一種改進,所述爐體的下部設有進氣口,所述的進氣口連接在氣體回收槽上;進氣口主要為爐體內供應氣流和焚燒用的氧氣,為了提高廢氣中熱能的利用率,將高熱的廢氣與新鮮空氣相混合,再次導入到焚燒爐中,節約能耗。
作為本實用新型的一種改進,所述的噴氣管路的安裝高度高于爐床篩網5~10cm;噴氣管路的主要作用是將爐床篩網上的污泥顆粒吹入下一層,因此其安裝高度不宜過高,同時由于噴氣管路噴射的為扇形氣流,污泥轉運方便。
作為本實用新型的一種改進,所述的封閉式爐床的側方設有排渣口,所述的排渣口設置在進氣口的對側;通過排渣口和進氣口的組合作用,將爐體底部的未燃燒的污泥顆粒全部排出,操作簡單方便,清理效果好。
本實用新型的優點在于:本實用新型通過噴氣管路與帶有稱重裝置的爐床篩網相配合,通過氣流的推動力將污泥顆粒進行轉運,提高了焚燒爐內的轉運的工作效率,由于本身是氣流轉運,沒有其他設備與污泥相接觸,爐體內不存在任何死角,爐體內沒有污泥殘留,方便后期的清理和維護工作;同時本身通過稱重裝置進行精準控制,方便操作人員及時打開或關閉噴氣管路,保證了污泥能完全轉運,提高了焚燒爐整體的工作效率。







