申請日2013.08.19
公開(公告)日2013.12.04
IPC分類號C02F9/14
摘要
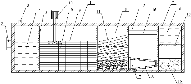
本發明公開了高效污水處理箱,包括箱體,箱體一端開有污水進口,箱體內設有多塊隔板,每塊隔板將箱體依次分隔成酸化池、氧化池、沉淀池和凈化室,酸化池頂部開有氧氣進管,氧化池底部設有填料,氧化池頂部設有曝氣機,沉淀池內設有多根斜管,多根斜管從上到下依次疊加,沉淀池和凈化室之間增加烘干室,凈化室通過擋板分隔成消毒區和污泥區,消毒區通過管道與沉淀池上部連接,污泥區與烘干室連通。箱體依次分隔成酸化池、氧化池、沉淀池、烘干室和凈化室,酸化能將難生物降解的有機物轉變為易生物降解的有機物,隨后進入氧化池進行凈化處理,最后沉淀分類,污水中的污泥進行烘干用于其它工業上,水層進行下一步的消毒,水質更干凈。
權利要求書
1.高效污水處理箱,包括箱體,所述箱體一端開有污水進口,其特征在于:所述箱體內設有多塊隔板,每塊隔板將箱體依次分隔成酸化池、氧化池、沉淀池和凈化室,所述酸化池頂部開有氧氣進管,所述氧化池底部設有填料,所述氧化池頂部設有曝氣機,所述沉淀池內設有多根斜管,多根斜管從上到下依次疊加,所述沉淀池和凈化室之間增加烘干室,所述凈化室通過擋板分隔成消毒區和污泥區,所述消毒區通過管道與沉淀池上部連接,所述污泥區與烘干室連通。
2.根據權利要求1所述的高效污水處理箱,其特征在于:所述填料采用爐渣或玻璃鋼。
3.根據權利要求1所述的高效污水處理箱,其特征在于:所述烘干室具有烘干管道,所述烘干管道內設有多根加熱管,所述污泥區與烘干室通過烘干管道連通。
4.根據權利要求1所述的高效污水處理箱,其特征在于:所述烘干管道的形狀為錐形。
說明書
高效污水處理箱
技術領域
本發明涉及一種高效污水處理箱。
背景技術
工業廢水是指工業生產過程中產生的廢水、污水和廢液,其中含有隨水流失的工業生產用料、中間產物和產品以及生產過程中產生的污染物。廢水處理:為使污水達到排放或再次使用的水質要求,并對其進行凈化的過程。工業污水中含有大量的有機物、有害雜質、污泥等,如果進行合理分類,能再次用于工業生產。因此,需要提供一種新的技術方案來解決上述問題。
發明內容
為解決上述技術問題,本發明提供一種除污效果好的高效污水處理箱。
本發明采用的技術方案是:
高效污水處理箱,包括箱體,所述箱體一端開有污水進口,所述箱體內設有多塊隔板,每塊隔板將箱體依次分隔成酸化池、氧化池、沉淀池和凈化室,所述酸化池頂部開有氧氣進管,所述氧化池底部設有填料,所述氧化池頂部設有曝氣機,所述沉淀池內設有多根斜管,多根斜管從上到下依次疊加,所述沉淀池和凈化室之間增加烘干室,所述凈化室通過擋板分隔成消毒區和污泥區,所述消毒區通過管道與沉淀池上部連接,所述污泥區與烘干室連通。
所述填料采用爐渣或玻璃鋼。
所述烘干室具有烘干管道,所述烘干管道內設有多根加熱管,所述污泥區與烘干室通過烘干管道連通。
所述烘干管道的形狀為錐形。
本發明的有益效果:箱體依次分隔成酸化池、氧化池、沉淀池、烘干室和凈化室,酸化能將難生物降解的有機物轉變為易生物降解的有機物,隨后進入氧化池進行凈化處理,最后沉淀分類,污水中的污泥進行烘干用于其它工業上,水層進行下一步的消毒,水質更干凈。







