公布日:2023.10.13
申請日:2023.08.15
分類號:C02F1/78(2023.01)I;C02F1/72(2023.01)I;B08B9/087(2006.01)I
摘要
本申請涉及廢水處理技術領域,尤其涉及一種高濃度化工廢水臭氧氧化處理裝置及處理工藝,包括反應罐體,反應罐體上安裝有曝氣單元,用于向反應罐體內輸入臭氧;安裝桿,安裝桿與反應罐體同軸轉動設置;至少一個刮刀,刮刀上連接有至少兩根固定桿,至少兩根固定桿沿安裝桿的軸向分布;至少兩個轉動盤,轉動盤與安裝桿轉動連接,且轉動盤和固定桿之間連接有拉伸彈簧;至少兩個限位環,限位環與安裝桿連接,固定桿旋轉方向的相對兩側設置有擋片,擋片與限位環連接;固定單元,擋片轉動后能夠與固定桿抵接,固定單元用于與一塊擋片配合限制固定桿沿自身軸向運動;本申請具有實現反應罐體內壁刮除作業的同時延長刮刀和反應罐體的使用壽命的效果。

權利要求書
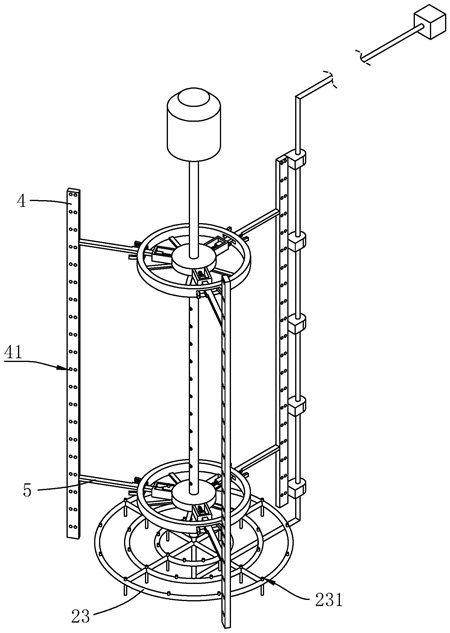
1.一種高濃度化工廢水臭氧氧化處理裝置,其特征在于:包括反應罐體(1),所述反應罐體(1)上安裝有曝氣單元(2),用于向所述反應罐體(1)內輸入臭氧;安裝桿(3),所述安裝桿(3)與所述反應罐體(1)同軸轉動設置;至少一個刮刀(4),所述刮刀(4)上連接有至少兩根固定桿(5),至少兩根所述固定桿(5)沿所述安裝桿(3)的軸向分布;至少兩個轉動盤(6),所述轉動盤(6)與所述安裝桿(3)轉動連接,且所述轉動盤(6)和所述固定桿(5)之間連接有拉伸彈簧(61);至少兩個限位環(7),所述限位環(7)與所述安裝桿(3)連接,所述固定桿(5)旋轉方向的相對兩側設置有擋片(8),所述擋片(8)與所述限位環(7)連接;固定單元(9),所述擋片(8)轉動后能夠與所述固定桿(5)抵接,所述固定單元(9)安裝于所述固定桿(5)上,用于與一塊所述擋片(8)配合限制所述固定桿(5)沿自身軸向的運動;所述限位環(7)上開設有用于供所述固定桿(5)穿過的弧形槽(71),所述弧形槽(71)與所述安裝桿(3)同軸設置,且所述固定桿(5)與所述限位環(7)滑動連接;所述固定單元(9)包括兩塊鋸齒條(91),一塊所述鋸齒條(91)安裝于所述固定桿(5)上,另一塊所述鋸齒條(91)安裝于一塊所述擋片(8)上,且兩塊所述鋸齒條(91)相對設置;所述轉動盤(6)上連接有導向架(62),所述固定桿(5)與所述導向架(62)滑動連接。
2.根據權利要求1所述的高濃度化工廢水臭氧氧化處理裝置,其特征在于:所述刮刀(4)上開設有多個過液通孔(41)。
3.根據權利要求1所述的高濃度化工廢水臭氧氧化處理裝置,其特征在于:所述曝氣單元(2)包括臭氧發生器(21)、輸氣管(22)以及曝氣盤(23);所述輸氣管(22)一端與所述臭氧發生器(21)的出氣口連接,另一端與所述曝氣盤(23)的進氣口連接;所述曝氣盤(23)位于所述反應罐體(1)內,且所述曝氣盤(23)與所述反應罐體(1)的底壁連接,所述曝氣盤(23)上開設有多個出氣孔(231),所述反應罐體(1)的頂壁上開設有排氣孔。
4.根據權利要求3所述的高濃度化工廢水臭氧氧化處理裝置,其特征在于:所述曝氣盤(23)上連通設置有送氣管(24),所述安裝桿(3)中空設置,且所述安裝桿(3)伸入所述反應罐體(1)中的區域開設有多個排水孔(31),所述送氣管(24)伸入所述安裝桿(3)內腔中。
5.一種高濃度化工廢水臭氧氧化處理工藝,其特征在于:采用如權利要求1-4任一項所述的高濃度化工廢水臭氧氧化處理裝置,包括:S1:反應物添加:將待處理的工業廢水經由入料口灌入反應罐體(1)內,并將臭氧氧化所需的催化劑一并加入反應罐體(1)內;S2:攪拌混合:驅動安裝桿(3)轉動,安裝桿(3)通過限位環(7)帶動擋片(8)轉動,直至擋片(8)與固定桿(5)抵接,此時固定單元(9)與擋片(8)配合實現固定桿(5)沿其自身軸向的位置限制,固定桿(5)帶動刮刀(4)轉動,實現對反應罐體(1)內混合物的攪拌;S3:通氣氧化:經由曝氣單元(2)向反應罐體(1)內通入臭氧,配合刮刀(4)的攪拌實現臭氧氧化處理;S4:附著物刮除:氧化處理完成后,排出已處理的工業廢水,然后驅動安裝桿(3)逆向轉動,安裝桿(3)通過限位環(7)帶動擋片(8)轉動,直至另一塊擋片(8)與固定桿(5)抵接,刮刀(4)在自身離心力作用下使得固定桿(5)克服拉伸彈簧(61)的彈力運動,直至刮刀(4)與反應罐體(1)的內周側貼合,直至將反應罐體(1)內壁上的附著物全部刮落。
發明內容
為了在實現罐體內壁刮除作業的同時延長刮刀和罐體的使用壽命,本申請提供一種高濃度化工廢水臭氧氧化處理裝置及處理工藝。
第一方面,本申請提供的一種高濃度化工廢水臭氧氧化處理裝置采用如下的技術方案:
一種高濃度化工廢水臭氧氧化處理裝置,包括
反應罐體,所述反應罐體上安裝有曝氣單元,用于向所述反應罐體內輸入臭氧;
安裝桿,所述安裝桿與所述反應罐體同軸轉動設置;
至少一個刮刀,所述刮刀上連接有至少兩根固定桿,至少兩根所述固定桿沿所述安裝桿的軸向分布;
至少兩個轉動盤,所述轉動盤與所述安裝桿轉動連接,且所述轉動盤和所述固定桿之間連接有拉伸彈簧;
至少兩個限位環,所述限位環與所述安裝桿連接,所述固定桿旋轉方向的相對兩側設置有擋片,所述擋片與所述限位環連接;
固定單元,所述擋片轉動后能夠與所述固定桿抵接,所述固定單元安裝于所述固定桿上,用于與一塊所述擋片配合限制所述固定桿沿自身軸向的運動。
通過采用上述技術方案,向反應罐體內灌入待處理的工業廢水,并添加相應的反應催化劑,然后驅動安裝桿轉動,安裝桿轉動帶動限位環轉動,直至一塊擋片與固定桿抵接,固定單元與擋片配合限制固定桿沿自身軸向的位移,擋片向固定桿施力使得固定桿帶動刮刀轉動實現對反應罐體內混合物的攪拌,然后通過曝氣單元向反應罐體內輸入臭氧,通過攪拌促使臭氧、工業廢水以及催化劑之間充分反應,直至反應充分,經由下料口排出已處理的工業廢水,然后,驅使安裝桿逆向轉動,安裝桿帶動限位環逆向轉動,限位環帶動另一塊擋片與固定桿抵接,固定桿帶動刮刀轉動,刮刀在自身離心力的作用下向固定桿施力,固定桿克服拉伸彈簧的彈力,直至刮刀與反應罐體的內周側抵接,將附著在反應罐體內周側上的沉積物刮落;設計的高濃度化工廢水臭氧氧化處理裝置,通過反應罐體便于為工業廢水處理提供一個反應容器,通過曝氣單元可以向反應罐體輸入臭氧,通過安裝桿便于安裝轉動盤和限位環,通過固定桿便于支撐刮刀,通過拉伸彈簧、擋片以及固定單元配合便于結合安裝桿正反轉實現刮刀作為攪拌結構和刮壁結構的兩種功能,進而減少刮刀與反應罐體內周側接觸的時間,在實現罐體內壁刮除作業的同時延長刮刀和反應罐體的使用壽命。
在一個具體的可實施方案中,所述限位環上開設有用于供所述固定桿穿過的弧形槽,所述弧形槽與所述安裝桿同軸設置,且所述固定桿與所述限位環滑動連接。
通過采用上述技術方案,設計的弧形槽,可以在配合限位環轉動的同時降低固定桿因為攪拌產生的不穩定運動而出現上下運動的可能性。
在一個具體的可實施方案中,所述固定單元包括兩塊鋸齒條,一塊所述鋸齒條安裝于所述固定桿上,另一塊所述鋸齒條安裝于一塊所述擋片上,且兩塊所述鋸齒條相對設置。
通過采用上述技術方案,設計的固定單元,通過兩塊鋸齒條,可以在擋片驅動固定桿轉動的情況下,通過兩塊鋸齒條貼緊后的互相咬合,可以實現固定桿沿自身軸向位移的限制。
在一個具體的可實施方案中,所述固定單元包括插接桿,所述插接桿與所述固定桿連接,一塊所述擋片上開設有用于供所述插接桿穿過的條形槽。
通過采用上述技術方案,設計的固定單元,可以通過插接桿插入條形槽內實現固定桿沿自身軸向位移的限制。
在一個具體的可實施方案中,所述轉動盤上連接有導向架,所述固定桿與所述導向架滑動連接。
通過采用上述技術方案,設計的導向架,可以配合弧形槽進一步限制固定桿的自由度,降低在刮壁操作中刮刀與反應罐體發生碰撞的可能性。。
在一個具體的可實施方案中,所述刮刀上開設有多個過液通孔。
通過采用上述技術方案,設計的過液通孔,可以在刮刀執行攪拌混合操作時,使得工業廢水在流經過液通孔時被打散、擾亂,降低刮刀轉動時受到的阻力,并增加工業廢水在攪拌時的流動無序性,提高工業廢水和臭氧的接觸效率。
在一個具體的可實施方案中,所述曝氣單元包括臭氧發生器、輸氣管以及曝氣盤;
所述輸氣管一端與所述臭氧發生器的出氣口連接,另一端與所述曝氣盤的進氣口連接;
所述曝氣盤位于所述反應罐體內,且所述曝氣盤與所述反應罐體的底壁連接,所述曝氣盤上開設有多個出氣孔,所述反應罐體的頂壁上開設有排氣孔。
通過采用上述技術方案,向反應罐體內灌入待處理的工業廢水,并添加相應的反應催化劑,然后驅動安裝桿轉動,安裝桿轉動帶動限位環轉動,直至一塊擋片與固定桿抵接,固定單元與擋片配合限制固定桿沿自身軸向的位移,擋片向固定桿施力使得固定桿帶動刮刀轉動實現對反應罐體內混合物的攪拌,臭氧發生器工作,將產生的臭氧經由輸氣管送入曝氣盤中,然后通過曝氣盤上開設的多個出氣孔通入反應罐體中的待處理工業廢水中,實現對工業廢水中有機物的氧化處理;設計的曝氣單元,通過臭氧發生器便于產生氧化處理所需的臭氧,通過輸氣管便于將臭氧輸送至曝氣盤中,通過曝氣盤便于增加臭氧和待處理工業廢水的接觸效率。
在一個具體的可實施方案中,所述曝氣盤上連通設置有送氣管,所述安裝桿中空設置,且所述安裝桿伸入所述反應罐體中的區域開設有多個排水孔,所述送氣管伸入所述安裝桿內腔中。
通過采用上述技術方案,安裝桿轉動時,安裝桿內的工業廢水在離心力的作用下從排水孔排出,此時送氣管向安裝桿內送入臭氧,使得送氣管能夠伸入工業廢水的中心區域豎直的向工業廢水中通入臭氧,提高臭氧和工業廢水的接觸效率;設計的送氣管,可以和中空設置且設置有排水孔的安裝桿配合實現臭氧和工業廢水接觸效率的進一步提升。
第二方面,本申請提供一種高濃度化工廢水臭氧氧化處理工藝,采用高濃度化工廢水臭氧氧化處理裝置,包括:
S1:反應物添加:將待處理的工業廢水經由入料口灌入反應罐體內,并將臭氧氧化所需的催化劑一并加入反應罐體內;
S2:攪拌混合:驅動安裝桿轉動,安裝桿通過限位環帶動擋片轉動,直至擋片與固定桿抵接,此時固定單元與擋片配合實現固定桿沿其自身軸向的位置限制,固定桿帶動刮刀轉動,實現對反應罐體內混合物的攪拌;
S3:通氣氧化:經由曝氣單元向反應罐體內通入臭氧,配合刮刀的攪拌實現臭氧氧化處理;
S4:附著物刮除:氧化處理完成后,排出已處理的工業廢水,然后驅動安裝桿逆向轉動,安裝桿通過限位環帶動擋片轉動,直至另一塊擋片與固定桿抵接,刮刀在自身離心力作用下使得固定桿克服拉伸彈簧的彈力運動,直至刮刀與反應罐體的內周側貼合,直至將反應罐體內壁上的附著物全部刮落。
通過采用上述技術方案,設計的高濃度工業廢水臭氧氧化處理工藝,可以通過安裝桿的正反轉實現刮刀的攪拌混合與刮壁除沉積物兩種操作模式,進而減少刮刀與反應罐體內周側接觸的時間,在實現罐體內壁刮除作業的同時延長刮刀和罐體的使用壽命。
綜上所述,本申請包括以下至少一種有益技術效果:
1.設計的高濃度化工廢水臭氧氧化處理裝置,通過反應罐體便于為工業廢水處理提供一個反應容器,通過曝氣單元可以向反應罐體輸入臭氧,通過安裝桿便于安裝轉動盤和限位環,通過固定桿便于支撐刮刀,通過拉伸彈簧、擋片以及固定單元配合便于結合安裝桿正反轉實現刮刀作為攪拌結構和刮壁結構的兩種功能,進而減少刮刀與反應罐體內周側接觸的時間,在實現反應罐體內壁刮除作業的同時延長刮刀和反應罐體的使用壽命。
2.設計的高濃度化工廢水臭氧氧化處理裝置,通過兩塊鋸齒條,可以在擋片驅動固定桿轉動的情況下,通過兩塊鋸齒條貼緊后的互相咬合,可以實現固定桿沿自身軸向位移的限制。
3.設計的高濃度化工廢水臭氧氧化處理裝置,通過臭氧發生器便于產生氧化處理所需的臭氧,通過輸氣管便于將臭氧輸送至曝氣盤中,通過曝氣盤便于增加臭氧和待處理工業廢水的接觸效率。
(發明人:詹廣峰;梁慧敏;黎忠;譚丁豪)






